High-Efficiency Advanced Audio Coding
HE-AAC (англ. High-Efficiency Advanced Audio Coding — высокоэффективное усовершенствованное аудиокодирование) — формат сжатия звука с потерями, определен как профиль MPEG-4 Audio (Part 3) в стандарте ISO/IEC 14496-3[1]. Формат является расширением профиля Low Complexity AAC (AAC LC), оптимизированным для приложений с низким потоком передачи данных цифрового потока. В профиле HE-AAC версия 1 (HE-AAC v1) используется технология восстановления высоких частот SBR (англ. Spectral band replication — копирование спектральной полосы) для повышения эффективности кодирования в частотной области. В профиле HE-AAC версия 2 (HE-AAC v2) технология SBR объединена с технологией Параметрического кодирования стереопанорамы (англ. Parametric Stereo) для повышения эффективности кодирования стереосигналов. Это стандартизованная и улучшенная версия аудиокодека AACplus.
| High-Efficiency Advanced Audio Coding | |
|---|---|
| |
| MIME-тип | audio/aacp, audio/3gpp и audio/3gpp2 |
| Разработчик | ISO |
| Тип формата | Формат сжатия звука |
| Содержится в | 3GP, MP4, .dvb |
| Расширен из | Advanced Audio Coding |
| Стандарт(ы) | ISO/IEC 14496-3[1] |


HE-AAC используется в стандартах цифрового радиовещания DAB+ и Digital Radio Mondiale.
История
- HE-AAC версия 1 был стандартизован как профиль MPEG-4 Audio в 2003 году группой MPEG и опубликован как часть MPEG-4 в документе ISO/IEC 14496-3:2001/Amd 1:2003[4]
- HE-AAC версия 2 был стандартизован в 2006 году как ISO/IEC 14496-3:2005/Amd 2:2006[2][5].
- Технология Параметрического кодирования стереопанорамы (PS), используемая в HE-AAC v2 была стандартизована в 2004 году группой MPEG и опубликована в документе ISO/IEC 14496-3:2001/Amd 2:2004[6].
- HE-AAC версия 2 был также стандартизован под именем Enhanced aacPlus консорциумом 3GPP для 3G мультимедиа сервисов UMTS в сентябре 2004 (3GPP TS 26.401). Аудиокодек Enhanced aacPlus основан на технологиях кодирования AAC LC, SBR и Parametric Stereo и определен в стандарте MPEG-4 Audio.
- Предшествующими технологии HE-AAC были разработки Coding Technologies, известные под торговой маркой CT-aacPlus. Кодек CT-aacPlus был получен путём объединения MPEG-2 AAC LC с разработанной Coding Technologies технологией восстановления высоких частот (SBR). CT-aacPlus используется в спутниковом радиовещании XM Radio. Впоследствии Coding Technologies предложила SBR группе MPEG как основу HE-AAC.
- Позже, но до стандартизации HE-AAC v2 группой MPEG, Coding Technologies предложила объединить HE-AAC v1 с технологией Параметрического кодирования стереопанорамы 3GPP под названием Enhanced AAC+. В результате, aacPlus v2 и eAAC+ сейчас наиболее известные товарные знаки технологии HE-AAC v2. AAC+ и aacPlus — товарные знаки технологии HE-AAC v1.
Особенности кодирования

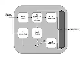
Технологии AAC, SBR и Parametric Stereo являются основными компонентами профиля MPEG-4 HE-AAC v2.
- Кодек AAC используется для кодирования диапазона низких и средних частот.
- В основе технологии восстановления высоких частот (SBR) лежит выявленная строгая взаимосвязь между характеристиками высокочастотного и низкочастотного диапазонов звукового сигнала. Таким образом, весьма адекватного восстановления высокочастотного диапазона оригинального звукового сигнала можно достигнуть транспозицией (сдвигом) из низкочастотной области в высокочастотную. Перед кодированием осуществляется анализ диапазона высоких частот (выше 7 кГц) в исходном цифровом аудиосигнале и извлекается информация о некоторых его параметрах: например, спектральной огибающей входного сигнала. Затем, после устранения лишних высокочастотных составляющих, на кодер передается небольшой поток данных об устранённых высоких частотах, необходимых для их восстановления, а кодируются только оставшиеся низкие и средние частоты[7].
- Параметрическое кодирование стереопанорамы, т.е метод повышающий эффективность кодирования стереосигналов при передаче звуковых данных с низким битрейтом. Входной стереосигнал микшируется в моносигнал, при этом выполняется анализ параметров, описывающих стереопанораму. Стерео параметры требуют незначительную часть (2-3 кбит/с) суммарного выходного потока, необходимого для передачи моносигнала приемлемого качества. Два параметра, используемые для описания стерео информации — панорамы и окружения. Параметр панорамы содержит информацию различия между правым и левым каналов в разных частотных полосах. Аналогично и параметр окружения описывает стереоокружение для группы частотных полос. Для кодирования обоих параметров применяется схожие принципы статистического кодирования в частотно-временной области, применяемые и для SBR-огибающих. Также применяется квантование[7].
Версии
Сравнение версий кодеков HE-AAC:
| Версия | Основной товарный знак | Особенности кодека | Стандарт |
|---|---|---|---|
| HE-AAC v1 | aacPlus v1, eAAC, AAC+, CT-aacPlus | AAC LC + SBR | ISO/IEC 14496-3:2001/Amd 1:2003 |
| HE-AAC v2 | aacPlus v2, eAAC+, AAC++, Enhanced AAC+ | AAC LC + SBR + PS | ISO/IEC 14496-3:2005/Amd 2:2006 |
Примечания
- ISO. ISO/IEC 14496-3:1999 - Information technology -- Coding of audio-visual objects -- Part 3: Audio (недоступная ссылка). ISO (1999). Дата обращения: 16 марта 2011. Архивировано 16 февраля 2012 года.
- ISO/IEC JTC1/SC29/WG11/N7016 (2005-01-11), Text of ISO/IEC 14496-3:2001/FPDAM 4, Audio Lossless Coding (ALS), new audio profiles and BSAC extensions, <http://www.itscj.ipsj.or.jp/sc29/open/29view/29n6475t.doc>. Проверено 16 марта 2011.
- Fraunhofer IIS, MPEG-4 Audio and Video Technology, <http://www.itu.int/dms_pub/itu-r/oth/0A/07/R0A0700001F0001PDFE.pdf>. Проверено 16 марта 2011.
- ISO. Bandwidth extension, ISO/IEC 14496-3:2001/Amd 1:2003 (недоступная ссылка). ISO (2003). Дата обращения: 16 марта 2011. Архивировано 16 февраля 2012 года.
- ISO. Audio Lossless Coding (ALS), new audio profiles and BSAC extensions, ISO/IEC 14496-3:2005/Amd 2:2006 (недоступная ссылка). ISO (2006). Дата обращения: 16 марта 2011. Архивировано 16 февраля 2012 года.
- ISO. Parametric coding for high-quality audio, ISO/IEC 14496-3:2001/Amd 2:2004 (недоступная ссылка). ISO (2004). Дата обращения: 16 марта 2011. Архивировано 16 февраля 2012 года.
- Spectral Band Replication (SBR) Technology and its Application in Broadcastin Архивировано 9 марта 2011 года.
