Реактивный ранец
Реактивный ранец (или ракетный ранец; англ. jet pack, rocket pack, rocket belt и др.) — персональный летательный аппарат, носимый на спине, позволяющий человеку подниматься в воздух посредством реактивной тяги. Тяга создаётся за счёт выбрасываемой двигателем вертикально вниз реактивной струи.

Различают два основных типа реактивных ранцев:
- ранец с ракетным двигателем (ракетный ранец, rocket pack или rocket belt).
- ранец с турбореактивным двигателем (собственно реактивный ранец, jet pack или jet belt);
Ракетные ранцы весьма просты по конструкции, поэтому именно они получили распространение. Классический ракетный ранец конструкции Венделла Мура может быть изготовлен в условиях частной мастерской, хотя для этого требуются хорошая инженерная подготовка и высокий уровень слесарного мастерства. Главный недостаток ракетного ранца — малая продолжительность полёта (до 30 секунд) и большой расход дефицитного топлива — пероксида водорода. Эти обстоятельства ограничивают сферу применения ракетных ранцев весьма эффектными публичными демонстрационными полётами. Полёты на ракетных ранцах всегда захватывают внимание зрителей и имеют большой успех. Например, такой полёт был устроен в ходе торжественного открытия летних Олимпийских игр 1984 года в Лос-Анджелесе, США.
Ранцы с турбореактивным двигателем работают на традиционном керосине, имеют более высокий КПД, бо́льшую высоту и продолжительность полёта, но они сложны по конструкции и очень дороги. Изготовить такой ранец в кустарных условиях невозможно. В 1960-х годах был создан лишь один образец такого ранца и задокументированных фактов, подтверждающих функциональность конструкции, не существует.
История ракетного ранца
Ещё во время Второй мировой войны Германия широко применяла двигатели, работающие на перекиси водорода: в торпедах, подводных лодках, самолётах и ракетах. Например, истребитель-перехватчик Me-163 имел жидкостный ракетный двигатель, в который подавалась 80-процентная перекись водорода и жидкий катализатор (раствор перманганата калия либо смесь метанола, гидразин-гидрата и воды). В камере сгорания, в процессе горения, перекись водорода разлагалась с образованием большого объёма перегретой парогазовой смеси, создавая мощную реактивную тягу. Серийный самолёт имел скорость до 960 км/ч, мог подниматься на высоту 12 000 метров за 3 минуты, с продолжительностью полёта до 8 минут. Перекись водорода также применялась в ракетах Фау-2, но в качестве вспомогательного топлива — на ней работали турбонасосы, подававшие горючее и окислитель в камеру сгорания главного ракетного двигателя.
После окончания войны немецкие ракетные технологии вместе со знаменитым конструктором Вернером фон Брауном попали в США. Один из работавших с Брауном американских инженеров, Томас Мур (Thomas Moore), придумал индивидуальный летательный аппарат, который он назвал «реактивным жилетом» (англ. «Jet Vest»). «Реактивный жилет» работал на перекиси водорода. В 1952 году Мур сумел получить грант в 25 тысяч долларов от армии США на создание и опробование своего устройства. «Реактивный жилет» был изготовлен и на стендовых испытаниях сумел на несколько секунд приподнять пилота над землёй.
Однако «жилет» Мура имел крайне неудобную систему управления. На груди пилота размещалась коробочка, от которой шли тросики к регулятору тяги и двум управляемым соплам ранца. Справа и слева коробочка имела маховички: правый маховичок управлял тягой, а слева два соосных рулевых маховичка управляли левым и правым соплами. Каждое сопло могло отклоняться вперёд или назад. Если требовалось повернуть в сторону, пилот вращал один из маховичков, отклоняя одно сопло. Для того, чтобы лететь вперёд или назад, пилот вращал оба маховичка одновременно. Так это выглядело в теории. «Реактивный жилет» Томаса Мура так и не смог совершить самостоятельный полет, армия прекратила финансирование, и работы были свёрнуты.

В 1958 году Гарри Бурдетт и Александер Бор, инженеры компании «Тиокол» («Thiokol Corp.»), создали «прыжковый пояс» («Jump Belt»), которому они дали название «Кузнечик» (англ. Project Grasshopper). Тяга создавалась сжатым азотом высокого давления. На «поясе» были закреплены два небольших сопла, направленных вертикально вниз. Носитель «пояса» мог открывать регулирующий клапан, выпуская из баллона сжатый азот через сопла, при этом его подбрасывало вверх на высоту до 7 метров. Наклонившись вперёд, можно было при помощи создаваемой «прыжковым поясом» тяги бежать со скоростью 45—50 км/ч. Затем Бурдетт и Бор опробовали и перекись водорода. «Прыжковый пояс» был продемонстрирован военным в действии, но финансирования не было, и дальше пробных экспериментов дело снова не пошло.
Тем не менее, американские военные не утратили интереса к переносному летательному аппарату. Управление транспортных исследований армии США (U.S. Army Transportation Research Command, TRECOM) предполагало, что персональные реактивные аппараты могут найти самое разнообразное применение: для разведки, форсирования рек, высадки морских десантов, подъёма на крутые горные склоны, преодоления минных полей, тактического маневрирования и так далее. Концепция получила название «Малое ракетное подъёмное устройство» (Small Rocket Lift Device, SRLD).
В рамках этой концепции Управление в 1959 году заключило с компанией «Аэроджет» («Aerojet-General») контракт на исследовательские работы по возможности создания SRLD, пригодного для армейских целей. «Аэроджет» пришла к выводу, что наиболее подходящим является вариант с двигателем на перекиси водорода. Однако вскоре военным стало известно, что инженер Венделл Мур из компании «Белл Аэросистемс» («Bell Aerosystems») уже несколько лет проводит эксперименты по созданию персонального реактивного устройства. Ознакомившись с его работами, военные в августе 1960 года решили передать заказ на разработку SLRD компании «Белл». Венделл Мур был назначен ведущим инженером проекта.
- Экспериментальные модели индивидуальных средств авиационной мобильности на реактивной тяге
Bell Aerosystems Jet Vest (1961)
Bell Aerosystems Jet Belt (1968)
Williams WASP I (1974)
Williams WASP II (1982)
Ракетный ранец Венделла Мура (Bell Rocket Belt)

Венделл Мур (Wendell F. Moore) работал в «Белл Аэросистемс» инженером-ракетчиком. Он начал работать над созданием реактивного ранца ещё в 1953 году (возможно, узнав о работах своего однофамильца Томаса Мура). Эксперименты начались в середине 1950-х годов («Белл» проводила эти исследования за свой счёт). Создание двигателя не представляло трудностей — применение перекиси водорода было хорошо отработано ракетчиками. Проблема состояла в достижении стабильного и устойчивого полёта, а для этого требовалось разработать надёжную и удобную систему управления ранцем в воздухе.
Была изготовлена экспериментальная «сборка» (англ. «the rig»), работавшая на сжатом азоте. Она имела раму из стальных труб, в которой был «подвешен» испытатель. На раме шарнирно устанавливались два сопла. К соплам гибким шлангом был подведён азот давлением 35 атмосфер (он подавался из цистерны). Инженер-оператор на земле регулировал вентилем подачу азота, а испытатель подплечными рычагами наклонял сопла вперёд-назад, пытаясь добиться стабильного зависания на небольшой высоте. Снизу был привязан страховочный трос, дабы «сборка» с испытателем не улетела слишком высоко.
Первые же испытания показали, что человек является весьма неустойчивым летающим объектом. Опытным путём было определено наилучшее расположение реактивных сопел относительно центра тяжести, их направление, способы управления ими в полёте. В испытательных «полётах» участвовал сам Венделл Мур и другие члены его группы. Первые полёты были больше похожи на короткие и резкие прыжки, но дальнейшие эксперименты оказались весьма успешными — в 1958 году на «сборке» удалось добиться стабильного полёта на высоте до 5 метров в течение трёх минут. Именно эти успехи впечатлили военных, предопределив выбор в пользу компании «Белл». Контракт с Управлением транспортных исследований предусматривал изготовление, полётные испытания и демонстрацию готового SRLD.
Для ранца изготовили ракетный двигатель с тягой 280 фунтов (127 кгс). Общий вес ранца вместе с топливом составлял 57 кг. Ранец имел твёрдый стеклопластиковый корсет, изготовленный по форме тела. К корсету жёстко крепились баллоны с топливом и азотом. Двигательная установка крепилась шарнирно и управлялась подплечными рычагами. Тяга двигателя изменялась регулятором, соединённым с рукояткой на правом рычаге. Рукоятка на левом рычаге управляла отклоняемыми соплами (jetavators). Пилот был пристёгнут к корсету ремнями.
Испытания созданного ранца начались в конце 1960 года. Полёты осуществлялись в большом ангаре, «на привязи» (то есть со страховочным тросом). Первые двадцать «привязных» взлётов совершил лично Венделл Мур, проверяя функционирование систем управления, обнаруживая недостатки и совершенствуя конструкцию ранца. 17 февраля 1961 года из-за страховочного троса произошла авария. Во время полёта ранец резко пошёл в сторону, выбрал длину троса, и тот лопнул. Пилот вместе с ранцем упал на левый бок с высоты примерно два с половиной метра. В результате у Мура была сломана коленная чашечка, и летать ему больше не пришлось. После этого функции лётчика-испытателя принял на себя коллега Мура, инженер Гарольд Грэм (Harold Graham). 1 марта полёты были возобновлены. Грэм выполнил ещё 36 «привязных» испытательных взлётов, осваивая управление ранцем в воздухе. Наконец, ранец и пилот были готовы к настоящему полёту.
20 апреля 1961 года на пустыре около аэропорта городка Ниагара Фоллс был совершён первый в истории свободный полёт на ракетном ранце (на открытом пространстве и без привязи). Пилот Гарольд Грэм поднялся на высоту примерно 4 футов (1,2 метра) и плавно полетел вперёд со скоростью примерно 10 км/ч. Он пролетел по прямой 108 футов (меньше 35 метров) и приземлился. Весь полет продолжался 13 секунд. Реактивный ранец перестал быть фантастикой.
В последующих полётах Грэм отрабатывал технику управления ранцем и осваивал более сложные приёмы пилотирования. Он научился летать по кругу и разворачиваться на месте, перелетал через ручьи, автомобили, десятиметровые холмы, летал между деревьями. Всего с апреля по май было совершено 28 полётов. Венделл Мур добивался абсолютно надёжной работы от ранца и уверенного пилотирования от Грэма, чтобы затем не оплошать перед публикой. В ходе испытаний были достигнуты следующие максимальные показатели:
- продолжительность полёта — 21 секунда;
- дальность полёта — 120 метров;
- высота — 10 метров;
- скорость — 55 км/ч.
8 июня 1961 года ранец был впервые продемонстрирован публично — перед несколькими сотнями офицеров на военной базе Форт-Юстис (Fort Eustis). Затем последовали другие публичные показы, в том числе знаменитый полёт во дворе Пентагона перед тремя тысячами сотрудников военного ведомства, которые с восторгом наблюдали, как Гарольд Грэм перелетает через легковую машину.
11 октября 1961 года (по другим данным — 12 октября) ранец был продемонстрирован лично президенту Кеннеди в ходе показательных манёвров на военной базе Форт-Брагг (Fort Bragg). Грэм взлетел с амфибии LST, перелетел через полосу воды, приземлился в нескольких метрах перед президентом и лихо отдал честь Главнокомандующему армии США. По свидетельству очевидцев, президент наблюдал за полётом, открыв рот от изумления.
Гарольд Грэм с обслуживающей командой объездили многие города США, побывали в Канаде, Мексике, Аргентине, Германии, Франции и других странах, каждый раз с огромным успехом демонстрируя ракетный ранец в действии перед широкой публикой.
Армия же была разочарована. Максимальная продолжительность полёта ракетного ранца составляла 21 секунду, дальность 120 метров. При этом ранец сопровождала целая команда обслуживающего персонала. За один двадцатисекундный полет расходовалось до 5 галлонов (19 литров) дефицитной перекиси водорода. По мнению военных, «Bell Rocket Belt» был скорее эффектной игрушкой, нежели эффективным транспортным средством. Расходы армии по контракту с «Белл Аэросистемс» составили 150 000 долларов, ещё 50 000 долларов потратила сама «Белл». От дальнейшего финансирования программы SRLD военные отказались, контракт был закончен.
Устройство и принцип действия ракетного ранца

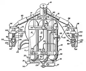
Все существующие ракетные ранцы основаны на конструкции ранца «Bell Rocket Belt», разработанной в 1960—1969 годах Венделлом Муром. Ранец Мура конструктивно состоит из двух основных частей:
- Жёсткий стеклопластиковый корсет (8), закреплённый на теле пилота системой ремней (10). Корсет имеет сзади металлическую трубчатую раму, на которой установлены три баллона: два с жидкой перекисью водорода (6) и один со сжатым азотом (7). Когда пилот находится на земле, корсет распределяет вес ранца на спину и поясницу пилота.
- Ракетный двигатель, подвижно установленный на шаровом шарнире (9) в верхней части корсета. Сам ракетный двигатель состоит из газогенератора (1) и двух жёстко соединённых с ним труб (2), которые заканчиваются реактивными соплами с управляемыми наконечниками (3). Двигатель жёстко соединён с двумя рычагами, которые проходят под руками пилота. Этими рычагами пилот наклоняет двигатель вперёд или назад, а также в стороны. На правом рычаге установлена поворотная рукоятка управления тягой (5), связанная тросиком с клапаном-регулятором (4) подачи топлива в двигатель. На левом рычаге установлена рулевая рукоятка, которая гибкими тягами связана с управляемыми наконечниками реактивных сопел.
Перекись водорода
Действие ракетного двигателя основано на реакции разложения перекиси водорода. Используется перекись водорода 90-процентной концентрации (это бесцветная жидкость плотностью 1,35 г/см³). Перекись водорода в чистом виде относительно устойчива, но при контакте с катализатором (например, с серебром) стремительно разлагается на воду и кислород, менее чем за 1/10 миллисекунды увеличиваясь в объёме в 5000 раз.
- 2H2O2 → 2H2O + O2
Реакция протекает экзотермически, то есть с выделением большого количества теплоты (~2500 кДж/кг). Образующаяся при этом парогазовая смесь имеет температуру 740 °C.
Принцип действия ракетного двигателя

На рисунке обозначены баллоны с перекисью водорода и баллон со сжатым азотом (давление около 40 атм). Пилот поворачивает рукоятку управления тягой двигателя, и клапан-регулятор (3) открывается. Сжатый азот (1) вытесняет жидкую перекись водорода (2), которая по трубкам поступает в газогенератор (4). Там она вступает в контакт с катализатором (тонкие серебряные пластины, покрытые слоем нитрата самария) и разлагается. Образовавшаяся парогазовая смесь высокого давления и температуры поступает в две трубы, выходящие из газогенератора (трубы покрыты слоем теплоизолятора, чтобы сократить потери тепла). Затем горячие газы поступают в реактивные сопла (сопло Лаваля), где сначала ускоряются, а затем расширяются, приобретая сверхзвуковую скорость и создавая реактивную тягу. Вся конструкция проста и надёжна, ракетный двигатель имеет минимум подвижных частей.
Пилотирование ранца
Ранец имеет два рычага, жёстко связанных с двигательной установкой. Нажимая на эти рычаги, пилот заставляет сопла отклониться назад, и ранец летит вперёд. Соответственно, поднятие рычагов заставляет ранец двигаться назад. Можно наклонять двигательную установку и в стороны (благодаря шаровому шарниру), чтобы лететь боком.
Управление с помощью рычагов — довольно грубое, для более тонкого управления пилот использует рукоятку на левом рычаге. Эта рукоятка управляет наконечниками реактивных сопел. Наконечники (jetavators) подпружинены и могут с помощью гибких тяг отклоняться вперёд или назад. Наклоняя рукоятку вперёд или назад, пилот отклоняет синхронно наконечники обоих сопел, чтобы лететь прямолинейно. Если пилоту нужно выполнить поворот, он поворачивает рукоятку, при этом сопла отклоняются в противоположных направлениях, одно вперёд, другое назад, разворачивая пилота и ранец вокруг оси. Сочетанием различных движений рукоятки и рычагов пилот может лететь в любую сторону, даже боком, выполнять повороты, вращение на месте и т. п.
Управлять полётом ранца можно и по-другому — изменяя положение центра тяжести тела. Например, если согнуть ноги и поднять их к животу, центр тяжести сместится вперёд, ранец наклонится и тоже полетит вперёд. Такое управление ранцем, при помощи собственного тела, считается неверным и характерно для новичков. Опытнейший пилот Билл Сьютор утверждает, что во время полёта необходимо держать ноги вместе и прямо, а управлять полётом следует с помощью рычагов и рукояток ранца. Только так можно научиться грамотно пилотировать ранец и уверенно выполнять сложные маневры в воздухе.

На правом рычаге установлена поворотная «рукоятка газа». В неподвижном состоянии она полностью закрывает регулятор подачи топлива в двигатель. Поворачивая рукоятку против часовой стрелки, пилот увеличивает тягу двигателя. Во время заправки ранца сжатым азотом рукоятка фиксируется в запертом положении предохранительной чекой.
На этой же рукоятке расположен таймер. Поскольку ранец имеет запас топлива лишь на 21 секунду полёта, пилоту необходимо знать, что у него заканчивается топливо, чтобы не оказаться с пустыми баками на высоте в 10 метров. Перед полётом таймер взводится на 21 секунду. Когда пилот поворачивает рукоятку для взлёта, таймер начинает отсчёт и подаёт ежесекундные сигналы на зуммер в шлеме пилота. Через пятнадцать секунд сигнал становится непрерывным, сообщая пилоту, что пора идти на посадку.
Особенности полётов на ранце
Пилот ранца облачён в защитный комбинезон из термостойкого материала, поскольку и реактивная струя, и трубы двигателя имеют очень высокую температуру. На голову в обязательном порядке надевается защитный шлем (он также имеет внутри сигнальный зуммер).
При работе ракетного двигателя сверхзвуковая реактивная струя издаёт оглушительно громкий звук (силой до 130 дБ).
Как правило, выходящая реактивная струя прозрачна и в воздухе не видна. Но в холодную погоду водяной пар, составляющий большую часть парогазовой смеси, конденсируется вскоре после выхода из сопл, и тогда пилота окутывает целое облако водяного тумана. Именно по этой причине самые первые «привязные» полёты ранца «Bell Rocket Belt» выполнялись в ангаре — дело было зимой. Также реактивная струя бывает видна, если топливо в газогенераторе разлагается не полностью, что случается, например, при плохой работе катализатора или при загрязнении перекиси водорода примесями.
Современные версии ракетного ранца
| Технические характеристики ракетного ранца | ||
|---|---|---|
| Bell Rocket Belt | RB 2000 Rocket Belt | |
| Продолжительность полёта | 21 с | 30 с |
| Тяга двигателя | 136 кгс (расчетная 127) | 145 кгс |
| Максимальная дальность полета | около 250 метров | |
| Максимальная высота полета | 18 м | 30 м |
| Максимальная скорость | 55 км/ч | 96 км/ч |
| Снаряжённый вес | 57 кг | 60 кг |
| Запас топлива | 19 л | 23 л |
В 1995 году конструкция ранца была усовершенствована. Трое инженеров из Техаса, Брэд Баркер, Джо Райт и Ларри Стэнли, пригласив профессионального изобретателя Дуга Малевики (Doug Malewicki), построили новую версию ракетного ранца, который они назвали «RB 2000 Rocket Belt». Ранец «RB 2000» в основном повторяет конструкцию Венделла Мура, но сделан из лёгких сплавов (титан, алюминий) и композитных материалов, имеет увеличенный запас топлива и повышенную мощность. В результате максимальная продолжительность полёта увеличена до 30 секунд.
Турбореактивный ранец (Bell Jet Flying Belt)
В 1965 году «Белл Аэросистемс» заключила новый контракт с военным агентством ARPA — на разработку ранца, который по полному праву назывался бы реактивным, — ранца с настоящим турбореактивным двигателем. Проект получил название «Jet Flying Belt», или просто «Jet Belt». Над проектом нового, турбореактивного ранца работали Венделл Мур и Джон Налберт (John K. Hulbert), специалист по газовым турбинам. Специально для нового ранца компания «Williams Research Corp.» по заказу «Белл» спроектировала и изготовила турбореактивный двигатель WR-19, с силой тяги 195 кгс и весом 31 кг. К 1969 году новый ранец был создан.
7 апреля 1969 года на аэродроме Ниагара Фоллз состоялся первый свободный полет турбореактивного ранца «Jet Belt». Пилот Роберт Куртер (Robert Courter) пролетел около 100 метров по кругу на высоте 7 метров, достигнув скорости 45 км/ч. Следующие полёты были более продолжительными, до 5 минут. Теоретически новый ранец мог находиться в воздухе до 25 минут и развивать скорость до 135 км/ч. (Не подтверждено)
Несмотря на успешные испытания, армия снова не проявила заинтересованности. Ранец был сложным в обращении и слишком тяжёлым. Приземление пилота с таким грузом на плечах было небезопасным. Кроме того, при повреждении двигателя лопатки турбин могли разлетаться с высокими скоростями, угрожая жизни пилота.
Ранец «Bell Jet Flying Belt» так и остался экспериментальным образцом. 29 мая 1969 года Венделл Мур умер от болезни, и работы по турбореактивному ранцу были свёрнуты. Единственный экземпляр ранца «Белл» продала компании «Williams» вместе с патентами и технической документацией. Этот ранец в настоящее время находится в музее «Williams Research Corp.»
Особенности устройства турбореактивного ранца
Ранец «Jet Belt» имеет двухконтурный турбореактивный двигатель WR-19. Масса двигателя 31 кг, тяга 195 кг, диаметр 30 см. Двигатель установлен вертикально, воздухозаборником вниз (1). Входящий воздух сжимается компрессором и разделяется на два потока. Один поток идёт в камеру сгорания. Второй поток проходит между двойными стенками двигателя, затем смешивается с потоком выходящих горячих газов, охлаждая их и защищая пилота от высокой температуры. В верхней части двигателя смешанный поток разделяется и поступает в две трубы, ведущие к реактивным соплам (2). Конструкция сопел позволяет отклонять реактивную струю в любую сторону. Топливо (керосин) находится в баках (3) по бокам двигателя.
Управление турбореактивным ранцем похоже на управление ракетного ранца, но пилот уже не может наклонять всю двигательную установку. Маневрирование выполняется только отклонением управляемых сопел. Наклоняя рычаги, пилот отклоняет реактивную струю обоих сопел вперёд, назад или в стороны. Поворотом левой рукоятки пилот поворачивает ранец. Правая рукоятка, как обычно, управляет тягой двигателя.
Запуск реактивного двигателя осуществляется с помощью порохового пиропатрона. На испытаниях для запуска использовали передвижной стартер на специальной тележке. Имеются приборы для контроля работы двигателя и рация для связи и передачи телеметрической информации наземным инженерам.
Сверху на ранце установлен парашют (4) (используется стандартный десантный запасной парашют). Он эффективен только при открытии на высоте более 30 метров.
Реактивный ранец в наше время


В последние годы ракетный ранец становится популярен у энтузиастов, которые строят его своими силами. Конструкция ранца довольно проста, но секрет пригодного для полётов ранца заключается в двух ключевых узлах: газогенераторе и клапане-регуляторе тяги. Именно их когда-то доводил до ума Венделл Мур в ходе долгих испытаний.
Распространение ранцев сдерживается и дефицитом концентрированной перекиси водорода, которая уже не производится крупными химическими компаниями. Ракетчики-любители строят собственные установки по её производству методом электролиза.
За сорок с лишним лет со дня первого полёта Гарольда Грэма лишь одиннадцать человек (включая его самого) летали на ранце в свободном полёте (без страховочной привязи). Самым известным из них, как уже упоминалось, является Билл Сьютор, который когда-то жил по соседству с Венделлом Муром и попросил возможности полетать на ранце, который Мур привёз домой в багажнике. За полвека со времени изобретения, к 2008 году, время полёта удалось увеличить в 4 раза[1].
Jetlev — реактивный ранец, работающий на воде[2]. Он позиционируется не как транспортное средство, а как снаряд для активного отдыха. В нём нет раскалённых реактивных струй, и подняться на нём можно не более чем на 15 метров и только вблизи поверхности воды.
Компания Jet PI из Денвера построила ранец на основе старой модели, разработанной компанией Bell Systems в 1960-х гг. Однако новый вариант стал более легким и быстрым, позволяющим человеку летать со скоростью 124 км/ч на высоте до 76 м. Кроме того, он не имеет рамы и крыльев и не использует воду, как в одном из популярных джет-паков. Чтобы обучиться полету на реактивном ранце потребуется около 100 часов, однако на рынке пока его увидеть нельзя. Максимальное расстояние, которое способен пролететь человек на таком устройства, составляет 760 м. Максимальный вес пилота — 82 кг. Джет-пак использует в качестве топлива пероксид водорода; устройство вмещает до 24 л топлива[3].
Разрабатываются также крылатые ранцы с реактивными двигателями (реактивный ранец-крыло). Они не могут стартовать с земли, а для приземления используется парашют, однако они позволяют находиться в полёте около 10 минут, выполняя различные фигуры пилотажа и приземляться на расстоянии десятков километров от места старта. Один из энтузиастов, строящих подобные летательные аппараты — Ив Росси, чей летающий ранец Jetman может разгоняться до 300 км/ч[4] и подниматься на высоту до 792 м (2600 футов)[5]. Вес ранца последней (на 2012 год) модели, полностью заправленного горючим — 55 килограммов, размах крыла — два метра. В качестве топлива используется авиационный керосин[6]. Одной из особенностей летательного аппарата, сконструированного Ивом Росси, является полное отсутствие механизации крыла. Управление осуществляется за счёт смещения центра масс, однако в отличие от дельтаплана, где пилот может перемещаться под плоскостью крыла, в летательном аппарате Ива Росси крыло жёстко закреплено на спине, и пилот управляет полётом, лишь двигая руками, ногами и головой. При этом манёвренность достаточна для выполнения фигур пилотажа различной сложности[7].
У крылатого ранца Ива Росси есть конкурент — «Грифон». Это персональный летательный аппарат, представляющий собой крыло с реактивным двигателем немецкой компании SPELCO GbR. Устройство сделано на базе небольшого беспилотного самолета-разведчика, который SPELCO поставляет ВВС Германии. Крыло, сделанное из легкого карбонового волокна, имеет в ширину примерно два метра. «Грифон» развивает скорость свыше 200 км/ч и может нести до 50 кг полезной нагрузки (не считая веса самого пилота). Управляемые рули позволяют маневрировать в воздухе[8].
В 2017 году, Ричард Браунинг - британский изобретатель, начал разработку своего «летающего костюма». Четыре реактивных двигателя располагаются на руках, и один двигатель установлен на спине, что создаёт устойчивый полёт. В качестве двигателей используются миниатюрные реактивные турбины, работающие на авиационном керосине. Браунинг стал основателем и главным летчиком-испытателем Gravity Industries, компании, которая разрабатывает и создаёт этот летающий костюм[9][10][11].
- Происшествия
В декабре 2019 г. впервые в истории полёт человека с реактивным ранцем обернулся трагическим исходом: устройство взорвалось во время работы, из-за чего пилот, 49-летний Келман Джеймс Ричес, упал с семиметровой высоты и погиб.[12]
В массовой культуре
В 60-х годах ракетный ранец «Bell Rocket Belt» находился на пике популярности. Компания «Белл» устраивала демонстрационные полёты в США и других странах, каждый раз вызывая восторг публики.

- В 1965 году на экраны вышел новый фильм из серии про Джеймса Бонда, «Шаровая молния». Бонд (в исполнении Шона Коннери) проникает во французский замок, где укрывается агент таинственной организации «SPECTRE». Бонд ликвидирует противника, затем удирает от охраны на крышу замка и улетает на заранее спрятанном ракетном ранце. В съёмках фильма было задействовано два ранца. Один, бутафорский, можно увидеть на Шоне Коннери в крупноплановых сценах. Второй был самым настоящим ранцем «Bell Rocket Belt» и летал вживую. Им управляли пилоты компании «Белл» — Билл Сьютор и Гордон Йегер (Gordon Yaeger). Сцены с Шоном Коннери и ранцем пришлось снимать дважды, потому что в первый раз его отсняли с непокрытой головой, а дублировавший его Билл Сьютор наотрез отказался взлетать без защитного шлема. При озвучивании фильма настоящий пронзительный рёв двигателя ранца заменили шипением огнетушителя — «для пущего правдоподобия».
- В 1991 году на экраны вышел фильм «Ракетчик».
- Реактивный ранец был показан в фильме «Робокоп 3», где был использован главным героем.
- В кинокомедии «Подарок на Рождество» главным героем используется ракетный ранец.
- Ещё одно знаменитое появление ранца произошло на открытии Летних Олимпийских игр в Лос-Анджелесе в 1984 году. Пилотировал ранец всё тот же Билл Сьютор, легендарная личность (всего на его счету свыше 1200 полётов — больше, чем у любого другого пилота по сей день). Билл взлетел из-за трибун, пролетел над рядами зрителей, которые от неожиданности прикрывали головы руками, и приземлился напротив президентской трибуны, где сидел Рональд Рейган. Полет наблюдали 100 000 зрителей на трибунах и около 2,5 миллиардов телезрителей по всему свету.
- В 2001 году пилот Эрик Скотт заявил, что ему удалось подняться на ранце на высоту 46 метров. Однако подтверждения этому рекорду не последовало.
- Реактивный ранец присутствовал в игре Duke Nukem 3D. Он был малореалистичен, передвижение на ранце больше напоминало не полёт, а ходьбу в произвольном направлении. Судя по спрайтам, при полёте ноги Дюка Нукема попадают аккурат под реактивную струю.
- Также реактивный ранец появился в 2004 году в игре GTA: San Andreas. Там он был представлен в виде транспортного средства и назывался «Black Project»
- В популярной настольной игре Warhammer 40k, а соответствующей и фентезийной вселенной присутствует масса войск обозначаемых как пехотные подразделения с прыжковыми ранцами. Значительная их часть взмывает ввысь используя реактивные ранцы. В игре прослеживается неспособность этих ЛА к полноценному длительному полету — взводы с прыжковыми ранцами отличаются от обычных пеших только тем что могут передвигаться на большее расстояние и «перепрыгивать» преграды.
- В игре Wolfenstein, вышедшей в 2009 году, некоторые нацистские солдаты, одетые в специальный костюм, летают на реактивных ранцах и стреляют из многоствольных ракетомётов. Они умеют делать обратное сальто и резкие движения.
- Знаменитые охотники за вознаграждением Джанго и Боба Фетты из вселенной Звёздных войн пользовались ракетными ранцами. Примечательно, что причиной гибели второго послужила как раз неисправность ранца.
- Реактивный ранец присутствует в криминальной комедии «Пипец» 2010 года. Главные герои, Пипец и Убивашка, с его помощью покидают крышу небоскрёба штаб-квартиры наркоторговцев.
- Ранец был задействован в концертном турне Dangerous Майкла Джексона. В нём он, или каскадер, в конце концерта улетал со сцены[13].
- Ракетный ранец широко используется в мультсериале Финес и Ферб секретным агентом Перри-Утконосом и его антагонистом, злоучёным Ханцем Фуфелшмертцем, как транспортное средство и как средство спасения.
- Также ракетный ранец присутствует в фильме «Земля будущего», где мальчик по имени Фрэнк Уокер создал самодельный ракетный ранец, который он приносит в павильон изобретений.
- Реактивный ранец присутствовал в компьютерной игре Serious Sam 3: BFE и его дополнении «Жемчужина Нила».
- Реактивный ранец есть также в игре Battlefield 1942: Secret Weapons of World War II.
- Реактивный ранец появился в игре GTA Online, после обновления «Судный день».
- В компьютерной игре Fallout 4 реактивный ранец присутствует в качестве модификаций для силовой брони серий T-45, T-51, T-60 и X-01. В качестве топлива используется энергия ядерных батарей, время полёта ограничено имеющимися у персонажа очками действия (ОД). + В компьютерной игре "Elex".
- В компьютерной стратегии Starcraft II существует юнит головорез(Reaper) летающий на реактивном ранце.
- В мультсериале Totally Spies главные героини очень часто передвигаются с помощью реактивных ранцев.
См. также
- Установка для перемещения и маневрирования космонавта
- Ранец-вертолет
- Martin Jetpack
- ИКАР — портативное реактивное крыло вертикального взлета[14]
- Андреев, Александр Фёдорович
Примечания
- Американцы увеличили время полета с реактивным ранцем на 300 процентов // Lenta.ru, янв 2008
- Водный летающий ранец поступил в продажу // Мембрана
- Новый компактный реактивный ранец позволяет летать со скоростью 124 км/ч на высоте до 76 метров // МК
- Джетмен пролетел над Фудзиямой со скоростью 300км/ч (Jet Pack)
- Rocket man flies on jet-powered wings
- Швейцарский летчик представил видео полета на реактивном ранце над Дубаем, 12 Мая 2015
- «Джетмен» В Небе Над Висконсином (6 Фото + HD-Видео) Архивная копия от 20 марта 2015 на Wayback Machine, 1 августа 2013
- «Грифон» сделает десантников суперменами // Утро.ру, 2008
- Manthorpe, Rowland. The real-life Iron Man: watch inventor Richard Browning 'fly' in his jet-powered suit (англ.), WIRED UK.
- Gibbs, Samuel. Britain's Iron Man: inventor takes flight in jet-powered suit (англ.), The Guardian (28 апреля 2017).
- The Real-Life Iron Man Suit (англ.) ?. Time. Дата обращения: 22 февраля 2021.
- В США во время полета взорвался реактивный ранец: пилот погиб // Вести.ру, 9 декабря 2019
- Michael Jackson Flying Off The Stage On a Jetpack
- ИКАР — портативное реактивное крыло вертикального взлета
Ссылки
- IT’S ROCKET MAN!!
- Реактивный ранец на водной тяге // 2 февраля 2009
- Компания Jet PI из Денвеа представила новый компактный реактивный ранец
- В США провели первый официальный полет реактивного ранца // «Дождь», 9 ноября 2015
- Применение реактивного ранца в Нидерландах на учениях морского спецназа при захвате судна показали на видео // 21.04.2021
- JB11 First EVER Flight at Goodwood Festival of Speed 2018
- Разработчики
- Конструкторское Бюро № 4232 (#КБ4232) с 2015г