Раковина моллюсков
Раковина моллюсков — наружное скелетное образование, покрывающее тело большинства моллюсков и выполняющее защитную и опорную функции.
Строение
Строение раковины различается у представителей разных групп.
Раковина Conchifera

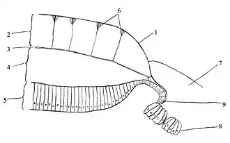
Раковины всех Conchifera (классы Gastropoda, Cephalopoda, Bivalvia, Scaphopoda, Monoplacophora) построены, в общем, по одной схеме.
Исходно раковина состоит из трёх слоёв:
- Периостракум — наружный тонкий слой, состоящий исключительно из белка — конхиолина. Фактически, он представлен двумя плотно прилегающими друг к другу слоями.
- Остракум — средний слой раковины, состоит из кристаллических призм карбоната кальция (СaCO3) в обёртке из конхиолина. Структура его может быть весьма разнообразной.
- Гипостракум или перламутровый слой — внутренний слой раковины, состоит из пластин СaCO3, также обёрнутых конхиолином.
Нередко, особенно у высокоорганизованных брюхоногих моллюсков, перламутровый слой отсутствует; зато остракум в таких случаях может состоять из множества разных по структуре слоёв.
Карбонат кальция в составе раковины моллюсков может находиться в виде трёх модификаций:
- Арагонит — характерен для наиболее древних моллюсков; перламутровый слой всегда состоит только из арагонита.
- Кальцит — по-видимому, эта модификация — более позднее приобретение моллюсков.
- Ватерит — используется для репарации.
Встречаются разнообразные комбинации арагонита и кальцита в раковинах разных моллюсков.
Секреция раковины осуществляется мантийным эпителием на её нарастающем крае. В его основании расположена железа периостракума, которая секретирует наружный слой периостракума. Далее по ходу мантийного эпителия последовательно секретируются остальные слои раковины.
В пространстве между мантийным эпителием и периостракумом (экстраполиальная полость) происходит процесс биоминерализации. Он осуществляется за счёт постоянной подкачки ионов Ca2+ и HCO3 и откачки ионов водорода. Таким образом создаётся благоприятная среда для образования углекислого кальция (CaCO3). Кроме того, в экстраполиальную полость секретируются мукополисахариды и белки для формирования конхиолиновой обёртки кристаллов углекислого кальция.
Раковина хитонов

У хитонов (Polyplacophora) раковина устроена несколько иначе, чем у других классов моллюсков. В ней также выделяют три слоя:
- Периостракум — наружный слой, состоит исключительно из конхиолина.
- Тегментум — средний слой; состоит в основном из конхиолина с небольшой примесью углекислого кальция. Часто бывает пигментирован.
- Артикуломентум — внутренний слой, состоит практически из одного карбоната кальция.
Принципиальным отличием от других моллюсков является то, что через раковину проходят тяжи живой ткани. Они расположены на границе тегментума и артикуломентума. От них к поверхности идут ветвящиеся чувствительные образования — эстеты.
Редукция раковины
Редукция раковины наблюдается практически во всех классах моллюсков.
Так, у некоторых хитонов раковинные пластинки погружаются вглубь тела и теряют свои верхние слои: периостракум и тегментум.
Также погружение и редукция раковины характерны для высших головоногих моллюсков — Dibranchia. И если у каракатиц внутренняя раковина несёт функциональную нагрузку (используется для регуляции плавучести), то у кальмаров и осьминогов она исключительно рудиментарна.
Среди брюхоногих моллюсков наблюдается независимая редукция раковины в разных группах: во-первых, у лёгочных моллюсков — среди слизней (семейства Arionidae, Limacidae и др.) и, во-вторых, среди заднежаберных — в подотрядах Голожаберные, Крылоногие и др.
Морфология раковин
Морфология раковин брюхоногих моллюсков

В строении раковины брюхоногих моллюсков принято выделять несколько элементов. Завиток образован верхними оборотами раковины. Последний оборот раковины открывается устьем. Верхняя часть завитка оканчивается вершиной. На ней часто выявляется зародышевая раковина (протоконх). Шов — граница между двумя оборотами. Сросшиеся стенки внутренней поверхности оборотов раковины образуют колумеллу (центральный столбик). У некоторых раковин верхняя часть оборотов образует так называемое плечо, которое может быть округлой, угловатой или отлогой формы. В верхней части оборота может присутствовать пришовная площадка, представляющая собой уплощенный участок, расположенный непосредственно под швом. Самая широкая, средняя часть оборота носит название периферии, а нижняя часть последнего оборота называют основанием или базой раковины. Края устья называют внешней и внутренней губой. Передний и задний его края могут вытянуты в передний (сифональный) и задний выросты. Возле внутренней губы устья может располагаться пупок — углубление, через которое видна брюшная часть первого оборота раковины.
Устье раковины у большинства брюхоногих прикрыто оперкулумом (оперкулюм, крышечка). Оперкулюм может быть известковым или роговым и обычно имеет коническую, округлую форму, у отдельных видов — форму запятой. Некоторые брюхоногие моллюски (например, ципреи, пресноводные и наземные лёгочные) лишены оперкулюма.
При определении моллюсков часто используют пропорции раковины, которые определяют с помощью специальных промеров [1]

Форма раковин
У большинства брюхоногих моллюсков раковина является закрученной в спираль, при этом обороты спирали чаще всего находятся в разных плоскостях. Подобная спираль носит название геликоидной спирали. Подавляющее большинство раковин закручены вправо, они называются дексиотропными. Однако, существуют также и левозакрученные раковины, которые называют синистральньми. Если посмотреть на раковину со стороны устья, то у правозакрученных оно расположено с правой стороны, у левозакрученых — с левой.


Большинство брюхоногих моллюсков имеют раковину, обороты которой не наползают друг на друга, а только соприкасаются — такие раковины называют эволютными. Те же раковины, у которых каждый новый виток полностью закрывает предыдущие, относятся к инволютным или конволютным. Инволютные раковины характерны для ципрей, тривий и некоторых других родов брюхоногих моллюсков. Конволютные раковины отличаются тем, что последний оборот скрывает все предыдущие, и они имеют веретеновидную форму со стороны устья. В этой части они более вытянуты, сифональный и задний каналы легко различимы на фоне крупной наружной губы и меньшего по размеру предпоследнего оборота. Такие раковины характерны для родов Ovula и Volva. Раковины, напоминающие спираль, обороты которой не сомкнуты вместе, а многократно перекручены в разных направлениях, называют деволютными, или раскрученными.
Устье раковины может быть округлым, овальным, продолговатым, полукруглым; узким или широким. Внутренние обороты раковины, срастаясь, образуют внутренний столбик или колумнеллу. У ряда видов внутренний канал колумнеллы открывается наружу на основании раковины в виду отверстия, называемого пупком. Данная морфологическая особенность имеет место у моллюсков из рода Natica. Внутренняя губа устья может быть широкой, узкой, вывернутой, а также содержать зубцы. Иногда данная губа может нести на себе утолщенный наплыв эмали, называемый каллюсом.
Внешняя губа устья имеет разнообразные морфологические варианты. Например, последние осевые гребни, рёбра и пластины окаймляют устье раковины мурексов, часто напоминая своей формой рыбьи плавники. Все представители семейства Strombidae имеют в нижней части внешней губы устья специальную выемку, которая позволяет моллюскам смотреть вокруг, не высовывая органы зрения из раковины. Также, часть представителей этого семейства обладает раковинами с широкой отогнутой наружной губой. Представители рода Lambis обладают многочисленными изогнутыми выростами наружной губы устья раковины.
В нижней части устья раковин некоторых брюхоногих моллюсков находится желобовидный или сомкнутый сифональный вырост, который в последнем случае содержит в себе сифональный канал, открывающийся на конце выроста отверстием.
Конусы и ципреи обладают своеобразными раковинами. Это привело к появлению специфических терминов, описывающих те или иные черты строения данных раковин. У раковин ципрей принято различать спинную (верхнюю), базовую (нижнюю) поверхности, а также базальный (боковой) край и срединную площадку. У конусов различают базу (основание), на которой могут встречаться пятна, тело и вершину, которая может быть гладкой или иметь круговой ряд зубчиков.
Скульптура
Скульптура раковин брюхоногих моллюсков может быть поверхностной (в этом случае она называется микроскульптурой) или настоящей скульптурой, образованной за счёт более глубоких слоёв раковины. Примерами микроскульптуры являются чешуйки, бугорки или спиральные бороздки. Настоящая скульптура бывает представлена килями, ребрами, рёбрышками, гребнями и пластинами. Иногда последние могут быть высокими, низкими, крыловидными. Высокие волнистые гребни и пластины некоторых мурексов принято называть вариксами. В случае вертикального расположения скульптурные образования называются осевыми, в случае поперечного — спиральными. В ряде случаев говорят о диагональной скульптуре.
Окраска

Общая окраска раковины может быть однотонной, пятнистой, полосатой или сложной, узорчатой. У одних видов пятна на раковине могут быть нечёткими, расплывчатыми, у других — контрастно выделяться на общем фоне раковины, принимая овальную, треугольную или квадратную форму, что может являться видовым признаком. Полосы, в зависимости от расположения, делят на осевые, в случае вертикального расположения, спиральные — в случае горизонтального, диагональные и зигзаговидные. Раковины некоторых видов брюхоногих моллюсков окрашены удивительно сложно. Каждая раковина в пределах одного вида обладает своим уникальным, но имеющим общие черты, узором. Для некоторых узоров существуют специальные определения. Так, светлое пятно на спинной поверхности раковин ципрей часто называют окном, округлые пятнышки с контрастным включением именуют глазками, а тонкие каллиграфические линии, образующие живописный каскад треугольников разного размера и украшающие раковины некоторых видов конусов, носят название чешуйчатого узора.
Морфология раковин двустворчатых моллюсков

Двустворчатые моллюски — двусторонне-симметричные животные, тело которых находится в раковине, состоящей из левой (верхней) и правой (нижней) створок. Более или менее выпуклый округлый бугорок на верхней части спинной поверхности створки называется макушкой. У равносторонних раковин макушка занимает срединное положение, тогда как у большинства неравносторонних раковин она смещена вперед, либо назад. У ряда видов, например гребешки, спондилюсы, по бокам макушки имеются плоские треугольные выросты, называемые ушками.
Створки раковины соединены между собой эластичным лигаментом, расположенным на спинной поверхности позади макушек. Замок раковины, имеющийся у большинства моллюсков этого класса, представлен зубами и выемками на замочной площадке. Каждый зуб одной створки соответствует выемке другой, обеспечивая надёжное сочленение закрытых створок раковины.
На внутренней поверхности створок находятся округлые отпечатки мышц-аддукторов (замыкателей). Их может быть два или один. Между ними заметна тонкая и волнистая мантийная линия, которая проходит вдоль края створки. У видов, имеющих хорошо развитые сифоны, в задней части раковины эта линия, ограничивающая мантийный синус, делает изгиб.
Ряд двустворчатых моллюсков имеют раковину с различающимися по размеру, окраске, или даже форме створками. Таковы, например, устрицы, некоторые гребешки и спондилюсы. Часто более глубокая и светлая нижняя створка дополняется плоской и ярко окрашенной верхней.

Форма раковин
Форма створок сильно различается у различных видов. Большинство двустворчатых имеют овальную или треугольную раковину. Также существуют моллюски с прямоугольной, дисковидной, клиновидной и трапециевидной формой створок.
Скульптура
Наружная поверхность створок может быть гладкой или же быть скульптурированной. Различают микроскульптуру и настоящую скульптуру. Микроскульптура (щетинки, бороздки, морщинки) образуется на поверхности периостракума, тогда как настоящая скульптура (рёбра, кили, шипы) образована более глубокими слоями раковины. В случае пересечения концентрических рёбрышек равными по ширине и высоте радиальными образуется сетевидная текстура. Мелкие чешуйки на поверхности створок могут быть плоскими или выпуклыми. Они покрывают гладкую поверхность или располагаются на рёбрышках. Крупные чешуйки могут располагаться рядами, придавая последним вид ступенек, или заворачиваться в длинные трубочки на поверхности раковин.
Окраска
Общая окраска раковин двустворчатых моллюсков может быть весьма разнообразной: преимущественно однотонной, пятнистой, с различными линиями, узорами. Тонкие или широкие радиальные линии называют лучами, концентрические линии — полосами. Линии могут быть волнистыми, зигзагообразными, разветвляющимися или образовывать замысловатые узоры, например ромбы, треугольники или кресты.

Морфология раковин головоногих моллюсков
Раковина у головоногих моллюсков исходно представляла собой коническую трубку, прямую или изогнутую, в жилой камере которой располагается мягкое тело, а задняя часть выполняет функцию гидростатистического аппарата. Приобретение раковиной планоспиральной свернутости является адаптационным механизмом, который дал им возможность расположить центр тяжести и плавучести по одной вертикали, или даже в одной точке (у Наутилуса несовпадение этих центров составляет около 2 мм). Благодаря этому требуется минимум усилий для приобретения любого положения в воде.
Головоногие моллюски со спирально свернутой раковиной впервые появились в раннем ордовике (отряд Tarphycerida) и в течение долгого времени были немногочисленными. Начиная с девона (появление отряда Nautilida и аммоноидеи) они получили преобладающее распространение. Данный тип раковины возник независимо по меньшей мере в трёх крупных самостоятельных филогенетических ветвях. В нижнем карбоне возникли первые представители высших головоногих, у которых раковина постепенно редуцировалась и оказалась заключённой внутри мягких тканей тела.

Морфология раковин хитонов
Раковина хитонов состоит из восьми пластин, которые формируются отдельно в процессе эмбриогенеза. Пластинки расположены последовательно вдоль передне-задней оси тела. Первая и последняя пластинки отличаются от остальных по форме.
Средние шесть пластинок своей формой напоминают ромб. Кроме того, они имеют две пары выростов: передние (апофизы) и задние (боковые инсерционные пластинки), которые погружены в эпителий и состоят исключительно из артикуломентума.
Геологическое значение
Скопления раковин моллюсков играют важную роль в формировании некоторых типов донных осадков и осадочных горных пород, особенно раковинных известняков и птероподовых илов[2].
Раковины моллюсков и человек

Использование раковин
Раковины моллюсков использовались как материал для изготовления различных инструментов: рыболовных крючков, резцов, скребков, насадок для мотыги[2]. Сами раковины использовались в качестве сосудов[2], а также музыкальных инструментов (конх) и украшений.
Добываемый из раковин перламутр используется для изготовления различных изделий, например, пуговиц, а также для инкрустаций[2].
В некоторых местностях раковины служили деньгами — на пример, каури на островах Океании[2].
Раковины в искусстве
Крупные раковины часто изображали на своих картинах художники Ренессанса. Примером могут служить картины, описывающие мифологический сюжет — рождение Венеры. На знаменитой картине Сандро Боттичелли Венера изображена стоящей на огромной раковине гребешке, которая была её символом (см. Афродита Анадиомена).
В картине художника XX века Вильяма Бугро раковины служат и музыкальным инструментом.
Примечания
- rheos.org.ru (недоступная ссылка)
- Раковина / Иванов А. В. // Проба — Ременсы. — М. : Советская энциклопедия, 1975. — С. 447. — (Большая советская энциклопедия : [в 30 т.] / гл. ред. А. М. Прохоров ; 1969—1978, т. 21).
Литература
- Московская Н. Раковины мира. История, коллекционирование, искусство. — М.: Аквариум-Принт, Харвест, 2007. — 256 с. — ISBN 978-5-98435-602-2.


_-_The_Birth_of_Venus_(1879).jpg.webp)