Полусвободный затвор
Полусвободный затвор, или торможённый затвор — продольно-скользящий затвор, не сцепленный с неподвижным стволом во время выстрела, отход которого назад при выстреле замедляется за счёт особого его устройства.



Отдача полусвободного затвора — принцип действия автоматики перезаряжания огнестрельного оружия, основанный на использовании энергии отдачи полусвободного затвора. Относится к типу оружия, автоматика перезаряжания которого работает за счёт использования энергии отдачи затвора.
Системы с полусвободными затворами занимают промежуточное положение между свободным затвором и затвором, жёстко запираемым во время выстрела. Действие системы должно быть просчитано таким образом, чтобы движение затвора замедлялось до момента падения давления газа в стволе до безопасного уровня. В противном случае произойдет преждевременное отпирание затвора и давление газов разорвет гильзу, что может привести к поломке или временному выходу из строя оружия и травме стрелка.
Полусвободный затвор конструктивно и технологически существенно более сложен по сравнению со свободным (но всё-таки несколько проще, чем системы с использованием отдачи ствола или газоотводной автоматикой), зато при той же массе позволяет применить более мощный патрон либо, наоборот, при использовании того же патрона облегчить затвор относительно свободного, что позволяет снизить массу оружия в целом, повысить показатели кучности стрельбы.
Применение полусвободного затвора при использовании в оружии пистолетных патронов в большинстве случаев не оправдано ввиду его повышенной сложности, а при таких мощных патронах, как винтовочные, он уже не обеспечивает надёжного действия автоматики оружия. Рационально, видимо, его применение в оружии под автоматные патроны «промежуточной» мощности, однако в этом классе исторически уже господствует газоотводная автоматика, что существенно ограничивает применимость полусвободных затворов в данном типе оружия. Наиболее оправданным случаем использования полусвободного затвора можно считать оружие под пистолетные патроны сравнительно высокой мощности, наподобие 9×25 мм Маузер или 7,62×25 мм ТТ, .45 АСР, широко использовавшихся в пистолетах-пулемётах. Также иногда полусвободный затвор используется в целях снижения излишне высокого темпа стрельбы оружия.
Принцип действия
В большинстве случаев принцип действия полусвободного затвора заключается в том, что он состоит из двух частей, так или иначе связанных между собой таким образом, что при выстреле кинетическая энергия отдачи, получаемая его передней, непосредственно прилегающей к казённому срезу ствола, частью, посредством этой связи передаётся задней части затвора. Задняя часть затвора (обычно называемая затворной рамой) начинает двигаться быстрее, чем передняя, работая накопителем энергии, а передняя его часть (остов или боевая личинка затвора) за счёт перераспределения энергии от неё к накопителю, соответственно, тормозится, этим замедляя выход гильзы из патронника.
Для такого перераспределения энергии между частями затвора могут использоваться рычаг или система рычагов (пулемёт Шварцлозе, пистолет-пулемёт Кирали, FAMAS, автомат Барышева и другие), ролики (CETME, HK G3, HK MP5, SIG SG 510 и другие) и иные приспособления.
Также,к полусвободным часто относят затворы, торможение которых достигается так или иначе за счёт возникновения повышенного трения между затвором и внутренней поверхностью ствольной коробки (так называемый фрикционный затвор; примеры использования — пистолет-пулемёт Томпсона, пистолет-пулемёт Рейзинга, пистолет Шёнбергера и другие) или сопротивления какого-либо механизма, находящегося вблизи мёртвой точки (например, пары связанных рычагов или маховика), а иногда — и оружие, в котором движение затвора тормозится давлением пороховых газов, отведенных из ствола (Volkssturmgewehr 1-5, Heckler und Koch P-7), либо использованием любых иных, позволяющих достичь этого, принципов. Однако иногда эти системы выделяют в отдельный тип затворов с замедленным отходом.
Так как экстракция в системах с полусвободным затвором происходит при сравнительно высоком давлении в патроннике и, соответственно, высоком трении гильзы о стенки патронника, для уменьшения трения между стенками патронника и гильзой, облегчения её выхода из патронника и предотвращения разрыва в них часто применяются продольные канавки на стенках патронника, так называемые канавки Ревелли (не путать с поперечными или спиральными насечками в патроннике, которые иногда используются в системах со свободным затвором и, напротив, замедляют отход назад гильзы и затвора).
Например, у FAMAS в патроннике имеются 16 продольных канавок длиной 44 мм. Канавки подают пороховые газы в пространство между гильзой и стенками патронника. Они могут доходить до конца патронника или до его середины, так как стенки гильзы у основания обычно толще, чем у дульца, поэтому вероятность её разрыва там меньше.
На ранних системах, не имевших таких канавок, иногда с той же целью — облегчение экстракции при высоком давлении пороховых газов и предотвращение разрыва гильзы — применялась обильная смазка патронов воском или густой смазкой.
Системы
Система Шварцлозе

Замедление отпирания в системе Шварцлозе осуществлялось сразу двумя способами — сопротивлением пары шарнирно сочленённых рычагов и перераспределением энергии отдачи между двумя частями затвора. Пара рычагов — шатун, соединённый с массивным остовом затвора, и кривошип, связанный с коробом — находилась в переднем положении вблизи мёртвой точки. Ударный механизм включал ударник с бойком, скользивший в канале остова затвора, надетую на хвост ударника тарель с гребнем и укреплённую на тарели лодыжку.[1]
Система Блиша

Между затвором Блиша и стенками ствольной коробки имелся бронзовый вкладыш, скользящий по двум пазам-направляющим под углом около 70° к оси ствола. Бронза по стали скользит легко, и перемещению затвора рукой вкладыш не мешает — выскальзывает и освобождает затвор. Но при очень высоком давлении коэффициент трения растёт. Поэтому при выстреле, когда усилие на вкладыше растёт скачком, он заклинивается и удерживает затвор, пока давление не спадёт.
Ряд авторов утверждает, что вкладыш-замедлитель в данной конструкции по сути не работал либо оказывал на её работу лишь небольшое влияние, что отчасти подтверждается тем фактом, что поздние армейские модификации «Томпсона» — М1 и М1А1 — его вовсе не имели, что не повлияло на их работоспособность. Кроме того, при неправильной (вверх ногами) установке вкладыша при сборке оружие не работало.
Система Рейзинга

Использовалась в пистолетах-пулемёте Reising M50 / M55. Не следует путать эту систему с теми, в которых перекосом осуществляется жёсткое запирание затвора (СКС, StG 44 и другие).
Принцип действия заключается в использовании перекоса затвора вверх на небольшой угол. После прихода в крайне переднее положение затвор входит своей тыльной (задней) частью в наклонный скос на внутренней поверхности ствольной коробки. При выстреле его отход замедляется до тех пор, пока задний торец затвора полностью не выйдет из скоса.
Система оказалась малоэффективна и, к тому же, склонна к отказам при загрязнении скоса пылью и пороховым нагаром.
Система Кирали


Использует рычажный замедлитель отхода боевой личинки затвора. Затвор состоит из двух частей, энергия отдачи перераспределяется от передней части к задней за счёт связывающего их передаточного рычага (ускорителя), взаимодействующего со специальным выступом затворной коробки. При этом передняя часть затвора тормозится, а задняя — напротив, отходит назад ускоренно.
Разработана Паулем Кирали (Pál Király) в 1930-х годах, впервые применена на разработанном им пистолете-пулемёте Kiraly 39.M. Впоследствии применена в конструкции доминиканского карабина San Cristobal, французских пулемёте AA-52 и автомате («штурмовой винтовке») FAMAS, а также многих других образцах. В СССР по схеме Кирали был создан целый ряд образцов конструкторами Г. А. Коробовым (ТКБ-454, ТКБ-517) и, в существенно модифицированном виде, А. Барышевым (автомат Барышева).
Система Энда

Использовалась в швейцарском пистолете-пулемёте SIG MKMS системы Готтарда Энда. Отчасти напоминает систему Кирали, — собственно говоря, сам Кирали также принимал участие в её разработке.
Затвор в этой системе также разделён на две части, между которыми при выстреле происходит перераспределение энергии отдачи. Отличие заключается в том, что вместо рычага это осуществляется за счёт перекоса боевой личинки затвора вверх, торец которой благодаря особой форме сам играет роль рычага-ускорителя, взаимодействуя с уступом на ствольной коробке.
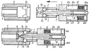
Система с роликовым торможением (Форгримлера)

Не следует путать её с оружием вроде пулемёта MG42, в котором при помощи похожих роликов осуществляется жёсткое запирание канала ствола.
Разработана в конце Второй мировой войны в Германии фирмой Mauser при разработке автомата StG 45(M), однако развернуть производство не удалось по причине капитуляции Германии. После окончания войны в 1949 году команда бывших инженеров Mauser под руководством Людвига Форгримлера (Ludwig Vorgrimler) начала работать над созданием оружия для армии Испании в мадридской компании CETME. Ими была разработана винтовка CETME modelo А, принятая на вооружение армии Испании в 1956 году и впоследствии многократно модернизированная.
Впоследствии лицензия на производство этой винтовки была куплена немецкой компанией Heckler & Koch и воплотится в целой серии оружия различного класса: от пистолетов-пулемётов HK MP5 до снайперской винтовки HK PSG1. Очень близкий принцип действия был реализован и в швейцарской винтовке SIG SG 510.
В оружии с роликовым торможением затвора при выстреле давление пороховых газов на донце гильзы толкает её вместе с затвором назад (А). Однако ролики, взаимодействуя со стенками ствольной коробки, имеющими специальные углубления, при этом начинают сходиться, выходя из этих углублений (В) и толкая назад заднюю часть затвора, одновременно задерживая отход передней, за счёт чего первая начинает отходить назад ускоренно, а вторая, напротив, тормозиться. Передаточное отношение роликовой передачи у пистолета-пулемёта МР5 составляет порядка 1:4. После того, как ролики полностью выйдут из углублений, обе части затвора отходят назад совместно под действием инерции (С).
Система с торможением за счёт поворота затвора
По приходу в крайне переднее положение затвор поворачивается на небольшой угол за счёт взаимодействия со спиральными пазами на стенках ствольной коробки, или наличия скоса у выреза для рукояти взведения. В отличие от систем, в которых поворотом затвора осуществляется его жёсткое запирание, затвор после этого может самоотпереться, но после выстрела между спиральными пазами и выступами затвора возникает повышенное трение, которое тормозит отход последнего. После выхода выступов из спиральной части пазов затвор отходит назад свободно.
Применялась обычно в пистолетах-пулемётах, например итальянском Beretta M1918 и опытном пистолете-пулемёте Дегтярёва 1931 года.
Система Дегтярёва
Ещё одна разновидность схемы с перераспределением энергии отдачи между двумя частями затвора, очень похожая на схему с роликовым запиранием, только роль роликов здесь играют боевые упоры в виде рычагов. Использовалась в опытном пистолете-пулемёте Дегтярёва 1929 года.
Передняя часть затвора, непосредственно подпирающая казённый срез ствола, имела два расходящихся в стороны боевых упора по бокам. Когда затвор приходил в крайне переднее положение и упирался в казённый срез, затворная рама продолжала движение по инерции и под воздействием возвратно-боевой пружины, при этом коническая поверхность выполненного зацело с ней ударника раздвигала эти боевые упоры, и они входили в специальные вырезы по бокам ствольной коробки. При выстреле скошенные опорные поверхности боевых упоров и вырезов ствольной коробки взаимодействовали друг с другом, и боевые упоры начинали сходиться, при этом «выдавливая» расположенный между ними ударник, ускоряя этим отход затворной рамы и одновременно замедляя отход передней части затвора; после полного «выдавливания» ударника, затвор самоотпирается и далее отходит назад вместе с затворной рамой свободно.
Такая конструкция весьма напоминает затвор пулемёта ДП, но расходящиеся упоры используются здесь не для жёсткого запирания, а для перераспределения энергии отдачи (у ДП отпирание затвора производилось за счёт газового поршня, отводящего назад затворную раму и сводящего боевые упоры).
Система Педерсена

Использует для замедления отхода затвора сопротивление рычагов подпирающего его сзади кривошипно-шатунного механизма, находящихся в момент выстрела в положении вблизи мёртвой точки.
Использовалась в опытной винтовке Педерсена, кроме того похожий принцип реализовывался в качестве одного из способов замедления отхода затвора в пулемёте Шварцлозе, описание конструкции и действия автоматики которого даны выше.
Система с газовым торможением

I — положение перед выстрелом; II, III — в процессе выстрела высокое давление в цилиндре не позволяет затвору двигаться назад; IV — пуля покинула ствол, давление в стволе и в цилиндре упало, затвор открывается под действием импульса отдачи.
Иногда называется «принцип Барнитцке», по имени немецкого конструктора Карла Барнитцке, который на исходе Второй мировой войны разработал одну из её разновидностей для использования в максимально упрощённом эрзац-оружии под автоматный патрон — Volkssturmgewehr 1-5. Тот же принцип в другом варианте реализации был использован и в созданном тогда же автомате Хорна.
Система с газовым замедлением использует цилиндр, который в момент выстрела заполняется пороховыми газами, отводящимися из канала ствола. Поршень газового цилиндра соединен с затвором таким образом, что давление в цилиндре при выстреле тормозит его отход назад. После падения давления газа в стволе давление в цилиндре также падает, что позволяет поршню двигаться в цилиндре, не препятствуя открыванию затвора.
Главный недостаток всех систем с газовым торможением — повышенная чувствительность к загрязнению пороховым нагаром, что требует применения пороха высокого качества и постоянной чистки оружия.
В настоящее время используется только в пистолетах HK P7 и Walther CCP.
Эта система иногда рассматривается также как жёсткое запирание канала ствола пороховыми газами, а не разновидность полусвободного затвора.
Система с торможением маховиками

Использовалась в конструкции опытного единого пулемёта, представленного конструктором фирмы Gustloff-Werke Виктор Барнитцке на конкурс одновременно с MG42. Движение затвора при помощи зубчатой рейки и шестерёночного механизма передавалось двум маховикам, раскручивавшимся в обратные стороны, нейтрализуя энергию отдачи. Не был принят из-за быстрого износа рейки и шестерён.
Схожая система, но с одним маховиком и без реечного механизма использовалась во французском сверхкомпактном пистолете-пулемёте MGD.
Система Калашникова
Разработана М. Т. Калашниковым в самом начале его карьеры оружейника.
Его пистолет-пулемёт имел полусвободный затвор, отход которого назад замедлялся за счёт взаимодействия двух винтовых пар в затворной группе: затвор — поворотная муфта и поворотная муфта — винтовой хвостовик. Во время отката подвижных частей затвор продольно перемещается по направляющим ствольной коробки, муфта вращается, а хвостовик остается неподвижным — от проворота он фиксируется выступом, входящим в паз на торце ствольной коробки. При этом муфта, наворачиваясь на хвостовик, выворачивается из затвора. Таким образом муфта и затвор, двигаясь назад, как бы «разбегаются» относительно друг друга, скорость отката затвора снижается и увеличивается время полного открывания затвора.
В таком виде данная схема работы автоматики уникальна для этого образца оружия, хотя близкие принципы, основанные на так или иначе реализованном использовании винтовых пар, использовались и ранее (опытная винтовка Маннлихера 1893 года, опытная винтовка Томпсона). Главный недостаток — очень высокая сложность и трудоёмкость изготовления.
Система Кербра
.svg.png.webp)
Работает за счет специального противовеса-вкладыша, перемещающегося в почти вертикальной плоскости позади горловины магазина. Специальные выступы затвора упираются в наклонные пазы вкладыша, в результате чего, во время выстрела, откат затвора замедляется силой трения о вкладыш, который стремится двигаться вниз. Рукоятка располагается довольно высоко относительно оси ствола, верх затыльника приклада находится на одной оси со стволом, что позволяет совместить точку упора в плечо и вектор импульса отдачи.
Система с торможением за счёт несовпадения осей ствола и затвора

Хотя по сути в таких системах используется свободный затвор без специального замедляющего устройства, его отход всё же несколько замедлен за счёт несовпадения оси, по которой он движется, с осью ствола, что позволяет в определённой степени отнести их к системам с полусвободным затвором, либо затвором с замедленным отходом. Использовалась во французском пистолете-пулемёте MAS 38, финском Jatimatic.
Система с пневматическим торможением
Работает за счёт так или иначе используемого сжатия воздуха или разрежения. Также может считаться отчасти разновидностью полусвободного затвора, или скорее — затвора с замедлением отхода.
В пистолете-пулемёте «Суоми» торможение отхода затвора назад достигается за счёт сжатия воздуха в герметизированной полости ствольной коробки позади него, а прихода вперёд — за счёт возникновения разрежения в той же полости при его обратном движении из-за наличия в затыльнике специального клапана, который свободно стравливает воздух наружу, но препятствует его поступлению внутрь полости. Недостаток данной системы — сложность и высокая стоимость изготовления герметизированной ствольной коробки, чувствительность к загрязнению.
В немецком пистолете-пулемёте MP40 применён более совершенный вариант пневматического торможения затвора: в нём возвратно-боевая пружина полностью окружена телескопическим кожухом из стальных трубок, образуя вместе с ними и основанием ударника отдельную сборочную единицу. За счёт сжатия находящегося внутри системы трубок воздуха при отходе затвора назад они работали в качестве замедлителя темпа стрельбы, доводя его до порядка 450 выстрелов в минуту. Кроме того, возвратно-боевая пружина, находящаяся внутри системы трубок, была надёжно защищена от грязи и механических повреждений. Сборка и разборка оружия также были существенно упрощены.
Динамика оружия с полусвободным затвором
Рассмотрим систему с разделением затвора на две части и рычажным перераспределением энергии между ними.
Разделение затвора на две части, связанные передаточным рычагом, имеющим передаточное число , по сути равносильно увеличению его массы:
- где , — массы соответственно передней и задней частей затвора, — эквивалентная масса полусвободного затвора.
Таким образом можно, зная массу частей затвора и передаточное число его рычага, рассчитать массу свободного затвора, который он в состоянии заменить при сохранении надёжной работы оружия. Этот же принцип расчёта применим и для систем с иным способом перераспределения энергии между частями затвора, для которых берётся передаточное отношение соответствующего механизма.
Международная терминология
В англоязычной терминологии термин «(полу)свободный затвор» как таковой отсутствует. Вместо этого используется термин blowback («блоу-бэк»), используемый для обозначения любого принципа работы автоматики, основанного на отдаче затвора — как свободного, так и полусвободного или свободного с замедлением отхода. Системы с полусвободным затвором при этом обозначают как «замедленный» (delayed, retarded) blowback.
Аналогичная терминология используется и во многих других языках.
Литература
- Теория и расчёт автоматического оружия. Пенза, 1997.
- Благонравов А. А. Основы проектирования автоматического оружия. М.: Оборонгиз, 1940.
- Кириллов В. М. Основы устройства и проектирования стрелкового оружия. Пенза: Пензенское высшее артиллерийское инженерное училище, 1963.
- Бабак Ф. К. Основы стрелкового оружия. Спб.: Полигон, 2003.
- Дмитриев Дж. Submashine Gun Designer’s Handbook. Настольная книга разработчика пистолета-пулемёта (англ.).
Примечания
- Пулемёты в Первой мировой войне 1914—1918 гг. Архивировано 28 декабря 2009 года.