Опыт Физо
Опыт Физо провёл Ипполит Физо в 1851 году для измерения относительной скорости света в движущейся воде. Физо использовал специальный интерферометр для измерения влияния движения среды на скорость света.

Согласно теории, преобладавшей в то время, проходящий через движущуюся среду свет будет увлекаться этой средой таким образом, что измеренная скорость света была бы простой суммой его скорости внутри среды и скорости среды. Физо действительно обнаружил эффект увлечения, но наблюдаемая величина эффекта была намного ниже, чем ожидалось. Когда он повторил эксперимент с воздухом вместо воды, то не заметил никакого эффекта. Его результаты, как казалось, подтверждали гипотезу Френеля о частичном увлечении эфира средой, что приводило в замешательство большинство физиков. Прошло более полувека, прежде чем появилось удовлетворительное объяснение неожиданного результата Физо с использованием специальной теории относительности Альберта Эйнштейна. Позднее Эйнштейн указал на важность эксперимента для специальной теории относительности, в которой он демонстрирует релятивистскую формулу сложения скоростей в пределе малых скоростей.
Несмотря на то, что опытом Физо называют один определённый эксперимент, он не был единственным опытом, проведённым этим физиком, потому что он был активным экспериментатором, который провёл широкий спектр различных опытов, связанных с измерением скорости света в различных ситуациях.
Экспериментальная установка


Сильно упрощённое представление опыта Физо 1851 года представлено на рисунке 2. Входящий свет разделяется на два луча светоделителем (BS) и проходит через две трубки с водой, в которых вода течёт в противоположных направлениях. Затем два луча вновь объединяются, чтобы сформировать интерференционную картину, которую наблюдатель может интерпретировать[S 1]. Упрощённая конструкция, которая представляет собой интерферометр с двумя плечами, показанная на рисунке 2, потребовала бы использования монохроматического света, который позволил бы получить только тусклые полосы. Из-за малой длины когерентности белого света потребовалось бы согласование оптических путей с непрактичной степенью точности, а устройство было бы чрезвычайно чувствительным к вибрации, механическим сдвигам и температурным эффектам[P 1].
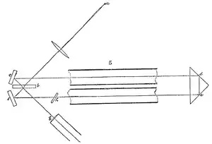
С другой стороны, реальный аппарат Физо, показанный на рисунке 3 и рисунке 4, был настроен как интерферометр с общим оптическим путём. Это гарантировало, что противоположные лучи будут проходить по эквивалентным путям, так что полосы легко образуются даже при использовании солнца в качестве источника света:
Двойное прохождение света было сделано с целью увеличения расстояния, пройденного в движущейся среде, и, кроме того, для полной компенсации любой случайной разницы температуры или давления между двумя трубками, из-за которой могло произойти смещение полос, что могло быть смешанным с перемещением, которое могло бы вызвать одно движение и таким образом сделать его наблюдение неопределённым[P 2][P 3].
Оригинальный текст (англ.)[показатьскрыть]The double transit of the light was for the purpose of augmenting the distance traversed in the medium in motion, and further to compensate entirely any accidental difference of temperature or pressure between the two tubes, from which might result a displacement of the fringes, which would be mingled with the displacement which the motion alone would have produced; and thus have rendered the observation of it uncertain.

Луч света, исходящий от источника S′, отражается светоделителем G и коллимируется в параллельный пучок линзой L. Пройдя через прорези O1 и O2, два луча света попадают в трубки A1 и A2, по которым вода течёт в противоположных направлениях, как показано стрелками. Лучи отражаются от зеркала m в фокусе линзы L′, так что один луч всегда распространяется в том же направлении, что и поток воды, а другой луч — противоположно направлению потока воды. Пройдя вперёд и назад через трубки, оба луча объединяются в точке S, где они создают интерференционные полосы, которые можно увидеть через окуляр. Интерференционную картину можно проанализировать, чтобы определить скорость света, движущегося по каждому участку трубки[P 2][P 4][S 2].
Коэффициент увлечения Френеля
Предполагается, что вода течёт по трубкам со скоростью v. Согласно нерелятивистской теории светоносного эфира, скорость света должна увеличиваться при «увлечении» водой и уменьшаться при «преодолении» сопротивления воды. Общая скорость пучка света должна быть простой суммой его скорости в воде и скорости воды. То есть если n — показатель преломления воды, так что c/n — скорость света в неподвижной воде, то предсказанная скорость света w в одном плече будет
а прогнозируемая скорость в другом плече составит
Следовательно, свет, движущийся против течения воды, должен быть медленнее, чем свет, движущийся по направлению потока воды. Картина интерференции между двумя лучами, когда свет собирается у наблюдателя, зависит от времени прохождения по двум путям и может использоваться для расчёта скорости света как функции скорости воды[S 3].
Физо обнаружил, что
Другими словами, казалось, что вода увлекает свет, но величина увлечения была намного ниже, чем ожидалось.
Эксперимент Физо заставил физиков признать эмпирическую справедливость старой, теоретически неудовлетворительной теории Огюстена Жана Френеля (1818 год), которую использовали для объяснения эксперимента Араго 1810 года, а именно, что среда, движущаяся в неподвижном эфире, увлекает распространяющийся через него свет только частью от скорости среды, с коэффициентом увлечения f, определяемым
В 1895 году Хендрик Лоренц предсказал существование дополнительного члена из-за дисперсии[S 4]:15–20:
Поскольку среда течёт к наблюдателю или от него, свет, проходящий через среду, подвержен доплеровскому сдвигу, и показатель преломления, используемый в формуле, должен соответствовать длине волны со смещённым доплеровским сдвигом[P 5]. Зееман подтвердил существование дисперсионного члена Лоренца в 1915 году[P 6].
Позже выяснилось, что коэффициент увлечения Френеля согласуется с релятивистской формуле сложения скоростей, см. Раздел «Вывод в специальной теории относительности».
Повторение опыта

Альберт А. Майкельсон и Эдвард В. Морли (1886)[P 7] повторили эксперимент Физо с повышенной точностью, решив несколько проблем, связанных с первоначальным экспериментом Физо:
- деформация оптических компонент в аппарате Физо могла вызвать артефактное смещение полосы;
- наблюдения были поспешными, так как поток воды под давлением длился недолго;
- ламинарный профиль потока воды, протекающей через трубки малого диаметра, означал, что была доступна только их центральная часть, что приводило к появлению слабых полос;
- были неточности в определении Физо скорости потока по диаметру трубок.
Майкельсон модернизировал аппарат Физо с трубками большего диаметра и большим резервуаром, обеспечивающим непрерывный поток воды в течение трёх минут. Его конструкция интерферометра с общим оптическим путём обеспечивала автоматическую компенсацию длины пути, так что полосы белого света были видны сразу, как только оптические элементы были выровнены. Топологически световой путь представлял собой путь интерферометра Саньяка с чётным числом отражений в каждом световом пути[S 5]. Это давало чрезвычайно стабильные полосы, которые, в первую очередь, были совершенно нечувствительны к любому движению его оптических компонент. Стабильность была такой, что он мог вставить стеклянную пластину (h на рисунке 5) или даже держать зажжённую спичку на пути света, не смещая центр системы полос. Используя этот прибор, Майкельсон и Морли смогли полностью подтвердить результаты Физо не только в воде, но и в воздухе[P 7].
Другие эксперименты проводил Питер Зееман в 1914—1915 годах. Используя увеличенную версию аппарата Майкельсона, подключённого непосредственно к основному водопроводу Амстердама, Зееман смог выполнить расширенные измерения с использованием монохроматического света в диапазоне от фиолетового (4358 Å) до красного (6870 Å), чтобы подтвердить модифицированный коэффициент Лоренца[P 8][P 6]. В 1910 году Франц Харресс использовал вращающееся устройство и в целом подтвердил коэффициент увлечения Френеля. Однако он дополнительно обнаружил в данных «систематическую ошибку», которая позже оказалась эффектом Саньяка[S 6].
С тех пор было проведено множество экспериментов по измерению таких коэффициентов увлечения в различных материалах с различным показателем преломления, часто в сочетании с эффектом Саньяка[S 7] — например, в экспериментах с использованием кольцевых лазеров вместе с вращающимися дисками[P 9][P 10][P 11][P 12] или в нейтронных интерферометрических экспериментах[P 13][P 14][P 15]. Также наблюдался эффект поперечного увлечения, то есть когда среда движется под прямым углом к направлению падающего света[P 5][P 16].
Эксперимент Хука
Косвенное подтверждение коэффициента увлечения Френеля было предоставлено Мартином Хуком в 1868 году[P 17][S 8]. Его установка была похожа на установку Физо, хотя в его версии только одно плечо интерферометра содержало область, заполненную неподвижной водой, а другое плечо находилось в воздухе. С точки зрения наблюдателя, покоящегося в эфире, Земля и, следовательно, вода находятся в движении. Таким образом, Хук рассчитал следующие времена пробега двух световых лучей, движущихся в противоположных направлениях (без учёта поперечного направления, как на рисунке 6):
|
|
![]() Рисунок 6. Хук ожидал, что наблюдаемый спектр будет непрерывным, если прибор будет ориентирован поперёк эфирного ветра, и будет демонстрировать провалы при ориентации параллельно ветру. В реальном эксперименте он не наблюдал полос независимо от ориентации инструмента |
Времена прохождения не совпадают, что должно приводить к интерференционному сдвигу. Однако если коэффициент увлечения Френеля применяется к воде в эфирной системе отсчёта, разница во времени прохождения (до первого порядка по v/c) исчезает. Используя различные установки, Хук фактически получил нулевой результат, подтверждающий коэффициент увлечения Френеля. (Об аналогичном эксперименте, опровергающем возможность экранирования эфирного ветра, см. опыт Хаммара.)
В конкретной версии эксперимента, показанной на рисунке, Хук использовал призму P для разложения света из щели в спектр, который проходил через коллиматор C перед тем, как попасть в прибор. Когда устройство было ориентировано параллельно гипотетическому эфирному ветру, Хук ожидал, что свет в одном контуре будет задерживаться на 7/600 мм по отношению к другому. Там, где это замедление представляло собой целое число длин волн, он ожидал увидеть конструктивную интерференцию; там, где это замедление представляет собой полуцелое число длин волн, — деструктивную интерференцию. В отсутствие увлечения он ожидал, что наблюдаемый спектр будет непрерывным, если прибор будет ориентирован поперёк эфирного ветра, и будет связан с прибором, ориентированным параллельно эфирному ветру. Его фактические экспериментальные результаты были полностью отрицательными[P 17][S 8].
Полемика
Хотя гипотеза Френеля о частичном увлечении эфира оказалась эмпирически успешной в объяснении результатов опыта Физо, многие ведущие эксперты в этой области, включая самого Физо (1851), Элевера Маскара (1872), Кеттлера (1873), Вельтмана (1873) и Лоренца (1886), подвергали её большому сомнению. Гипотеза Френеля имеет шаткую теоретическую основу. Например, Велтманн (1870) продемонстрировал, что формула Френеля подразумевает, что эфир должен увлекаться на разную величину для разных длин волн света, поскольку показатель преломления зависит от длины волны; Маскарт (1872) продемонстрировал аналогичный результат для поляризованного света, проходящего через двулучепреломляющую среду. Другими словами, эфир должен быть способен поддерживать разные движения одновременно[S 9].
Недовольство Физо результатом собственного опыта легко прослеживается в заключении к его статье:
Мне кажется, что успех эксперимента делает необходимым принятие гипотезы Френеля или, по крайней мере, закона, который он нашёл для выражения изменения скорости света под действием движения тела; ибо хотя признание этого закона истинным может быть очень сильным доказательством в пользу гипотезы, следствием которой он является, возможно, концепция Френеля может показаться настолько экстраординарной, а в некоторых отношениях настолько трудной, чтобы признать, что всё же потребуются другие доказательства и глубокое исследование со стороны геометров, прежде чем принимать её как выражение реальных фактов дела[P 2].
Оригинальный текст (англ.)[показатьскрыть]The success of the experiment seems to me to render the adoption of Fresnel's hypothesis necessary, or at least the law which he found for the expression of the alteration of the velocity of light by the effect of motion of a body; for although that law being found true may be a very strong proof in favour of the hypothesis of which it is only a consequence, perhaps the conception of Fresnel may appear so extraordinary, and in some respects so difficult, to admit, that other proofs and a profound examination on the part of geometricians will still be necessary before adopting it as an expression of the real facts of the case.
Несмотря на неудовлетворённость большинства физиков гипотезой Френеля о частичном увлечении эфира, повторения и улучшения его эксперимента другими исследователями (см. разделы выше) подтвердили его результаты с высокой точностью.
Помимо проблем гипотезы частичного увлечения эфира, ещё одна серьёзная проблема возникла с экспериментом Майкельсона — Морли (1887). В теории Френеля эфир почти неподвижен, поэтому эксперимент должен был дать положительный результат. Однако результат этого эксперимента был отрицательным. Таким образом, с точки зрения моделей эфира того времени, экспериментальная ситуация была противоречивой: с одной стороны, аберрация света, эксперимент Физо и повторение опыта Майкельсоном и Морли в 1886 году, казалось, подтверждали частичное увлечение эфиром. С другой стороны, эксперимент Майкельсона — Морли 1887 года, казалось, доказал, что эфир находится в состоянии покоя по отношению к Земле, очевидно поддерживая идею полного увлечения эфира (см. Гипотезу увлечения эфира)[S 10]. Таким образом, сам успех гипотезы Френеля в объяснении результатов Физо привёл к теоретическому кризису, который не разрешился до появления специальной теории относительности[S 9].
Интерпретация Лоренца
В 1892 году Хендрик Лоренц предложил модификацию модели Френеля, в которой эфир полностью неподвижен. Ему удалось получить коэффициент увлечения Френеля как результат взаимодействия движущейся воды с эфиром, который не притягивается[S 10][S 11]:25–30. Он также обнаружил, что переход от одной системы отсчёта к другой можно упростить, используя вспомогательную временную переменную, которую он назвал местным временем[S 12]:
В 1895 году Лоренц более обобщённо объяснил коэффициент Френеля на основе концепции местного времени. Однако у теории Лоренца была та же фундаментальная проблема, что и у теории Френеля: неподвижный эфир противоречил эксперименту Майкельсона — Морли. Итак, в 1892 году Лоренц предположил, что движущиеся тела сжимаются в направлении движения (гипотеза сжатия Фитцджеральда — Лоренца, поскольку Джордж Фицджеральд уже пришёл к такому выводу в 1889 году). Уравнения, которые он использовал для описания этих эффектов, были развиты им до 1904 года. Теперь они называются преобразованиями Лоренца в его честь и идентичны по форме уравнениям, которые Эйнштейн позже вывел из первых принципов. Однако, в отличие от уравнений Эйнштейна, преобразования Лоренца были записаны только для решения конкретной проблемы, и их единственным оправданием было то, что они, казалось, работали[S 10][S 11]:27–30.
Вывод в специальной теории относительности
Эйнштейн показал, что уравнения Лоренца можно вывести как логическое следствие из двух простых исходных постулатов. Вдобавок Эйнштейн признал, что концепции стационарного эфира нет места в специальной теории относительности, и что преобразование Лоренца касается природы пространства и времени. Вместе с задачей о движении магнита и проводника, экспериментами с отрицательным дрейфом эфира и аберрацией света эксперимент Физо стал одним из ключевых экспериментальных результатов, которые сформировали представление Эйнштейна об относительности[S 13][S 14]. Роберт С. Шенкленд сообщил о некоторых разговорах с Эйнштейном, в которых Эйнштейн подчёркивал важность эксперимента Физо[S 15]:
Он продолжал говорить, что экспериментальные результаты, которые оказали на него наибольшее влияние, — это наблюдения звёздной аберрации и измерения Физо скорости света в движущейся воде. «Их было достаточно», — сказал он.
Оригинальный текст (англ.)[показатьскрыть]He continued to say the experimental results which had influenced him most were the observations of stellar aberration and Fizeau's measurements on the speed of light in moving water. "They were enough," he said.
Макс фон Лауэ (1907) продемонстрировал, что «коэффициент увлечения» Френеля можно легко объяснить как естественное следствие релятивистской формулы для сложения скоростей[S 16], а именно:
- Скорость света в неподвижной воде c/n .
- Из закона сложения скоростей следует, что скорость света, наблюдаемая в лаборатории, где вода течёт со скоростью v (в том же направлении, что и свет), равна
- Таким образом, разница в скорости (при условии, что v мало по сравнению с c, отбрасываются члены более высокого порядка)
- Это верно, когда v/c ≪ 1, и согласуется с формулой, основанной на измерениях Физо, которая удовлетворяет условию v/c ≪ 1.
Таким образом, эксперимент Физо согласуется с коллинеарным случаем формулы Эйнштейна для сложения скоростей[P 18].
Примечания
- Первичные источники
- Vakhtin, A. B.; Kane, D. J.; Wood, W. R.; Peterson, K. A. (2003). “Common-path interferometer for frequency-domain optical coherence tomography” (PDF). Applied Optics. 42 (34): 6953—6957. Bibcode:2003ApOpt..42.6953V. DOI:10.1364/AO.42.006953. PMID 14661810. Дата обращения 29 March 2012.
- Fizeau, H. (1851). “Sur les hypothèses relatives à l'éther lumineux”. Comptes Rendus. 33: 349—355.
- Fizeau, H. (1851). “The Hypotheses Relating to the Luminous Aether, and an Experiment which Appears to Demonstrate that the Motion of Bodies Alters the Velocity with which Light Propagates itself in their Interior”. Philosophical Magazine. 2: 568—573.
- Fizeau, H. (1859). “Sur les hypothèses relatives à l'éther lumineux”. Ann. Chim. Phys. 57: 385—404.
- Jones, R. V. (1972). “'Fresnel Aether Drag' in a Transversely Moving Medium”. Proceedings of the Royal Society A. 328 (1574): 337—352. Bibcode:1972RSPSA.328..337J. DOI:10.1098/rspa.1972.0081.
- Zeeman, Pieter (1915). “Fresnel's coefficient for light of different colours. (Second part)”. Proc. Kon. Acad. Van Weten. 18: 398—408. Bibcode:1915KNAB...18..398Z.
- Michelson, A. A.; Morley, E. W. (1886). “Influence of Motion of the Medium on the Velocity of Light”. Am. J. Sci. 31 (185): 377—386. Bibcode:1886AmJS...31..377M. DOI:10.2475/ajs.s3-31.185.377.
- Zeeman, Pieter (1914). “Fresnel's coefficient for light of different colours. (First part)”. Proc. Kon. Acad. Van Weten. 17: 445—451. Bibcode:1914KNAB...17..445Z.
- Macek, W. M. (1964). “Measurement of Fresnel Drag with the Ring Laser”. Journal of Applied Physics. 35 (8): 2556—2557. Bibcode:1964JAP....35.2556M. DOI:10.1063/1.1702908.
- Bilger, H. R.; Zavodny, A. T. (1972). “Fresnel Drag in a Ring Laser: Measurement of the Dispersive Term”. Physical Review A. 5 (2): 591—599. Bibcode:1972PhRvA...5..591B. DOI:10.1103/PhysRevA.5.591.
- Bilger, H. R.; Stowell, W. K. (1977). “Light drag in a ring laser – An improved determination of the drag coefficient”. Physical Review A. 16 (1): 313—319. Bibcode:1977PhRvA..16..313B. DOI:10.1103/PhysRevA.16.313.
- Sanders, G. A.; Ezekiel, Shaoul (1988). “Measurement of Fresnel drag in moving media using a ring-resonator technique”. Journal of the Optical Society of America B. 5 (3): 674—678. Bibcode:1988JOSAB...5..674S. DOI:10.1364/JOSAB.5.000674.
- Klein, A. G.; Opat, G. I.; Cimmino, A.; Zeilinger, A.; Treimer, W.; Gähler, R. (1981). “Neutron Propagation in Moving Matter: The Fizeau Experiment with Massive Particles”. Physical Review Letters. 46 (24): 1551—1554. Bibcode:1981PhRvL..46.1551K. DOI:10.1103/PhysRevLett.46.1551.
- Bonse, U.; Rumpf, A. (1986). “Interferometric measurement of neutron Fizeau effect”. Physical Review Letters. 56 (23): 2441—2444. Bibcode:1986PhRvL..56.2441B. DOI:10.1103/PhysRevLett.56.2441. PMID 10032993.
- Arif, M.; Kaiser, H.; Clothier, R.; Werner, S. A.; Hamilton, W. A.; Cimmino, A.; Klein, A. G. (1989). “Observation of a motion-induced phase shift of neutron de Broglie waves passing through matter near a nuclear resonance”. Physical Review A. 39 (3): 931—937. Bibcode:1989PhRvA..39..931A. DOI:10.1103/PhysRevA.39.931. PMID 9901325.
- Jones, R. V. (1975). “"Aether Drag" in a Transversely Moving Medium”. Proceedings of the Royal Society A. 345 (1642): 351—364. Bibcode:1975RSPSA.345..351J. DOI:10.1098/rspa.1975.0141.
- Hoek, M. (1868). “Determination de la vitesse avec laquelle est entrainée une onde lumineuse traversant un milieu en mouvement”. Verslagen en Mededeelingen. 2: 189—194.
- Laue, Max von (1907), Die Mitführung des Lichtes durch bewegte Körper nach dem Relativitätsprinzip, Annalen der Physik Т. 328 (10): 989–990, doi:10.1002/andp.19073281015, <https://zenodo.org/record/1424115>
Вторичные источники
- Степанов, Сергей Сергеевич. Теория и эксперимент. http://synset.com/ (2011). Дата обращения: 18 мая 2021.
- Mascart, Éleuthère Élie Nicolas. Traité d'optique. — Paris : Gauthier-Villars, 1889. — P. 101.
- Wood, Robert Williams. Physical Optics. — The Macmillan Company, 1905. — P. 514.
- Pauli, Wolfgang. Theory of Relativity. — New York : Dover, 1981. — ISBN 0-486-64152-X.
- Hariharan, P. Basics of Interferometry, 2nd edition. — Elsevier, 2007. — P. 19. — ISBN 978-0-12-373589-8.
- Anderson, R.; Bilger, H.R.; Stedman, G.E. (1994). “Sagnac effect: A century of Earth-rotated interferometers”. Am. J. Phys. 62 (11): 975—985. Bibcode:1994AmJPh..62..975A. DOI:10.1119/1.17656.
- Stedman, G. E. (1997). “Ring-laser tests of fundamental physics and geophysics”. Reports on Progress in Physics. 60 (6): 615—688. Bibcode:1997RPPh...60..615S. DOI:10.1088/0034-4885/60/6/001.; см. сс 631—634, и ссылки.
- Ferraro, Rafael. Hoek's experiment // Einstein's Space-Time: An Introduction to Special and General Relativity. — Springer, 2007. — P. 33–35. — ISBN 978-0-387-69946-2.
- Stachel, John. Fresnel's (dragging) coefficient as a challenge to 19th century optics of moving bodies // The universe of general relativity. — Birkhäuser, 2005. — P. 1—14. — ISBN 0-8176-4380-X.
- Janssen, Michel & Stachel, John (2010), The Optics and Electrodynamics of Moving Bodies, in John Stachel, Going Critical, Springer, ISBN 978-1-4020-1308-9
- Miller, A. I. Albert Einstein's special theory of relativity. Emergence (1905) and early interpretation (1905–1911). — Reading : Addison–Wesley, 1981. — ISBN 0-201-04679-2.
- Уиттекер, Э. История теории эфира и электричества. — Ижевск: НИЦ РХД, 2001. — С. 478.
- Lahaye, Thierry; Labastie, Pierre; Mathevet, Renaud (2012). “Fizeau's "aether-drag" experiment in the undergraduate laboratory”. American Journal of Physics. 80 (6): 497. arXiv:1201.0501. Bibcode:2012AmJPh..80..497L. DOI:10.1119/1.3690117.
- Norton, John D., John D. (2004), Einstein's Investigations of Galilean Covariant Electrodynamics prior to 1905, с. 45–105
- Shankland, R. S. (1963). “Conversations with Albert Einstein”. American Journal of Physics. 31 (1): 47—57. Bibcode:1963AmJPh..31...47S. DOI:10.1119/1.1969236.
- Mermin, N. David. It's about time: understanding Einstein's relativity. — Princeton University Press, 2005. — P. 39ff. — ISBN 0-691-12201-6.
Литература
- Физо опыт — статья из Большой советской энциклопедии.
- Столяров, С. Н. Физо опыт // Физическая энциклопедия : [в 5 т.] / Гл. ред. А. М. Прохоров. — М.: Большая российская энциклопедия, 1999. — Т. 5: Стробоскопические приборы — Яркость. — С. 322. — 692 с. — 20 000 экз. — ISBN 5-85270-101-7.
