Микропроцессорная секция
Микропроцессорная секция, аббревиатура МПС; также, многокристальный секционный микропроцессор — большая интегральная схема (БИС), предназначенная для обработки нескольких разрядов данных или выполнения определенных управляющих операций.

Секционность БИС микропроцессора определяет возможность наращивания разрядности обрабатываемых данных или усложнения устройств управления микропроцессором при параллельном включении большего числа БИС.
Местоположение МПС в классификации МП
Однокристальные микропроцессоры представляют собой реализацию всех аппаратных средств процессора в виде одной БИС/СБИС. Учитывая тот факт, что возможности однокристальных микропроцессоров ограничены аппаратными ресурсами кристалла и корпуса, получили распространение многокристальные микропроцессоры, а также многокристальные секционные микропроцессоры.
Многокристальный микропроцессор образуется путём разбиения логической структуры микропроцессора на функционально законченные части (деление «по горизонтали»), которые реализуются в виде БИС/СБИС. Функциональная законченность БИС многокристального микропроцессора означает, что его части выполняют заранее определенные функции и могут работать автономно, а для построения развитого процессора не требуется организации большого количества новых связей и каких-либо других электронных ИС БИС. (Пример — серия К581).
Микропроцессорная секция по сути является частью схемы процессора, получаемая при делении «по вертикали», что позволяет формировать систему необходимого уровня сложности (в простейшем случае — увеличить разрядность) из набора секций-элементов. Пример для построения готовых систем — К589ИК02 и К1804ВС1.
Однокристальные и трехкристальные БИС микропроцессоров обычно изготовляют на основе микроэлектронных технологий униполярных полупроводниковых приборов, а БИС МПС — на основе технологии биполярных полупроводниковых приборов.
Серии МПС, выпускаемые в СССР
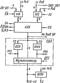
Функциональная схема МПС К1804ВС1
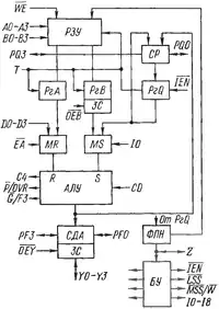
Функциональная схема МПС К1804ВС2
Структурная схема блока АЛУ К1804ВС2
Схема ускоренного переноса К1804ВР1
Пример включения схемы ускоренного переноса в МПС К1804
Пример наращивания разрядности МПС
КМ581
n-МОП
- КМ581РУ4 — динамическое ОЗУ 16Кx1; 375 нс,
- КМ581РУ4А — динамическое ОЗУ 16Кx1; 510 нс,
- КМ581РУ5Б — статическое ОЗУ 2Кx8; 120 нс,
- КМ581РУ5В — статическое ОЗУ 2Кx8; 150 нс,
- КМ581РУ5Г — статическое ОЗУ 2Кx8; 200 нс.
КР581
n-МОП 16-разрядный микропроцессорный набор:
- КР581ВА1А — универсальный асинхронный приемопередатчик со скоростью 30000 бит/с
- КР581ВА1Б — универсальный асинхронный приемопередатчик со скоростью 12000 бит/с
- КР581ВЕ1 — однокристальная микроЭВМ
- КР581ИК1 — регистровое АЛУ (26 регистров общего назначения), аналог CP1611
- КР581ИК1А — регистровое АЛУ (26 регистров общего назначения)
- КР581ИК2 — схема управления выполнением операций, аналог CP1621
- КР581ИК2А — схема управления выполнением операций
- КР581РУ1 — микропрограммное ЗУ для реализации стандартного набора команд
- КР581РУ1А — микропрограммное ЗУ для реализации стандартного набора команд
- КР581РУ2 — ЗУ микрокоманд управления выполнением операций, аналог CP1631
- КР581РУ2А — ЗУ микрокоманд управления выполнением операций
- КР581РУ3 — микропрограммное ЗУ для расширенной арифметики с плавающей точкой
- КР581РУ3А — микропрограммное ЗУ для расширенной арифметики с плавающей точкой
- КР581РУ4 — динамическое ОЗУ 16Кx1; 375 нс
- КР581РУ4А — динамическое ОЗУ 16Кx1; 510 нс
КС581
n-МОП
- КС581РУ4 — динамическое ОЗУ 16Кx1; 375 нс,
- КС581РУ4А — динамическое ОЗУ 16Кx1; 510 нс.
КР582
ИИЛ 4-разрядный микропроцессорный набор с временем цикла 1 мкс и униполярным питанием +5 В
- КР582ИК1 — микропроцессор параллельный,
- КР582ИК2 — микропроцессор параллельный.
К583
ТТЛШ-ИИЛ 8-разрядный микропроцессорный набор с временем цикла 1 мкс и униполярным питанием +5В:
- К583ВА1 — магистральный приемопередатчик с памятью,
- К583ВА2 — магистральный приемопередатчик,
- К583ВА3 — 8-разрядный универсальный магистральный коммутатор с ТС,
- К583ВГ1 — контроллер синхронизации,
- К583ВГ2 — контролер предварительной обработки информации,
- К583ВМ1А — логический процессор (многорежимный буфер),
- К583ВМ1Б — логический процессор (многорежимный буфер),
- К583ВМ1Г — логический процессор (многорежимный буфер),
- К583ВМ1Д — логический процессор (многорежимный буфер),
- К583ВС1А — универсальная МПС,
- К583ВС1Б — универсальная МПС,
- К583ВС1Г — универсальная МПС,
- К583ВС1Д — универсальная МПС,
- К583ВС2 — умножитель,
- К583ВС3 — адресный микропроцессор,
- К583ВС4 — универсальная МПС,
- К583ИК1А — инкрементный процессор,
- К583ИК1Б — инкрементный процессор,
- К583ИК1Г — инкрементный процессор,
- К583ИК1Д — инкрементный процессор,
- К583КП1А — коммутационный процессор,
- К583КП1Б — коммутационный процессор,
- К583КП1Г — коммутационный процессор,
- К583КП1Д — коммутационный процессор,
- К583ХЛ1А — многофункциональный магистральный коммутатор,
- К583ХЛ1Г — многофункциональный магистральный коммутатор.
КР583
ТТЛШ-И2Л 8-разрядный микропроцессорный набор с циклом 1 мкс и униполярным питанием +5 В:
- КР583ВА1 — магистральный приемопередатчик с памятью,
- КР583ВА2 — магистральный приемопередатчик,
- КР583ВМ1 — логический процессор (многорежимный буфер),
- КР583ВС1А — универсальная МПС,
- КР583ВС1Б — универсальная МПС,
- КР583ВС1Г — универсальная МПС,
- КР583ВС1Д — универсальная МРС,
- КР583ИК1 — инкрементный процессор,
- КР583КП1 — коммутационный процессор,
- КР583КП2 — магистральный приемопередатчик с памятью,
- КР583РА1А — ассоциативное ЗУ 16×8; 200 нс,
- КР583РА1Б — ассоциативное ЗУ 16×8,
- КР583ХЛ1 — многофункциональный магистральный коммутатор.
К584
И2Л 4-разрядный микропроцессорный набор с циклом 2 мкс и униполярным питанием +5 В:
- К584ВМ1 — 4-разрядная МПС.
- К584ВУ1 — схема микропрограммного управления,
- К584ВГ1 — контроллер состояний,
- К584КП1 — магистральный приемопередатчик.
КР584
И2Л 4-разрядный микропроцессорный набор с циклом 2 мкс и униполярным питанием +5 В:
- КР584ВМ1А — 4-разрядная МПС,
- КР584ВМ1Б — 4-разрядная МПС,
- КР584ВМ1В — 4-разрядная МПС,
- КР584ВУ1 — схема микропрограммного управления.
- КР584ВГ1 — контроллер состояний,
- КР584КП1 — магистральный приемопередатчик.
К586
n-МОП 16-разрядный микропроцессорный набор для ЭВМ «Электроника С5» и униполярным питанием +5 В:
- К586ВВ1 — 8-разрядное устройство ввода-вывода,
- К586ВМ1 — 16-разрядный микропроцессор,
- К586РЕ1 — ПЗУ 1Кx16; 350нс,
- К586РУ1 — статическое ОЗУ 256×4; 2нс.
КР587
КМОП 4-разрядный помехоустойчивый наращиваемый микропроцессорный набор и униполярным питанием +9 В:
- КР587ИК1 — устройство обмена информацией.
КР588[1]
- КР588ВА1 — 8-разрядный магистральный приёмо-передатчик,
- КР588ВА4 — асинхронный адаптер дистанционной связи,
- КР588ВГ1, КР588ВГ1А — системный контроллер,
- КР588ВГ2 — контроллер запоминающего устройства,
- КР588ВР2, КР588ВР2А — арифметический умножитель 16 × 16,
- КР588ВС1А, КР588ВС1Б, КР588ВС1В, КР588ВС1Г, КР588ВС1Д, КР588ВС1Е — АЛУ
- КР588ВС2А, КР588ВС2Б, КР588ВС2В — 16-разрядное АЛУ,
- КР588ВТ1 — селектор адреса,
- КР588ВУ1А, КР588ВУ2А, КР588ВУ2Б — управляющая память (микрокод),
- КР588ИР1 — многофункциональный буферный регистр,
- КР588РЕ1 — ПЗУ 4096 × 16 бит.
К588
- К588ВТ1 — селектор адреса
К1800
ЭСЛ 4-разрядный наращиваемый микропроцессорный набор с временем цикла 10 нс:
- К1800ВА4 — двунаправленный транслятор ЭСЛ-ТТЛ,
- К1800ВА7 — двунаправленный магистральный транслятор,
- К1800ВБ2 — схема синхронизации,
- К1800ВР1 — 8-разрядный умножитель,
- К1800ВР8 — программируемый 16-разрядный сдвигатель,
- К1800ВC1 — наращиваемое 4-разрядное АЛУ,
- К1800ВТ3 — схема управления оперативной памятью,
- К1800ВУ1 — микропрограммное управление,
- К1800РП6 — двухадресная память.
КР1800
- КР1800ВБ2 — схема синхронизации.
К1801
n-МОП 16-разрядный микропроцессорный набор с временем цикла 2 мкс и униполярным питанием +5В:
- К1801ВМ1А — 16-разрядный микропроцессор,
- К1801ВМ1Б — 16-разрядный микропроцессор,
- К1801ВМ1В — 16-разрядный микропроцессор,
- К1801ВМ1Г — 16-разрядный микропроцессор,
- К1801РЕ1А — ПЗУ 4Кx16; 0,4мкс; 130 мВт,
- К1801РЕ1Б — ПЗУ 4Кx16; 0,5мкс; 130мВт.
КМ1801
n-МОП 16-разрядный микропроцессорный набор с временем цикла 2 мкс и униполярным питанием +5В:
- КМ1801ВМ2А — процессор повышенной производительности,
- КМ1801ВМ2Б — процессор повышенной производительности.
КР1801
n-МОП 16-разрядный микропроцессорный набор с временем цикла 2 мкс и униполярным питанием +5В
- КР1801ВМ1А — 16-разрядный микропроцессор,
- КР1801ВМ1Б — 16-разрядный микропроцессор,
- КР1801ВМ1В — 16-разрядный микропроцессор,
- КР1801ВП1 — универсальная вентильная матрица,
- КР1801РЕ2А — ПЗУ 4Кx16; 300 нс; 300 мВт,
- КР1801РЕ2Б — ПЗУ 4Кx16; 400 нс; 300мВт.
КМ1802
ТТЛШ 8-разрядный наращиваемый микропроцессорный набор с временем цикла 0,15 мкс и униполярным питанием +5 В
- КМ1802ВР4 — 12-разрядный параллельный быстрый умножитель,
- КМ1802ВР5 — 16-разрядный параллельный быстрый умножитель.
КР1802
ТТЛШ 8-разрядный наращиваемый микропроцессорный набор с временем цикла 0,15 мкс и униполярным питанием +5 В
- КР1802ВВ1 — схема обмена информацией,
- КР1802ВВ2 — интерфейс,
- КР1802ВР1 — арифметический расширитель (сдвигатель на 16 разрядов),
- КР1802ВР2 — схема умножения 8×8 (последовательный умножитель),
- КР1802ВР3 — 8-разрядный параллельный умножитель,
- КР1802ВС1 — МПС,
- КР1802ИМ1 — 4-входовый сумматор,
- КР1802ИР1 — двухадресный регистр общего назначения, 16×4.
КМ1804
ТТЛШ 4-разрядный наращиваемый микропроцессорный набор с временем цикла 0,11 мкс и униполярным питанием +5 В
- КМ1804ВА1 — 4-разрядный магистральный приемопередатчик с буферной памятью и ОК,
- КМ1804ВА2 — 4-разрядный магистральный приемопередатчик (буферный регистр),
- КМ1804ВА3 — 4-разрядный магистральный приемопередатчик с интерфейсной логикой,
- КМ1804ВЖ1 — 16-разрядная схема обнаружения и коррекции ошибок,
- КМ1804ВН1 — схема векторного приоритетного прерывания,
- КМ1804ВР1 — схема ускоренного переноса,
- КМ1804ВР2 — схема управления состоянием и сдвигами,
- КМ1804ВР3 — расширитель приоритетного прерывания (управляемый шифратор),
- КМ1804ВС1 — 4-разрядная МПС,
- КМ1804ВС2 — 4-разрядная МПС с расширенными возможностями,
- КМ1804ВУ1 — схема управления адресом микрокоманды,
- КМ1804ВУ2 — схема управления адресом микрокоманды,
- КМ1804ВУ4 — схема управления состоянием и сдвигами,
- КМ1804ВУ5 — схема управления адресом программной памяти,
- КМ1804ВУ7 — схема управления прямым доступом к памяти,
- КМ1804ГГ1 — системный генератор тактовых импульсов,
- КМ1804ИР1 — 4-разрядный параллельный регистр с ТС,
- КМ1804ИР3 — 8-разрядный параллельный двунаправленный регистр.
КР1804
ТТЛШ 4-разрядный наращиваемый микропроцессорный набор с временем цикла 0,11 мкс и униполярным питанием +5 В:
- КР1804ВА1 — 4-разрядный магистральный приемопередатчик с буферной памятью и ОК,
- КР1804ВА2 — 4-разрядный магистральный приемопередатчик (буферный регистр),
- КР1804ВА3 — 4-разрядный магистральный приемопередатчик с интерфейсной логикой,
- КР1804ВН1 — схема векторного приоритетного прерывания,
- КР1804ВР2 — схема управления состоянием и сдвигами,
- КР1804ВР3 — расширитель приоритетного прерывания (управляемый шифратор),
- КР1804ВС1 — 4-разрядная микропроцессорная секция,
- КР1804ВТ1 — схема управления ОЗУ,
- КР1804ВТ2 — схема управления памятью с инвертированием,
- КР1804ВТ3 — схема управления памятью без инвертирования,
- КР1804ВУ1 — схема управления адресом микрокоманды
- КР1804ВУ2 — схема управления адресом микрокоманды,
- КР1804ВУ4 — схема управления состоянием и сдвигами,
- КР1804ГГ1 — системный генератор тактовых импульсов.
КС1804
ТТЛШ 4-разрядный наращиваемый микропроцессорный набор с временем цикла 0,11 мкс и униполярным питанием +5В
- КС1804ВА1 — 4-разрядный магистральный приемопередатчик с буферной памятью и ОК,
- КС1804ВА3 — 4-разрядный магистральный приемопередатчик с интерфейсной логикой,
- КС1804ВР1 — Схема ускоренного переноса,
- КС1804ВУ1 — Схема управления адресом микрокоманды,
- КС1804ВУ3 — Схема управления выбором следующего адреса,
- КС1804ГГ1 — Системный генератор тактовых импульсов,
- КС1804ИР1 — 4-разрядный параллельный регистр с ТС.
К1809
n-МОП 16-разрядный микропроцессорный набор с производительностью 550 000 опер./с и униполярным питанием +5В:
- К1809ВВ1 — устройство ввода-вывода,
- К1809ВВ2 — системный адаптер последовательного канала,
- К1809ВГ1 — контроллер магнитофона,
- К1809ВГ2 — контроллер магнитофона,
- К1809ВГ3 — контроллер телевизора,
- К1809РЕ1 — ПЗУ 4Кx16; 300 нс,
- К1809РУ1А — ОЗУ 1Кx16 со встроенным интерфейсом; 200 нс,
- К1809РУ1Б — ОЗУ 1Кx16 со встроенным интерфейсом; 325 нс.
Литература
- В.Л. Горбунов, Д.И. Памфилов, Д.Л. Преснухин. Микропроцессоры. 04. Основы построения микро-ЭВМ / под ред. Л.Н. Преснухина. — М.: Высшая школа, 1984. — К580, К589, К587 и К588
- А. В. Бесекерский, Ефимов Н. Б., Зиатдинов С. И. и др. 4.3 Области применения и состав микропроцессорного комплекта К1804 // Микропроцессорные системы автоматического управления. — М.: «Машиностроение», 1988. — ISBN 5-217-00176-3.
- Нефедов А. В, Савченко А. М., Феоктистов Ю. Ф. Под редакцией Широкова Ю. Ф. Раздел 3. Цифровые интегральные микросхемы и их электрические параметры // Зарубежные интегральные микросхемы для промышленной электронной аппаратуры: Справочник. — М.: Энергоатомиздат, 1989. — 288 с. — ISBN 5-283-01540-8.
- Под ред. Шахнова В.А.,. Микропроцессоры и микропроцессорные комплекты интегральных микросхем. Справочник. В двух томах. Том 1.. — М.: «Радио и Связь», 1988. — 368 с. — ISBN 5-256-00372-0.
- Под ред. Шахнова В.А.,. Микропроцессоры и микропроцессорные комплекты интегральных микросхем. Справочник. В двух томах. Том 2.. — М.: «Радио и Связь», 1988. — 368 с. — ISBN 5-256-00373-9.
- Борисов В. С., Власов Ф. С., Сержанович Д. С., Сухопаров А. И. Микропроцессорные комплекты БИС на основе интегральной инжекционной логики / Под редакцией Калошкина Э. П.. — М.: «Радио и Связь», 1984. — 246 с.