Иконоскоп
Иконоскоп — первая электронная передающая телевизионная трубка с накоплением заряда. Изобретена и запатентована в 1929−1931 годах инженером телесвязи В. К. Зворыкиным, работавшим в это время в американской компании RCA. В основе работы иконоскопа лежат явления внешнего фотоэффекта и накопления зарядов.
Советские источники приписывают изобретение иконоскопа С. И. Катаеву, который подал заявку на полтора месяца раньше Зворыкина[1]. В действительности первые работающие экспериментальные образцы иконоскопов были созданы Зворыкиным ещё до 1930 года, а первые опыты по электронному получению и передаче изображений происходили ещё в 1911 году под руководством Б. Л. Розинга в Санкт-Петербурге.

Устройство
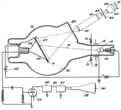
Иконоскоп состоит из вакуумной стеклянной колбы, в которой укреплена светочувствительная мишень, на которую объективом проецируется изображение; приваренной к колбе под углом электронной пушки, размещённой сбоку или снизу от объектива; систем, отклоняющих и фокусирующих электронный луч.
Светочувствительная мишень состоит из очень тонкой пластины изолятора (обычно, слюды) и нанесённых с обеих сторон покрытий. Со светочувствительной стороны покрытие состоит из очень мелких (десятки микрон) иррегулярных серебряных капель, покрытых цезием для увеличения светочувствительности, с другой — сплошное тонкое серебряное покрытие, с которого снимается выходной сигнал.
При освещении мишени под действием фотоэффекта капельки серебра приобретают положительный заряд, пропорциональный освещённости. Выбитые из мишени электроны оседают на втором аноде. Затем, при сканировании мишени электронным лучом происходит заряд всех капелек до одного потенциала, не зависящего от освещённости. При этом капелька является одной обкладкой конденсатора, второй обкладкой которого является сплошной серебряный слой на обратной стороне мишени. Таким образом, перезарядка этого конденсатора электронным лучом порождает ток, величина которого зависит от заряда, обусловленного фотоэффектом, тех капелек, которые в данный момент сканируются. Время накопления заряда между проходами электронного луча примерно в полмиллиона раз превышает время считывания.
Иконоскоп был прибором, который впервые позволил реализовать чисто электронное телевидение без механических развёртывающих элементов. Он позволил в сотни раз (с 30×40 до 300×400, а позднее и 1000×1000 элементов) увеличить количество элементов в телевизионном изображении.
Предшествующие конструкции
Строго говоря, первой передающей электронной трубкой был диссектор, изобретённый в 1926 году. В отличие от иконоскопа, в нём не использовалось накопление зарядов, поэтому чувствительность диссектора была недостаточна для съёмки реальных объектов — лишь для передачи кинофильмов или сканирования документов. Впрочем, иконоскоп и тут превосходил диссектор.
Недостатки иконоскопа
- Низкая чувствительность — из-за использования внешнего фотоэффекта и попадания части светового потока между элементами мишени на нечувствительные участки для телесъёмки требовалась освещённость около 10 000 люкс.
- Трапецеидальные искажения — из-за того, что ось электронно-лучевой трубки не совпадала с оптической осью, расстояние от центра отклонения до верхнего и нижнего краёв мишени не совпадало, и приходилось корректировать отклоняющие токи для получения неискажённого изображения
- Эффект «чёрного пятна» — не все выбитые электроны долетали до второго анода электронно-лучевой пушки, часть оседала в середине мишени, снижая её эффективность.
Значение
Несмотря на недостатки, изобретение иконоскопа и внедрение его в практику телевидения было настоящей революцией, позволившей телевидению из чисто экспериментального направления стать продуктом массового потребления. Однако, со временем иконоскопы были вытеснены более совершенными трубками, вначале также на внешнем фотоэффекте (суперортикон), а затем и на внутреннем (видикон и др.). Лишь в 1990-е годы вакуумные передающие трубки были вытеснены твердотельными устройствами с зарядовой связью (CCD — charge coupled devices, русский термин ПЗС), которые повсеместно применяются сейчас для получения изображений.
Примечания
Литература
- Круссер, Б. В., & Рыфтин, Я. А. (1935). Иконоскоп типа Зворыкина.
- Ушаков, М. А. (1959). Способ компенсации черного пятна в телевизионных передающих трубках типа иконоскоп, иконоскоп с переносом изображения и видикон.
- ГРЕБЕНИК Г. В. ИСТОРИЯ РАЗВИТИЯ ТЕЛЕВИЗИОННОГО ВЕЩАНИЯ ВО ВЛАДИМИРСКОЙ ОБЛАСТИ //Дни науки студентов Владимирского государственного университета имени Александра Григорьевича и Николая Григорьевича Столетовых. — 2018. — С. 69-73.
- Чернышев А. А. 2. Отечественные ученые и специалисты—изобретатели и конструкторы телевизионных передающих трубок.
- Нараев В. Н. и др. САНКТ-ПЕТЕРБУРГСКИЙ ГОСУДАРСТВЕННЫЙ ТЕХНОЛОГИЧЕСКИЙ ИНСТИТУТ И ТЕЛЕВИДЕНИЕ-ОТ БЛ РОЗИНГА ДО НАШИХ ДНЕЙ //Известия Санкт-Петербургского государственного технологического института (технического университета). — 2019. — №. 49. — С. 142—144.
- Константинова А. П. Вклад ВК Зворыкина и АП Константинова в развитие электронного телевидения.
- Иконоскоп / В. И. Баранов. // Ива — Италики. — М. : Советская энциклопедия, 1972. — (Большая советская энциклопедия : [в 30 т.] / гл. ред. А. М. Прохоров ; 1969—1978, т. 10).
