Детали швейных изделий
Здесь приведены термины и определения деталей швейных изделий (одежды, головных уборов и бельевых изделий (нательного, постельного и столового белья[1])).
Швейное изделие — изделие, изготовленное в условиях швейного производства из всех видов материалов, предназначенных для одежды и бельевых изделий[1].
Деталь швейного изделия — часть швейного изделия, цельная или составная[2].
Узел швейного изделия — часть швейного изделия, состоящая из нескольких деталей[2].
Б
Бант — деталь швейного изделия для его декоративного оформления в виде ленты, завязанной в несколько петель[2].

Баска — деталь швейного изделия в виде расклешённой полосы материала для декоративного оформления изделия по линии талии, пришиваемая или съёмная[2].

39 — Накладка
Бейка — деталь швейного изделия для его декоративного оформления в виде одинарной или сложенной вдвое полоски материала, втачиваемая между деталями или настрачиваемая на них[2] (рис.).
Бочок — часть переда и (или) спинки, покрывающая боковую поверхность туловища[2].
Бретель — деталь швейного изделия для поддерживания его на плечах[2].

В
Вешалка — деталь швейного изделия из материалов или ленты для его подвешивания[2].

Волан — деталь швейного изделия для его декоративного оформления в виде широкой полосы материала, соединённой с изделием по краю одной продольной стороны, конструкция которой обеспечивает образование волнообразного края[2].

Воротник — деталь или узел швейного изделия для обработки и оформления выреза горловины.
- Примечание. Воротник может состоять из верхнего и нижнего воротника[2].

10 — Стойка воротника
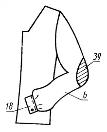
Вставка — деталь или узел швейного изделия для его декоративного оформления[2].

46 — Петля
Г

Галстук — деталь швейного изделия для его декоративного оформления в виде широкой ленты, завязываемой узлом под воротником со свободно выпущенными концами[2].

Гульфик — деталь швейного изделия для обработки потайной застёжки передней части половины брюк, предназначенная для петель, молнии, кнопок, текстильной застёжки[2].
Ж
Жабо — деталь швейного изделия из лёгких материалов или кружев для декоративного оформления его у воротника со сборками или складками[2].

К
Капюшон — притачная или съёмная деталь или узел швейного изделия, покрывающая голову и прикрепляемая по линии горловины[2].
Карман — деталь или узел швейного изделия для хранения мелких предметов и декоративного оформления изделия.
- Примечание. Карман может быть прорезной, накладной и т. д.[2]
Клапан — деталь кармана для обработки линии разреза или являющаяся элементом декоративного оформления изделия[2] (рис.).
Кокетка — деталь или узел верхней части переда, спинки, рукава, а также юбки и брюк[2].

Кулиска — деталь швейного изделия в виде полоски материала для оформления стяжки его в различных местах[2].
Л
Лея — деталь швейного изделия из подкладочного материала, покрывающая с изнаночной стороны брюк место соединения среднего шва брюк с шаговым[2].
Листочка — деталь кармана для обработки линии разреза, закреплённая по боковым сторонам, или являющаяся элементом декоративного оформления изделия[2] (рис.).
Н
Нагрудник — деталь швейного изделия, покрывающая часть туловища в области груди[2].

Накладка — деталь или узел швейного изделия для повышения износоустойчивости и (или) защитных свойств отдельных мест изделия, а также для его декоративного оформления[2] (рис. 1, рис. 2).
О
Оборка — деталь швейного изделия в виде полосы материала, собранной с одной стороны в сборку или складку и соединённой собранным краем с изделием для его декоративного оформления[2].

32 — Бейка
Обтачка — деталь швейного изделия для обработки срезов или застёжки[2].

31 — Долевик
Откосок — деталь швейного изделия для обработки потайной застёжки передней части половины брюк, предназначенная для пришивания пуговиц, молнии, кнопок, текстильной застёжки[2] (рис.).
Отлёт воротника — отгибающаяся часть воротника, расположенная выше верхней линии стойки воротника[2].
П
Пата — деталь швейного изделия для его декоративного оформления, настроченная или втачанная одним концом в шов[2].

Пе́ред — основная передняя деталь швейного изделия, цельновыкроенная или состоящая из частей[2].

Петля — навесная деталь швейного изделия, предназначенная для его застёгивания[2] (рис.).
Планка — деталь швейного изделия в виде полоски материала для обработки и декоративного оформления краёв застёжки[2].

Плечевая накладка — накладка для придания формы плечевой части швейного изделия[2].

Погон — деталь или узел швейного изделия в виде полосы, прикреплённой к изделию в области плеча для его декоративного оформления[2].

Подборт — деталь швейного изделия для обработки краёв разреза переда[2].

Подзакрепка — деталь швейного изделия, предохраняющая место соединения среднего шва брюк с шаговым от растяжения[2].

Подзор — деталь кармана, закрывающая подкладку кармана в месте его отверстия[2].
Подкладка — деталь или узел швейного изделия для оформления его с изнаночной стороны[2].
Половина брюк — деталь швейного изделия, левая и правая, покрывающая нижнюю часть туловища и ногу.
- Примечание. Половина брюк может состоять из передней и задней частей[2].
Полотнище юбки — деталь швейного изделия, передняя и (или) задняя, покрывающая часть туловища и ног[2].
Пояс — деталь швейного изделия для фиксации его на фигуре человека и (или) декоративного оформления[2].

Прокладка — деталь или узел швейного изделия для придания устойчивости формы или теплозащитных свойств, расположенные между верхним и нижним слоями материалов[2].
Р
Рукав — деталь или узел швейного изделия, покрывающие руку.
- Примечание. Рукав может быть различной длины, одношовный, двухшовный или трёхшовный, втачной, реглан, цельновыкроенный со спинкой, передом, кокеткой, состоящий из верхней, нижней, задней и (или) передней части[2].
Рюш — деталь швейного изделия для его декоративного оформления в виде полосы материала с обработанными краями по двум, трём или четырём сторонам с образованием сборок или складок посередине[2].

С
Спинка — основная задняя деталь швейного изделия, цельновыкроенная или состоящая из частей[2].

Стойка воротника — вертикально расположенная часть воротника, оформляющая отгибающуюся часть воротника[2] (рис.).
Х
Хлястик — деталь швейного изделия, служащая для регулирования степени его прилегания или декоративного оформления[2].

Ч
Чашка — деталь швейного изделия, покрывающая грудную железу[2].
Ш
Шлёвка — деталь швейного изделия для продевания и удерживания пояса, ремня, погона или хлястика в определённом положении[2].

Штрипка — деталь швейного изделия в виде полоски материала, прикрепляемая к нижней части брюк для удерживания их в натянутом положении[2].

Детали головных уборов
Бортик — деталь головного убора, цельновыкроенная или состоящая из частей, оформляющая нижний край головки и прилегающая к ней[2].
Головка — деталь или узел головного убора, состоящие из клиньев, донышка и стенок или цельновыкроенные[2].
Донышко — деталь головки, цельновыкроенная или состоящая из частей, покрывающая макушечную часть головы[2].
Козырёк — деталь или узел головного убора для оформления передней части головки.
- Примечание. Козырёк может состоять из верхнего и нижнего козырька[2].
Налобник — деталь головного убора для оформления изделия с изнаночной стороны по всей внутренней окружности[2].
Наушник — деталь головного убора, закрывающая уши и затылок[2].
Поля — горизонтально или наклонно расположенная деталь головного убора, оформляющая нижний край головки[2].
Стенка — деталь головки, цельновыкроенная или состоящая из частей, покрывающая боковую часть головы[2].
Примечания
- ГОСТ 17037-85 (СТ СЭВ 4827-84) — Изделия швейные и трикотажные. Термины и определения.
- ГОСТ 22977-89 (СТ СЭВ 6484-88) — Детали швейных изделий. Термины и определения.

