Гидротермальный изумруд
Гидротермальный изумруд или выращенный изумруд (также известный как синтетический изумруд, лабораторно выращенный изумруд и russian emerald) — изумруд, полученный в результате процесса гидротермального синтеза. От натуральных изумрудов, образовавшихся в результате геологических процессов, отличается абсолютно невозможной для природного изумруда чистотой и наличием свилеватости.
| Гидротермальный изумруд | |
|---|---|
![]() Кристаллы изумруда | |
| Формула | Be3Al2Si6O18 |
| Примесь | Fe2O3, V2O3, Cr2O3 |
| Физические свойства | |
| Цвет | Тёмно-зелёный, сине-зелёный |
| Цвет черты | Белый |
| Блеск | Стеклянный |
| Прозрачность | Прозрачный, полупрозрачный |
| Твёрдость | 7,5—8,0 по шкале Мооса |
| Спайность | Несовершенная |
| Излом | Раковистый, неровный |
| Плотность | 2,69—2,78 г/см³ |
| Кристаллографические свойства | |
| Сингония | Гексагональная |
| Оптические свойства | |
| Показатель преломления |
nω = 1,564—1,595, nε = 1,568—1,602 |
История гидротермального изумруда
Изумруд – второй драгоценный камень, выращенный искусственно (первыми были кристаллы рубина, выращенные в конце XIX века французскими химиками Э. Фреми и О. Вернейлем из расплава Al2O3 с примесью Cr2O3). Как и в случае рубина, стимулом для выращивания синтетического изумруда являлась чрезвычайно высокая цена качественного природного материала.
История синтетического изумруда весьма запутана – очень часто кристаллы, методика выращивания которых была разработана одним (подчас, анонимным) исследователем, начинали выращиваться самыми разными фирмами. Установленным фактом являются данные о том, что первый изумруд ювелирного качества был выращен в начале 30-х годов XX века на немецком химическом гиганте ИГ Фарбениндустри и получил коммерческое название «игмеральд». Из анализа этих изумрудов можно заключить, что рост кристаллов, по-видимому, осуществлялся в платиновых тиглях при температурах выше 1000˚С из раствора в расплаве соли Li2MoO4.
Позднее эта технология (в так или иначе модифицированном виде) разошлась по миру, став основой нескольких производств искусственных драгоценных камней – фирмы Наккен, Жильсон, Линде, Чатэм и ряд других. Основатель одной из них, К. Чатэм, во второй половине XX века даже ввел для таких кристаллов специальный термин «созданные драгоценные камни» («created gems»). Под этим термином имеется в виду, что кристалл вырос в условиях, полностью аналогичных природным процессам, но реализованных человеком. В результате и сам кристалл аналогичен природным.
Заметим, что К. Чатэм, применяя термин «created gems» к своему изумруду несколько слукавил. Дело в том, что в природе кристаллы изумруда растут не из расплава, а из гидротермальных растворов, т.е. в природе и в лаборатории реализуются принципиально разные процессы и условия роста. Различия процессов отражаются и в различиях продуктов (кристаллах изумруда) природных и лабораторных: природные изумруды содержат в своем составе примесь воды, захваченной из гидротермального раствора, молекулы которой располагаются в полостях кристаллической структуры; выросшие из расплава кристаллы, напротив, свободны от примеси воды. Последнее выражается в том, что природные изумруды в сравнении с изумрудами Чатэма обладают более высокими значениями плотности, показателем преломления и двулучепреломлением.
Сказанное делает понятным попытки осуществления гидротермального ростового процесса для получения кристаллов изумруда, к которому в полной мере можно было бы применить термин «created gems». Эти попытки привели к положительным результатам в США и СССР. Первой результатов добилась американская исследовательница Э. Фланиген в 60-х годах ХХ века, сумевшая вырастить кристаллы изумруда из гидротермальных высококонцентрированных растворов NH4Cl при температурах ~500˚С и давлениях около 1000 атм. К сожалению, процесс синтеза достаточно быстро затухал, из-за чего для получения крупных кристаллов приходилось «пересаживать» выросшие изумруды в другой автоклав и повторять ростовой процесс. По-видимому, именно этот процесс был реализован в австрийской компании Лехлейтнер.
В СССР работы в этом направлении велись в Москве (Институт Кристаллографии АН СССР) и в Новосибирске (Институт Геологии и Геофизики СО АН СССР). Если работы московских исследователей были достаточно быстро прекращены, то группа молодых Новосибирских ученых А. Лебедева, А. Ильина, Д. Фурсенко (все выпускники Геолого-Геофизического Факультета Новосибирского Государственного Университета), под руководством зав. лабораторией гидротермального роста кристаллов В. Кляхина в начале 70-х годов ХХ века смогла решить поставленную задачу – осуществить стабильный рост кристаллов изумруда из гидротермальных растворов. Позднее в 80-ых к ним присоединились выпускники того же факультета В. Томас, И. Фурсенко, В. Мальцев и С. Дёмин.

С момента выращивания первого кристалла гидротермального изумруда в Институте Геологии и Геофизики технология ростового процесса постоянно совершенствовалась. Основные работы в этом направлении были ориентированы на:
а) усиление насыщенности цвета гидротермального изумруда;
б) увеличение равномерности окраски кристаллов;
в) борьбу с дефектностью кристаллов (цель – выращивание кристалла, не содержащего ни единой трещинки);
г) повышение воспроизводимости ростового процесса;
д) увеличение выхода выросшего материала.
Позднее, в 1989 году, для интенсификации технологических исследований и перевода их на самоокупаемость Объединенным институтом Геологии, Минералогии и Геофизики Сибирского Отделения Академии наук (название после реорганизации Института Геологии и Геофизики СО РАН) и таиландской ювелирной компанией Пинки Трейдинг ЛТД (Бангкок) было основано совместное предприятие TAIRUS, производящее кристаллы изумруда под брендом «Russian emerald».
Гидротермальный метод роста кристаллов

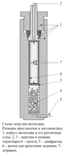
Процесс роста кристаллов в гидротермальных условиях происходит при высоких температурах и давлениях. Поэтому этот процесс ведут в специальных толстостенных сосудах – автоклавах, изготовленных из специальной высокопрочной коррозионно- и жаропрочной стали. Изображенный на рисунке автоклав не велик, его рабочий объем около 250 мл, что позволяет выращивать за один ростовой цикл около 100 г кристаллов изумруда. Автоклавы для гидротермального роста кристаллов кварца, например, гораздо больше – до 6 м3 и они позволяют выращивать до полтонны кристаллов за один ростовой цикл.
Суть гидротермального роста кристаллов изумруда по технологии «Russian emerald» состоит в следующем. На дно рабочей полости автоклава засыпается шихта (4) – дробленый природный берилл не ювелирного качества. Над ним располагается диафрагма (5) – стальная круглая пластина с отверстиями, разделяющая рабочую полость автоклава на две зоны: растворения (под диафрагмой) и роста (над диафрагмой). В зоне роста размещают рамку (6) с одной или несколькими затравками (7) – прямоугольными тонкими пластинами, выпиленными из наиболее качественных кристаллов изумруда, выращенных в предыдущих циклах. Затем во внутреннюю полость добавляются необходимое количество воды и минерализатор (смесь определенного состава, повышающего растворимость берилла в гидротермальном растворе). В качестве минерализатора в технологии выращивания «Russian emerald» используются соли, присутствующие в реальных пегматитовых процессах, в ходе которых происходит образование кристаллов природного берилла. Таким образом, в качестве исходных продуктов в технологии выращивания «Russian emerald» задействованы либо природные вещества, либо полностью аналогичные природным.
Загруженный автоклав герметизируется в своей верхней части и помещается в специальную вертикальную печь, в которой автоклав нагревается до примерно 600˚С, а давление в нем вырастает до 1500 атм. Причем, нижняя часть автоклава (зона растворения) нагревается до более высокой температуры, чем верхняя (зона роста). В зоне растворения происходит насыщение гидротермального раствора компонентами шихты (бериллом). Насыщенные растворы из зоны растворения в результате естественной тепловой конвекции поступают в зону роста, где остывают и становятся пересыщенными. Избыточное вещество из пересыщенного раствора отлагается на затравочные пластины – происходит рост кристаллов изумруда. Общая продолжительность одного ростового цикла – 1 месяц, за который успевает вырасти один или несколько кристаллов изумруда общим весом до 100 г, общей длиной до 19 см и толщиной до 2.5 см.
Проиллюстрируем теперь с помощью схемы тесную аналогию между реализацией лабораторного и природного гидротермальных процессов. При внедрении расплавленной магмы из глубин Земли в толщу Земной коры расплав начинает кристаллизоваться с образованием, например, гранита. Одновременно от расплава начинают отделяться газообразные компоненты, в первую очередь вода, в которой растворены добавки природных минерализаторов, способная хорошо растворять вещества, нерастворимые при нормальных условиях. Такой водный газовый раствор и называется гидротермальным. В конце магматической кристаллизации в толще Земной коры образуется полость, окруженная прочными стенками, сложенными кристаллической породой, заполненная гидротермальным раствором. При дальнейшем снижении температуры и давления из гидротермального раствора начинает отлагаться «лишнее» вещество – растут кристаллы. Сопоставляя природный и лабораторный гидротермальные процессы, мы видим практически полную их аналогию – в природном даже герметичный автоклав присутствует, только стенки его сделаны не из железа, а из прочного гранита.
Особенности и сравнение синтетических аналогов
Изумруд «Biron»
Кристаллы выращиваются в сильно кислых хлоридных растворах. Автоклавная сталь совершенно не выдерживает агрессивные хлоридные растворы, поэтому рост кристаллов осуществляют в защитных контейнерах, изготовленных из инертного материала (золото). Сочная зеленая окраска, близкая к цвету классических природных колумбийских изумрудов, обусловлена совместным вхождением в берилл примесей Cr3+ и V3+. Чистоте цвета способствует тот факт, что защитный герметичный контейнер из золота препятствует загрязнению выращенного кристалла компонентами стали автоклава. Геммологический анализ изумруда «Biron» показывает его близкое сходство с природными изумрудами (зеленый и желто-зеленый цвет под фильтром Челси, отсутствие люминесценции под УФ-излучением, повышенные плотности и показатели преломления и т.п.), в чем он близок к изумруду «Russian emerald» и принципиально отличается от кристаллов, полученных из растворов в расплавах солей. [1] В этом изумруде действительно удалось снизить контрастность свилей, но из-за того, что шероховатость растущей регенерационной поверхности существенно более мелкая, концентрация свилей на единицу объема ограненного камня заметно выше. Поэтому очень красивый в мелких огранках, изумруд «Biron» в крупных камнях начинает терять свою игру. В настоящее время, по-видимому, не производится в силу существенно более высокой себестоимости в сравнении с производством изумруда «Russian emerald», но некоторые его количества до сих пор можно встретить на мировом ювелирном рынке.
Изумруд «Chinese»
Анализ морфологии кристаллов этого изумруда, состава включений в нем, ИК-спектров и ряда других параметров, позволяет заключить, что этот изумруд производился по технологии, близкой к процессу производства изумруд «Biron». Окраска его, в отличие от изумруда «Biron», обусловлена вхождением в берилл только примеси Cr3+, из-за чего в нем появляются красная люминесценция под ультрафиолетом и красная окраска под фильтром Челси, что совершенно не характерно для природных камней. В настоящее время также, по-видимому, не производится. [2]
Изумруд «Malossi»
На рубеже ХХ-ХХI веков сотрудникам Компании TAIRUS удалось вырастить изумруд с принципиально сниженной контрастностью свилей. Кристаллы выглядели исключительно прозрачными и позволяли огранять крупные камни любого требуемого размера, игра которых с размером не падала. Базой для разработки состава минерализатора для выращивания этих кристаллов послужили результаты американской исследовательницы Э. Фланиген.[3] Процесс роста кристаллов осуществлялся в платиновых контейнерах, из-за чего кристаллы были свободны от компонентов автоклавной стали, а сам изумруд получил рабочее название «платиновый». Окраска таких изумрудов обусловлена вхождением в берилл только примеси Cr3+, из-за чего, как и «Chinese» изумруд, камни выглядят красными через фильтр Челси и характеризовались сильной красной люминесценцией в ультрафиолете. Последний факт послужил тормозом к широкому производству такого изумруда*, но небольшие партии через итальянского дилера A. Malossi стали поступать на ювелирный рынок под его именем: Malossi hydrothermal synthetic emerald. Позднее появились сообщения, что в Чехии производят «Malossi emerald», но анализ последних кристаллов изумруда Malossi показал их полную идентичность «платиновому», что позволяет предположить и полную идентичность процессов роста этих «двух разных видов» гидротермальным изумрудов.
«Colombian color emerald»

Параллельно с работой над «платиновым» изумрудом группа сотрудников Компании TAIRUS под руководством Д. Фурсенко пыталась вырастить изумруд, не уступающий по цвету изумруду «Biron» (считавшемуся в начале ХХI века эталоном цвета гидротермального изумруда) и столь же прозрачный, как «платиновый» изумруд. Более 7 лет работы этой группы ушло на получение первых положительных результатов и еще несколько лет – на доводку технологии. Так появился «Colombian color emerald» – гидротермально-выращенный изумруд исключительного зеленого цвета, не уступающий по цвету лучшим образцам изумруда «Biron», а по прозрачности (из-за очень низкой контрастности свилей) даже превосходящий «платиновый» изумруд. Окраска Colombian color emerald обусловлена присутствием в берилле примеси V3+, что является причиной чисто «природного» поведения этого изумруда – зеленый цвет под фильтром Челси и полное отсутствие люминесценции. По другим признакам (присутствие примеси воды в каналах, высокой плотности, высокому показателю преломления и др.) Colombian color emerald полностью аналогичен лучшим природным Колумбийским изумрудам. [4]
В настоящее время потребности мирового рынка гидротермально-выращенного изумруда практически полностью закрываются изумрудами «Russian emerald» (ниша относительно мелких ограненных камней) и «Colombian color emerald» (ниша более дорогих крупных огранок). Другие разновидности гидротермально-выращенного изумруда поступают на этот рынок спорадически и мелкими партиями, что может говорить об отсутствии в настоящее время крупных производств искусственных изумрудов, базирующихся на иных технологических процессах.
Примечания
- R.E. Kane, R.T. Liddicoat (]r.). The Biron hydrothermal synthetic emerald // GEMS & GEMOLOGY, Fall, 1985, p. 156-170.
- K. Schmetzer, L. Kiefert, H.-Jür. Bernhardt, Z. Beili. Characterization of Chinese hydrothermal synthetic emerald. // GEMS & GEMOLOGY, Winter, 1997, p. 276-291.
- Flanigen E.M., Mumbach N.R. Hydrothermal process for growing crystals having the structure of beryl in an acid halide medium. // United States Patent No. 3,567,643; issued March 2, 1971.
- К. Schmetzer, D. Schwarz, H.-J. Bernhardt, T. Häger. A new type of Tairus hydrothermally-grown synthetic emerald, colored by vanadium and copper. // J. Gemm., 2006, 30, 1/2, p.59-74.
