Автофокус
Автофо́кус — адаптивная система, обеспечивающая автоматическую фокусировку объектива фотоаппарата, кинокамеры или видеокамеры на один или несколько объектов съёмки. Автофокус состоит из датчика, управляющей системы и привода, перемещающего оправу объектива или его отдельные линзы. Разновидностью автофокуса можно считать электронный дальномер без исполнительного механизма, но с индикацией направления фокусировки и её завершения. Для обозначения автофокуса обычно используется международная аббревиатура AF.
В меньшей степени понятие автофокуса относят к системам автоматической подстройки резкости проекционных аппаратов. Например, механические лекальные устройства фотоувеличителей, предназначенные для поддержания точной фокусировки при перемещении проекционной головки относительно основания, не принято называть автофокусом.

Технологии
Для автоматической фокусировки необходимо определить точное расстояние от фокальной плоскости до объекта съёмки. В зависимости от способа определения этого параметра все существующие системы автофокуса делятся на два основных типа: активные и пассивные[1]. Активные системы получили своё название из-за наличия элементов, взаимодействующих с объектом съёмки, таких как ультразвуковой или инфракрасный локатор[* 1]. Подобные устройства позволяют вычислить расстояние, на которое фокусируется объектив, при помощи эхолокации или триангуляции[2]. Ультразвуковой активный автофокус получил широкое распространение в фотоаппаратах одноступенного процесса Polaroid (англ. sound navigation ranging, SONAR) и бытовых кино- и видеокамерах. Инфракрасный локатор автофокуса впервые использован в 1979 году в компактном фотоаппарате «Canon AF-35M»[3].
.jpg.webp)
Активные системы не зависят от условий освещения и могут наводиться в полной темноте на объекты без контрастных деталей. Вместе с тем, они обладают рядом недостатков, одним из которых считается невозможность точной фокусировки, если между объектом и камерой есть прозрачное препятствие, например стекло. Излучения таких систем, не воспринимаемые человеком, могут пугать животных или представлять опасность для зрения. Кроме того, в связи с трудностями получения направленного пучка ультразвука, фокусировка на конкретный объект съёмки затруднена, часто срабатывая на ближайшее препятствие. По этим причинам активные системы вышли из употребления с появлением более совершенных пассивных. Пассивный автофокус основан на анализе световых пучков, попадающих внутрь камеры, и ничего не излучает в окружающее пространство.
Первая такая система, основанная на измерении света, прошедшего через оптический дальномер, разработана фирмой Leica Camera в 1970 году. Дальнейшие разработки этой технологии использовалось, главным образом в компактных любительских фотоаппаратах. Более широкое распространение получил способ под названием «Визитроник» (англ. Visitronic), который разработан компанией «Honeywell» для однообъективных зеркальных фотоаппаратов[4][5]. Система использовалась также в незеркальной аппаратуре, в том числе в единственном советском фотоаппарате с автофокусировкой «Эликон-автофокус»[5][6]. Современные системы основаны на измерении максимального контраста изображения, создаваемого объективом, или на сравнении противоположных частей пучка света, формирующего изображение точки. Эти технологии называются контрастным и фазовым автофокусом.
Контрастный автофокус
Контрастный автофокус может применяться в любых видеокамерах и цифровых фотоаппаратах, в том числе незеркальных. Принцип его работы основан на том, что микропроцессор камеры сравнивает контраст мелких деталей изображения, получаемого на матрице при разных положениях объектива[2]. Такая технология предполагает поиск наивысшего контраста перемещением объектива в обоих направлениях от положения точной наводки, чаще всего неоднократное.
В силу заложенного принципа быстродействие и точность такого автофокуса невысоки. До тех пор, пока процессор не вычислил максимум контраста и не перешёл его, двигателю даётся команда перемещать объектив ещё раз. Когда экстремум пройден, выполняется шаг назад, возвращающий оптику в пройденную точку, и процесс фокусировки прекращается. Задержка между нажатием на спуск и собственно съёмкой кадра, характерная для большинства компактных цифровых фотоаппаратов, объясняется именно «медленной» работой пассивного контрастного автофокуса. Кроме того, «следящая» фокусировка на движущиеся объекты невозможна. К достоинствам контрастного автофокуса относятся ненужность сложных юстировок оптического тракта и независимость от светосилы объектива. При этом может выбираться любая часть кадра, которая выделяется процессором, как сюжетно важная для фокусировки. Число таких возможных зон и их размер при контрастном автофокусе не ограничены.
Впервые контрастный автофокус был использован в бытовых видеокамерах и зеркальной плёночной фотоаппаратуре. В аналоговых видеокамерах контраст деталей вычисляется на основе частотного спектра получаемого видеосигнала. Первым серийным фотоаппаратом, использующим измерение контраста через объектив, в 1981 году стал «Pentax ME-F»[7][1]. При этом датчик, расположенный под вспомогательным зеркалом на дне камеры, сравнивал контраст двух изображений, получаемых светоделительной призмой[8]. Таким же образом действовал автофокус более поздних «Nikon F3 AF» и «Canon T80» (у «Никона» такой датчик расположен в пентапризме)[9][10]. В дальнейшем в зеркальной аппаратуре такая технология уступила место более совершенному фазовому автофокусу «Визитроник ТСЛ» (англ. Visitronic TCL, Through Camera Lens), ставшему прототипом современных систем[5][11]. Похожая технология «нулевого контраста» в 1963 году разработана в СССР М. Я. Шульманом[12][1]. Её предполагалось использовать в конструкции фотоаппарата «Зенит-8», выпуск которого был запланирован на 1965 год, но так и не был осуществлён[13].
Фазовый автофокус
Фазовый автофокус был впервые реализован в однообъективных зеркальных фотоаппаратах, и его классическая конструкция требует отдельного оптического тракта, в котором расположен детектор фокусировки. Он устанавливается в нижней части камеры, а свет к нему попадает при помощи вспомогательного зеркала, закреплённого на шарнире под полупрозрачным основным. При этом длина оптического пути света от объектива до детектора в процессе визирования и фокусировки должна точно совпадать с длиной пути до фотоматериала или матрицы во время экспозиции[14]. Это условие достигается юстировкой фотоаппарата, от точности которой зависит точность работы автофокуса[* 2].

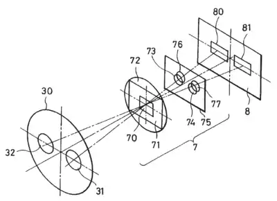
Детектор (на рисунке) состоит из конденсора 72, расположенного в фокальной плоскости объектива, и датчика 8 с ПЗС-линейками 80 и 81. В процессе фокусировки сравниваются изображения, построенные светом, прошедшим через противоположные области 31 и 32 выходного зрачка 30 объектива[16][17]. Для этого в маске 75, на которой конденсор строит действительное изображение выходного зрачка объектива, устанавливаются два микрообъектива 76 и 77, формирующих на линейках 80 и 81 изображения объекта съёмки, видимого через разные половины выходного зрачка. Размер изображений ограничивается окном 70 рамки 71 конденсора. В случае, если объектив сфокусирован точно, изображения объекта находятся в центрах соседних ПЗС-линеек. Таким образом, сигналы, получаемые процессором с разных линеек, совпадают (находятся «в фазе»)[* 3]. При неточной фокусировке эти изображения из-за параллакса смещаются внутрь или наружу линеек в зависимости от направления ошибки, и сигналы перестают совпадать[19]. На основе разности фаз сигналов формируется команда для привода, производящего фокусировку[14].
В современной фотоаппаратуре чаще всего используются одновременно несколько таких детекторов, каждый из которых оценивает фокусировку разных частей кадра, позволяя наводить резкость не только по его центру. В зависимости от ситуации включается один из этих детекторов или сравниваются результаты измерения нескольких, работающих одновременно. Фазовый автофокус обеспечивает максимальное быстродействие, поскольку в отличие от контрастного не требует сравнения резкости для разных положений объектива, а величина и направление его перемещения известны сразу. В результате, фокусировка может завершиться одним движением оправы[* 4]. Точность фокусировки находится в прямой зависимости от расстояния (базиса) между сравниваемыми зонами 31 и 32 выходного зрачка. Следствием этого является потеря работоспособности фазового автофокуса при небольших относительных отверстиях объектива, когда оценочные зоны оказываются на краях или за пределами выходного зрачка, слишком узкого вследствие низкой светосилы объектива или уменьшенного закрытой диафрагмой[16]. Поэтому автофокус этого типа должен использоваться в фотоаппаратуре совместно с прыгающей диафрагмой, закрывающейся до рабочего значения только в момент съёмки.
Современные камеры могут оснащаться дублирующими детекторами автофокуса, работоспособными при разных значениях светосилы объектива. При этом те, которые рассчитаны на максимальное отверстие (как правило, f/2,8 и более), обладают наибольшими точностью и быстродействием за счёт увеличенного базиса между оценочными зонами[14][19]. Так называемый крестообразный датчик автофокуса состоит из двух детекторов, ПЗС-линейки которых ориентированы перпендикулярно друг к другу. Такая конструкция делает систему одинаково эффективной для фокусировки на объекты с контурами, направленными в разные стороны[20]. Часто крестообразные детекторы рассчитаны на разную предельную светосилу для горизонтального и вертикального датчиков, обеспечивая универсальность[2]. Со светосильной оптикой работают оба датчика, а при использовании объективов с низкой светосилой работоспособным остаётся один из них, чаще всего горизонтальной ориентации. Самые совершенные профессиональные фотоаппараты оснащаются двойными крестообразными датчиками, расположенными под углом 45° друг к другу[20]. Все 61 точки датчика, анонсированного 1 февраля 2016 года фотоаппарата «Canon EOS-1D X Mark II», остаются работоспособными при низкой светосиле вплоть до f/8[21].
Гибридный автофокус
В процессе совершенствования систем автофокуса предпринимались попытки совместить активный и пассивный методы в одном устройстве. Многие современные компактные фотоаппараты и видеокамеры сочетают активный инфракрасный автофокус с пассивным контрастным[2]. Такие камеры оснащаются излучателем, расположенным на передней стенке и автоматически включающимся при недостатке освещения, когда эффективность контрастного автофокуса невысока. При этом фотоприёмник, расположенный на корпусе или за объективом, на основе отражённого света определяет приблизительное расстояние до объекта съёмки, ускоряя работу пассивной системы или заменяя её.
Зачастую дополнительная подсветка не является частью активного автофокуса, обеспечивая более эффективную работу фазовой системы. По такому принципу работает инфракрасный прожектор, встраиваемый во внешние системные фотовспышки. Срабатывая одновременно с автофокусом камеры (за исключением следящего режима), подсветка создаёт на объекте съёмки дополнительную освещённость, обеспечивая работу системы даже в полной темноте. В некоторых камерах для этой цели используется встроенная фотовспышка в специальном «стробоскопическом» режиме (например, в «Pentax *ist Ds»). Некоторые системы подсветки автофокуса проецируют на объект контрастную «сетку», которая служит ориентиром для пассивной системы. Такое устройство подсветки используется, например, в фотоаппаратах «Pentax Z1p» и «Sony DSC F828». Некоторые современные модели камерафонов в качестве инфракрасного прожектора используют маломощный полупроводниковый лазер, который создаёт несколько точек фокуса для условий плохой освещённости.[22][23] В сочетании с контрастным автофокусом и большой глубиной резкости сравнительно короткофокусного объектива, такое решение позволяет довести быстродействие до уровня фазового автофокуса зеркальных фотоаппаратов. Например, так называемый лазерный автофокус смартфона LG G3 полностью фокусируется за 0,276 секунды. Однако, ограниченная мощность лазера, гарантирующая безопасность для зрения окружающих людей, обеспечивает работоспособность активного элемента автофокуса лишь на небольших дистанциях и во всём диапазоне неприменима без пассивной поддержки.[22][23]
Современные разработки гибридного автофокуса основаны на комбинации фазовой и контрастной технологий, позволяющей использовать достоинства обоих методов. Наиболее актуальны такие решения для беззеркальных фотоаппаратов, конструктивно непригодных для классического фазового автофокуса. Новейшие модели таких фотоаппаратов предусматривают установку фазовых детекторов непосредственно в матрицу Супер-ПЗС (англ. Cuper CCD EXR, Fujifilm Hybrid Focus)[24]. В настоящее время по такой технологии работают беззеркальные фотоаппараты серий «Fujifilm FinePix», «Nikon 1», «Samsung NX300», а также зеркальные «Canon EOS 650D» и «Canon EOS 70D»[25]. Фазовые детекторы, встроенные в матрицу, менее эффективны, чем классические, из-за небольшого базиса считывания, поэтому по сравнению с автофокусом зеркальных камер они менее эффективны и используются совместно с контрастным методом. В зеркальной аппаратуре, штатно оснащаемой фазовым автофокусом, контрастный используется в режиме Live View, когда основная система неработоспособна из-за поднятого зеркала.
Представленный в августе 2016 года фотоаппарат «Canon EOS 5D Mark IV» оснащён новейшей КМОП-матрицей с «двойными пикселями», которая впервые позволила приблизить эффективность автофокуса в режиме Live View к классическому фазовому[26]. Кроме того, такое устройство матрицы позволяет в небольших пределах корректировать фокусировку на уже готовых снимках[27][28].
Приводы автофокуса
Первые системы автофокуса для перемещения оправы объектива использовали шаговые электродвигатели, расположенные в корпусе камеры. Такая конструкция пригодна для фотоаппаратов и видеокамер с несменной оптикой. Первые сменные объективы, разработанные для зеркальных фотоаппаратов, содержали датчики автофокуса, процессор с элементами питания и привод фокусировки в приливе оправы. Самым первым из них считается AF-Nikkor 4,5/80, разработанный в 1971 году, но так и не запущенный в серийное производство[9][12][29][30]. Похожую конструкцию имел зум Canon New FD 35—70/4 AF, в приливе которого размещался датчик автофокуса системы англ. Solid State Triangulation, SST и привод фокусировки[11][31]. Такие объективы могли работать с обычными фотоаппаратами, но фокусировка их была крайне медленной и неточной.
Развитие заобъективных датчиков и появление фазового принципа вынудили конструкторов размещать весь автофокус в корпусе фотоаппарата. При этом вращение привода передавалось в объектив передаточным механизмом с разъёмной муфтой, вмонтированной в байонет. Характерным примером можно считать так называемый «отвёрточный автофокус» Nikon, полумуфта которого оснащалась плоским шлицем[32].
Такой принцип оказался несовершенным, поскольку мощность встроенного в фотоаппарат двигателя была недостаточна для тяжёлой длиннофокусной оптики[33]. Устаревшие к середине 1980-х годов системы автофокуса с приводом, встроенным в объектив, оснащались сравнительно сложным редуктором, обладавшим значительным моментом инерции и снижавшим быстродействие. Решением стала технология компании Canon, встроившей специально разработанные кольцевые пьезоэлектрические двигатели в оправы всех сменных объективов[17].

Этот тип привода, впервые использованный в 1987 году в объективах для фотоаппарата «Canon EOS 650», позволил исключить редукторы, соединив статор и ротор непосредственно с кольцами оправы[5]. Кроме того, мощность и быстродействие мотора подбираются в соответствии с характеристиками конкретного объектива, повышая скорость. Ещё одно достоинство такого привода по сравнению с предыдущими типами — бесшумность. В течение последующего десятилетия большинство производителей фотоаппаратуры отказались от двигателей, встроенных в корпус фотоаппарата в пользу кольцевых моторов. Встроенные в объектив редукторные приводы (например, AFD-двигатели Canon) на сегодняшний день остаются только в бюджетной оптике любительского класса.
Компания Canon, разработавшая объективы с кольцевыми двигателями, присвоила технологии название «USM» (англ. Ultra Sonic Motor)[* 5]. Из-за патентных ограничений другие производители не имеют права использовать то же торговое название, поэтому присвоили своим разработкам другие обозначения. Nikon указывает маркировку «SWM» (англ. Silent Wave Motor), Pentax — «SDM» (англ. Super-sonic Direct-drive Motor), Samsung — «SSA» (англ. Super Sonic Actuator), Sony/Minolta — «SSM» (англ. Super Sonic Motor), Tamron — «USD» (англ. Ultrasonic Drive), а Sigma — «HSM» (англ. Hyper Sonic Motor). На выставке PMA 2007 Olympus продемонстрировал несколько объективов с новым ультразвуковым двигателем «SWD» (англ. Supersonic Wave Drive). Все эти обозначения являются лишь торговыми названиями, описывающими одну и ту же технологию с незначительными отличиями.
В 1996 году конструктором Масару Ямамото в фотоаппарате «Contax AX» была реализована оригинальная система автофокуса, не требующая перемещения объектива или его частей[35]. Вместо этого фокусировка осуществлялась сдвигом фильмового канала с плёнкой вдоль оптической оси объектива. Такая конструкция позволяет осуществлять автоматическую наводку на резкость любых объективов[36]. Принцип не получил дальнейшего развития из-за сложности и большого момента инерции перемещаемых частей.
Режимы фокусировки
Основным режимом работы автофокуса, доступным для любых его систем, считается покадровый (англ. one-shot, single servo mode)[37]. В этом режиме автофокус срабатывает один раз, фокусируясь на объект съёмки, совпадающий с положением датчика в кадре. В большинстве фотоаппаратов автофокус срабатывает после поджатия спусковой кнопки наполовину, однако в настроечном меню некоторых моделей для этого можно назначить другую кнопку. После срабатывания автофокуса и достижения резкости привод автофокуса блокируется, прекращая дальнейшую работу до тех пор, пока не сработает затвор или не будет отпущена кнопка[38]. Захват фокуса и блокировка отображаются индикацией на дисплеях, которая дублируется звуковым сигналом. При смещении объекта из зоны резкости процедуру необходимо повторить. Съёмка движущихся объектов для контрастного автофокуса затруднена, но в бытовых видеокамерах следящий режим появился одновременно с пассивным автофокусом. В видеотехнике он работает постоянно и считается основным.
В фотоаппаратах, оснащённых фазовым автофокусом, применяется более совершенный алгоритм следящего режима, поскольку такой тип датчиков позволяет вычислять скорость и направление перемещения объекта съёмки[33]. Эта технология получила название упреждающий («предиктивный») автофокус и заранее фокусирует объектив на расстояние, соответствующее вычисленному положению объекта съёмки с учётом задержки срабатывания затвора[38]. Наблюдаемое в видоискателе изображение в этом режиме может казаться не в фокусе, потому что попадает в него только при срабатывании затвора и поднятом зеркале. При этом блокировка, в отличие от покадрового режима, никогда не срабатывает и фокусировка происходит непрерывно, отслеживая все перемещения объектов и изменения кадрировки. Поэтому индикация и звуковой сигнал в этих режимах не работают[38]. Технология поддерживается всеми современными камерами с фазовым автофокусом, однако у разных производителей он называется по-разному: у Canon — AI Servo, у Nikon — Continuous servo AF. Среди фотолюбителей более востребован автоматический режим выбора метода фокусировки, когда микропроцессор самостоятельно принимает решение о включении наиболее подходящего способа: покадрового или следящего[37]. Последний включается, если детектор регистрирует движение объекта съёмки. В большинстве современных профессиональных и полупрофессиональных фотоаппаратов выбор покадрового или следящего режимов так или иначе взаимосвязан с режимом выбора точки (конкретного датчика) фокусировки в пределах кадра и режимами автоматического управления экспозицией.
В некоторых случаях, когда основной неподвижный объект не совпадает в кадре с положением датчика, необходима блокировка автофокуса (англ. AF-lock). Она автоматически срабатывает в покадровом режиме после поджатия спусковой кнопки и завершения фокусировки. После этого кадр можно перекомпоновать в соответствии с замыслом и произвести съёмку. Основной объект при этом получается резким, несмотря на то, что в момент съёмки датчик находится на других объектах или фоне. В следящем режиме блокировка включается отдельной кнопкой на фотоаппарате. В профессиональных моделях для этого предусматривается отдельная кнопка AF-stop, расположенная на оправе сменных объективов, как правило, длиннофокусных. Такая кнопка останавливает фокусировку, позволяя избежать ошибки в случае внезапного появления в кадре предметов на более близких дистанциях или непредвиденной фокусировки на фон из-за смещения сюжетно важного объекта[33].
Ещё одна технология — ловушка автофокуса (англ. focus trap) — позволяет производить автоматическую съёмку при попадании движущегося объекта в фокус[39]. Режим доступен в большинстве зеркальных фотоаппаратов профессионального и потребительского уровня при соответствующих настройках. При нажатой спусковой кнопке затвор срабатывает в тот момент, когда датчик автофокуса подтверждает пересечение зоны резкости.
См. также
Примечания
- Инфракрасная подсветка, используемая в современных фотовспышках, служит для облегчения работы пассивного автофокуса в темноте и не относится к активным системам.
- Современные цифровые зеркальные фотоаппараты, оснащённые функцией Live View предусматривают программную коррекцию юстировки при помощи сравнения результатов работы фазового и контрастного автофокуса, последний из которых независим от механических погрешностей[15].
- Патент США 5053799 A[18].
- Современные алгоритмы фазовых систем предусматривают случаи неуверенного захвата фокуса малоконтрастных объектов в темноте, когда необходимы повторные циклы фокусировки.
- Название «Micro USM» обозначает более дешёвый привод с аналогичным двигателем, работающим через редуктор[34].
Источники
- Советское фото, 1986, с. 42.
- Системы автофокуса цифровых фотоаппаратов. Ремонт фотоаппаратов. Фоторемонт (21 апреля 2010). Дата обращения: 23 августа 2014.
- Фотоаппараты, 1984, с. 101.
- Фотоаппараты, 1984, с. 102.
- Vladimir Dorofeev. История систем автофокуса. Info. Фотография для любителей. Дата обращения: 24 августа 2014.
- Эликон-автофокус (1986) (недоступная ссылка). Фотолюбитель (31 января 2014). Дата обращения: 24 августа 2014. Архивировано 26 августа 2014 года.
- Фотокурьер, 2005, с. 7.
- Советское фото, 1982, с. 42.
- Foo Leo. Introduction to the F3 AF (англ.). Modern Classic SLRs Series. Photography in Malaysia. Дата обращения: 24 августа 2014.
- Canon T80 Camera (англ.). Main Features Part II. Photography in Malaysia. Дата обращения: 24 августа 2014.
- Фотоаппараты, 1984, с. 104.
- Фотокурьер, 2005, с. 3.
- Линия «Зенит-7». ZENIT Camera. Дата обращения: 17 марта 2019.
- Foto&video, 2008, с. 86.
- Нужна ли объективу юстировка?. Vlador. Дата обращения: 12 марта 2019.
- Foto&video, 2008, с. 85.
- Фотография: энциклопедический справочник, 1992, с. 93.
- Akira Akashi. Camera having auto-focusing device (англ.). US Patent and Trademark Office (1 октября 1990). Дата обращения: 12 марта 2019.
- Vladimir Dorofeev. Об автофокусе простыми словами. Info. Фотография для любителей (август 2010). Дата обращения: 22 августа 2014.
- Доступно о датчиках автофокуса. Info. Фотография для любителей (март 2012). Дата обращения: 22 августа 2014.
- Dan Havlik. Fast & Furious: Canon Intros Speedy, 4K-Shooting 20.2MP, Full Frame EOS-1D X Mark II Pro DSLR (англ.). DSLR News. журнал «Shutterbug» (1 февраля 2016). Дата обращения: 2 февраля 2016.
- Лазерный автофокус на свой смартфон LG переставила с пылесоса. Физика. Новости информационных технологий (29 мая 2014). Дата обращения: 1 августа 2015.
- Andrew Williams. How the LG G3 laser AF camera focus works (англ.). Opinions. Trusted Reviews (28 мая 2014). Дата обращения: 1 августа 2015.
- Дмитрий Крупский. Гибридный автофокус в матрицах Fujifilm. OnPhoto (14 февраля 2013). Дата обращения: 23 августа 2014.
- Владимир Медведев. Пара мыслей про Canon 70D. LiveJournal (2 июля 2013). Дата обращения: 23 августа 2014.
- Dual Pixel CMOS AF will change —High Image Quality” the basic assumptions about Digital SLRs (англ.) (недоступная ссылка). Canon. Дата обращения: 26 августа 2016. Архивировано 10 марта 2017 года.
- Анонсированa камера Canon EOS 5D Mark IV. Новости. Fototips (25 августа 2016). Дата обращения: 28 августа 2016.
- Stephen Shankland. Adobe to support advanced photo format debuting in Canon's hot new SLR (англ.). Photography. CNET (25 августа 2016). Дата обращения: 26 августа 2016.
- Фотомагазин №5, 1996, с. 16.
- Marco Cavina. Nippon Kogaku AF-Nikkor 80mm f/4,5 Prototipo del 1971 (итал.). Memorie di luce & memorie del tempo (24 сентября 2007). Дата обращения: 7 сентября 2019.
- AF Zoom New FD 35-70 f/4.0 (англ.). Canon FD Resources. Photography in Malaysia. Дата обращения: 24 августа 2014.
- Константин. Автофокус. В чём разница между AF-S и AF объективами. Про Фото. Дата обращения: 24 августа 2014.
- Фотомагазин №7—8, 1999, с. 14.
- Обозначения используемые в названиях объективов Canon. Cameralabs (22 октября 2013). Дата обращения: 12 марта 2019.
- Борис Бакст. Contax АХ. Contax, рождённый в Японии. Фотомастерские РСУ (3 марта 2011). Дата обращения: 28 сентября 2015.
- Фотомагазин, 2000, с. 15.
- Режимы фокусировки One-Shot и AI-Servo: правила применения (недоступная ссылка). On-line журнал о фотографии (3 октября 2012). Дата обращения: 25 августа 2014. Архивировано 26 августа 2014 года.
- Онищенко Александр. О работе автофокуса в камерах Nikon. LiveJournal. Дата обращения: 25 августа 2014.
- Аркадий Шаповал. Фотохитрости. Мысли про Фото. Радожива (15 декабря 2012). Дата обращения: 24 августа 2014.
Литература
- Борис Бакст. Pentax и автофокус // «Фотокурьер» : журнал. — 2005. — № 1/97. — С. 3—10.
- Ю. Волков, Н. Капустина, В. Коротков. Системы автоматической фокусировки // «Советское фото» : журнал. — 1986. — № 11. — С. 42. — ISSN 0371-4284.
- Александр Доброславский. Автофокус — простота через сложность // «Советское фото» : журнал. — 1982. — № 11. — С. 42—44. — ISSN 0371-4284.
- Андрей ПАРШЕВ. Технология автофокуса. Объектив и автофокус: трагедия непонимания // Foto&video : журнал. — 2008. — № 2. — С. 82—87.
- Владимир Самарин. Система автофокусных камер Nikon // «Фотомагазин» : журнал. — 1996. — № 5. — С. 16—22. — ISSN 1029-609-3.
- Владимир Самарин. Contax — линейка, в которой нет любительских камер // «Фотомагазин» : журнал. — 2000. — № 10. — С. 9—20. — ISSN 1029-609-3.
- Андрей Шеклеин, Владимир Самарин. Анатомия и физиология современной зеркалки // «Фотомагазин» : журнал. — 1999. — № 7—8. — С. 10—18. — ISSN 1029-609-3.
- М. Я. Шульман. Фотоаппараты / Т. Г. Филатова. — Л.: «Машиностроение», 1984. — 142 с. — 100 000 экз.
- Фотография: энциклопедический справочник / С. А. Макаёнок. — Минск: «Беларуская Энцыклапедыя», 1992. — 399 с. — 50 000 экз. — ISBN 5-85700-052-1.