Хьюз, Дэвид Эдвард
Дэвид Эдвард Хьюз (англ. David Edward Hughes, 16 мая 1831 — 22 января 1900) — известный английский и американский физик и изобретатель.
| Дэвид Эдвард Хьюз | |
|---|---|
| англ. David Edward Hughes | |
| |
| Дата рождения | 16 мая 1831[1][2] |
| Место рождения | |
| Дата смерти | 22 января 1900[1][2] (68 лет) |
| Место смерти | |
| Страна | |
| Альма-матер | |
| Награды и премии | |
Член Лондонского королевского общества (1880)[3].
Биография
Дэвид Эдвард Хьюз родился 16 мая 1831 года в городе Лондоне.
В 1848 году он переселился в Соединённые Штаты Америки, где сначала был учителем музыки, потом занялся естественными науками и с 1851 года преподавал физику в колледже Бардстоуна (Кентукки). С 1853 года Хьюз работал над изобретением печатающего телеграфного аппарата. В усовершенствовании аппарата ему помогал Джордж Фелпс. В 1856 году аппарат Хьюза впервые был применён для связи Вустера и Спрингфилда в Массачусетсе. В 1860-х годах аппарат Хьюза получил широкое распространение по всей Европе.
Хьюзу принадлежит также изобретение микрофона (1877 год), индуктивных весов и сонометра.В США официально считается изобретателем радио наравне с Николой Тесла и Томасом Эдисоном.
Дэвид Эдвард Хьюз умер 22 января 1900 года в родном городе.
В 1885 году учёный был награждён Королевской медалью Лондонского королевского общества[4], позднее в честь изобретателя Лондонское королевское общество учредило медаль Хьюза, присуждаемую с 1902 года.
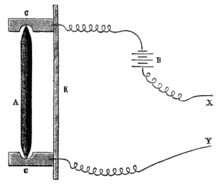
Микрофон Хьюза

Изобретённый Хьюзом в 1877 году микрофон состоял из заострённой на концах угольной (графитовой) палочки (A, см. рисунок), которая поддерживалась в вертикальном положении двумя угольными стаканчиками (C), прикреплёнными к тонкой пластинке (K). Стаканчики при помощи проводов (X и Y) соединялись с батареей (B) и слуховой трубкой (на рисунке не показана). Данная конструкция и её дальнейшие модификации вошли в историю под названием палочных микрофонов[5].
Механические колебания, возникающие в угольной палочке под воздействием звука, влияют на электрическое сопротивление в местах контакта палочки со стаканчиками. При пропускании через цепь постоянного тока в электрической цепи возникают изменения напряжения, передающиеся на слуховой аппарат.
Награды
Примечания
- David Edward Hughes // Энциклопедия Брокгауз (нем.)
- Brozović D., Ladan T. David Edward Hughes // Hrvatska enciklopedija (хорв.) — LZMK, 1999. — 9272 с. — ISBN 978-953-6036-31-8
- Hughes; David Edward (1831 - 1900) // Сайт Лондонского королевского общества (англ.)
- Royal Medal (англ.).
- Ж. Дари. Электричество во всех его применениях, с многочисленными иллюстрациями. С.-Петербург, типография А. С. Суворина, 1903 год.
Литература
- Юз, Давид-Эдвард // Энциклопедический словарь Брокгауза и Ефрона : в 86 т. (82 т. и 4 доп.). — СПб., 1890—1907.
- Храмов Ю. А. Юз Дэвид Эдуард (Hughes David Edward) // Физики : Биографический справочник / Под ред. А. И. Ахиезера. — Изд. 2-е, испр. и доп. — М. : Наука, 1983. — С. 313. — 400 с. — 200 000 экз.
