Твёрдость по Шору (метод отскока)
Твёрдость по Шору — метод определения твёрдости очень твёрдых материалов, преимущественно металлов, по высоте, на которую после удара отскакивает специальный боёк (основная часть склероскопа Шора), свободно и вертикально падающий с определённой высоты. Твердость по этому методу Шора оценивается в условных единицах, пропорциональных высоте отскакивания бойка.

Метод и шкала предложены американским промышленником Альбертом Ф. Шором в 1906 году.[1]
Обозначается HSx, где H — Hardness, S — Shore и x — латинская буква, обозначающая тип шкалы, использованной при измерении. Например: 85HSD.
Метод не дает точных показаний, так как высота отскакивания бойка зависит не только от твердости испытуемого металла, но и от множества других причин: от толщины металла, от степени шероховатости его поверхности, внутренней структуры и т. д. Однако этот метод, вследствие его простоты и оперативности, часто применяется в заводской практике — преимущественно для быстрого контроля результатов термической обработки стальных изделий (закалки и отпуска). Он так же позволяет производить измерения прямо на готовых изделиях, крупногабаритных деталях и криволинейных поверхностях.
Величина твёрдости по Шору не имеет точного метода перевода её на другие величины твёрдости и прочности при растяжении.
Шкалы
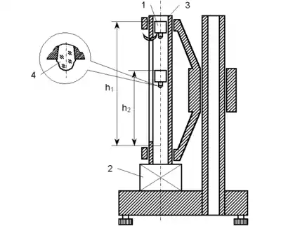
Основные шкалы C и D. Шкала прибора имеет 140 равных делений. Нормируемая высота отскока бойка соответствует 100 делениям. Цена деления должна быть не более 1-й единицы твёрдости по Шору. В склероскопе модели C высота падения бойка h1 = 254 мм; высота отскока h2 = 181,4 мм (соответствует 100 единиц твёрдости по Шору). В склероскопе модели D высота падения бойка h1 = 19,0 мм; высота отскока h2 = 13,6 мм (соответствует 100 единиц твёрдости по Шору).
Твёрдость по Шору для углеродистой стали связана с твёрдостью по Бринеллю и пределом прочности при растяжении σb следующей зависимостью[2]: ;
Устройство прибора

Склероскопы Шора снабжаются бойком с алмазным наконечником сферической формы.
Склероскоп Шора модели C представляет собой полую трубку с окном, на котором нанесены деления шкалы, в ней падает лёгкий боёк массой 2,5 г и радиусом сферы алмаза 1,25 мм. Высота отскока регистрируется визуально. Для испытания мягких материалов допускается применение бойка со стальным тупым наконечником. Значения твёрдости, полученные с таким бойком[2]: H'Sh = HSh / 0,56.
Склероскоп Шора модели D представляет собой полую трубку, в которой падает тяжелый боёк массой 36,0 г и радиусом сферы алмаза 1 мм. Высота отскока регистрируется либо механическим индикаторным устройством, либо электронным. В первом случае значения твёрдости получаются менее точными, вследствие увеличения потерь.
В верхней части трубки имеется фиксирующе-спусковой механизм, предназначенный для удержания и отпускания бойка. Трубка склероскопа является съёмной частью, устанавливаемой на специальную подставку (штатив), имеющую в своём составе предметный столик.
Склероскопы Шора снабжаются эталонами твёрдости.
Проведение испытаний
- Испытание проводят при температуре окружающей среды 20 + 15/- 10 °C.
- При измерении непосредственно на изделии его масса должна составлять не менее 5 кг. Масса образцов, устанавливаемых на столик твердомера, должна составлять не менее 0,1 кг и они должны иметь толщину не менее 10 мм.
- Поверхность испытуемого изделия или образца должна быть свободной от масла и грязи, иметь шероховатость не более Ra = 2,5 мкм по ГОСТ 2789-73.
- Поверхность столика прибора должна быть ровной, свободной от масла и грязи.
- Перед испытанием склероскоп устанавливается вертикально по уровню или отвесу, а поверхность испытуемого образца или изделия — горизонтально. Образец, устанавливаемый на столик прибора, плотно зажимается на нём. Для цилиндрических образцов используют V-образную подставку. Изделия больших размеров испытываются с помощью съёмной части прибора. Основание прибора плотно прижимается к испытуемому образцу или изделию.
- Проводят не менее 5 измерений в разных местах на исследуемом участке образца или изделия, но на расстоянии не менее 2 мм между двумя соседними отпечатками и от края образца или изделия.
- При проведении испытания частота ударов должна быть не более 5 в 10 с.
- Среднее арифметическое результатов измерения принимается за твёрдость данного образца или изделия при условии, что разность между наибольшим и наименьшим значением результатов измерений не превышает 5 единиц. В случае отличия более чем на 5 единиц, испытание повторяют, удвоив количество измерений (отпечатков).
- Полученную твердость по Шору указывают с округлением до целой единицы шкалы.
См. также
Примечания
- Новый политехнический словарь / Гл. ред. А. Ю. Ишлинский. — Москва: «Большая Российская энциклопедия», 2000. — С. 621. — 671 с. — 15 000 экз. — ISBN 5-85270-322-2.
- Раздел второй. Материалы машиностроения // Машиностроение. Энциклопедический справочник / Под ред. акад. Е. А. Чудакова. — Москва: Государственное научно-техническое издательство машиностроительной литературы, 1947. — Т. 3. — С. 14. — 712 с. — 50 000 экз.
Литература
- ГОСТ 23273-78 «Металлы и сплавы. Измерение твердости методом упругого отскока бойка (по Шору)»
- ГОСТ 8.426-81 «Государственная система обеспечения единства измерений. Приборы для измерения твердости металлов методом упругого отскока бойка (по Шору). Методы и средства поверки»
- ГОСТ 8.516-2001 «Государственная поверочная схема для средств измерений твердости металлов по шкале твёрдости D»
- Украинская советская энциклопедия. Т. 12. — Киев, 1985.