Подвеска автомобиля
Подвеска автомобиля (тж: Система подрессоривания автомобиля) — совокупность устройств, обеспечивающих упругую связь между несущей системой и колёсами (или мостами) автомобиля, уменьшение динамических нагрузок на несущую систему и колёса и затухание их колебаний, а также регулирование положения кузова автомобиля во время движения.[1] Свойства подвески конкретного автомобиля зависят от различных параметров (неподрессоренных масс автомобиля, кинематики подвески, колёсной базы, колеи, жёсткости кузова) и взаимодействия отдельных деталей (от типа и жёсткости упругих элементов, амортизаторов, стабилизаторов, шарниров, рычагов, и особенно от шин).[2]

Функции подвески
Подвеска выполняет следующие функции:
Элементы подвески
- Направляющие устройства
- Элементы подвески, определяющие характер перемещений колёс относительно несущей системы автомобиля (кузова или рамы).[3]
- В первую очередь под таковыми понимаются рычажные механизмы различных конструкций и кинематических схем. Также, роль направляющих устройств могут выполнять такие упругие элементы подвески как рессоры.
- Упругие элементы подвески
- Элементы подвески, обеспечивающие уменьшение динамических нагрузок, действующих на автомобиль.[4]
- Это рессоры, пружины, торсионы, резиновые, пневматические и гидропневматические упругие элементы. Также стабилизаторы поперечной устойчивости и ограничители хода подвески.
- Гасящие устройства
- Элементы подвески, обеспечивающие затухание колебаний кузова автомобиля при движении.[5]
- Это амортизаторы любого принципа действия.
Классификация подвесок
Основная классификация
Предполагает два основных типа подвесок:
- Зависимая подвеска
- Подвеска автомобиля, у которой перемещение одного колеса оси зависит от перемещения другого колеса.[6]
- Передача сил и моментов от колёс на кузов (раму) здесь может осуществляться таким упругим элементом как рессора, а в случае применения иных типов упругих элементов — рычажными механизмами разнообразных кинематических схем.[7]

Оба колеса оси здесь связаны друг с другом жёсткой балкой и образуют мост.
- Независимая подвеска
- Подвеска автомобиля, у которой перемещение одного колеса оси не зависит от перемещения другого колеса.[8]
- Независимо от типа упругого элемента передача сил и моментов от колёс на кузов (раму) здесь всегда осуществляется рычажными механизмами разнообразных кинематических схем.[9]

Каждое колесо оси здесь крепится к кузову (раме) индивидуально.
Классификация по типу упругого элемента
Определяет только тип применяемого упругого элемента, но не определяет ни зависимость/независимость подвески, ни кинематическую схему рычажных механизмов.
- Рессорная подвеска
- Подвеска автомобиля, в которой упругими элементами являются листовые рессоры.[10]
- Пружинная подвеска
- Подвеска автомобиля, в которой упругими элементами являются винтовые или тарельчатые пружины.[11]
- Торсионная подвеска
- Подвеска автомобиля, в которой упругими элементами являются торсионы.[12]
- Резиновая подвеска
- Подвеска автомобиля, в которой упругими элементами являются монолитные резиновые детали.[13]
- Пневматическая подвеска
- Подвеска автомобиля, в упругих элементах которой использован сжатый газ (обычно, воздух).[14]
- Гидропневматическая подвеска
- Подвеска автомобиля, в которой передача давления сжатому газу производится жидкостью.[15]
Классификация по конструктивной специфике
- Адаптивная подвеска
- Подвеска автомобиля, способная автоматически изменять характеристики гасящих устройств (амортизаторов).
- Активная подвеска
- Подвеска автомобиля, способная на основе показаний различных датчиков моментально подстраивать жёсткость упругих элементов под дорожные неровности.
История
Гужевой транспорт очень долго обходился без подвески как таковой, так как при небольших скоростях движения настоятельной необходимости в ней не возникало.
Между тем, с развитием дорожной сети скорости движения повышались, как и требования к комфорту. Первой по времени изобретения системой подрессоривания стала подвеска (в самом буквальном смысле) салона кареты на длинных цепях или кожаных ремнях. При небольших скоростях движения она достаточно эффективно гасила возникающие при проезде неровностей дороги толчки, снижая частоту колебаний салона до комфортного уровня.
Первая подвеска современного типа, включающая направляющие и упругие элементы — на продольных рессорах — была запатентована англичанином Обадией Элиоттом (Obadiah Elliott) в 1804 году, и вскоре получила распространение в Западной Европе. Рессоры могли делаться как из стали, так и — для лёгких экипажей — из упругого дерева, на манер луков. Примерно тогда же на лёгких двухколёсных экипажах появилась подвеска с одной поперечной рессорой. Однако в менее развитых странах ещё долго использовалась подвеска на кожаных ремнях, так как на плохой дороге рессорная подвеска не обеспечивала должного комфорта из-за передаваемых ею толчков и часто ломалась из-за несовершенства тогдашней металлургии.
В этом виде рессорная подвеска была унаследована первыми автомобилями, а на грузовом транспорте — не претерпела радикальных изменений вплоть до настоящего времени.
В 1898 году французской фирмой Decauville была применена первая независимая подвеска — свечная, с неподвижными направляющими стойками и прикреплённой к скользящим по ним поворотным кулакам поперечной рессорой.
Первое применение в автомобильной подвеске амортизаторов относится к 1901 году, когда француз Морс оснастил ими гоночный автомобиль, 20 июня 1901 года под управлением Анри Фурнье первым пришедший к финишу престижной гонки Париж-Берлин.
Витые пружины вместо рессор были впервые применены в 1906 году американской фирмой Brush Motor Company на модели Runabout.
К 1920 году относится первое применение в подвеске торсионов, осуществлённое на модели английской фирмы Leyland.
На протяжении 1930-х — 1950-х годов конструкторами были опробованы практически все основные схемы подвесок, используемые по настоящее время. За последующие десятилетия из их числа были отобраны несколько наиболее приемлемых с точки зрения сочетания технических, экономических и технологических качеств, которые и получили повсеместное распространение.
В настоящее время абсолютное большинство легковых автомобилей использует подвески, по своему устройству сводящиеся к одной из трёх конструктивных схем — независимая подвеска «макферсон», независимая подвеска на двойных поперечных рычагах (включая так называемые «многорычажные») или полузависимая подвеска со скручивающейся балкой. На грузовом транспорте всё ещё доминирует схема с продольными рессорами.
Основные установочные параметры подвески
Колея и колёсная база
Колея́ — поперечное расстояние между осями пятен контакта шин с дорогой.
Колёсная ба́за — продольное расстояние между осями передних и задних колёс.
Кли́ренс, дорожный просвет — расстояние между низшей точкой автомобиля и дорожным покрытием.
Плечо обката

Рассмотрим переднюю подвеску автомобиля.
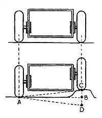
В связи с её конструктивными особенностями (например, такими, как размещение внутри колёс тормозного механизма и части деталей подвески), плоскость вращения колеса и ось его поворота в большинстве случаев не совпадают и оказываются на определённом расстоянии друг от друга. Это расстояние, измеренное на уровне поверхности земли, и называется плечом обката (обкатки).
Таким образом, плечо обката (Scrub Radius) — это расстояние по прямой между точкой, в которой ось поворота колеса пересекается с дорожным полотном, и центром пятна контакта колеса и дороги (в ненагруженном состоянии автомобиля). При повороте колесо «обкатывается» вокруг оси своего поворота по этому радиусу.
Оно может быть нулевым, положительным и отрицательным (все три случая показаны на иллюстрации).
В течение десятилетий на большинстве автомобилей использовались сравнительно большие положительные значения плеча обката. Это позволяло уменьшить усилие на рулевом колесе при парковке по сравнению с нулевым плечом обката (потому что колесо катится при повороте руля, а не просто проворачивается на месте) и освободить место в подкапотном пространстве за счёт выноса колёс «наружу».
Однако со временем стало ясно, что положительное плечо обката может быть опасным — например, при наезде колёс одного борта на участок обочины, имеющий отличный от основной дороги коэффициент сцепления, отказе тормозов одной стороны, проколе одной из шин или нарушении регулировки руль начинает сильно «рваться из рук». Этот же эффект наблюдается при большом положительном плече обката и при проезде любой неровности на дороге, но плечо всё же делали достаточно малым, чтобы при нормальном вождении он оставался малозаметен.
Начиная с семидесятых-восьмидесятых годов, по мере увеличения скоростей движения автомобилей, и в особенности — с распространением подвески типа «Макферсон», легко допускающей это с технической стороны, стали массово появляться автомобили с нулевым или даже отрицательным плечом обката. Это позволяет минимизировать описанные выше опасные эффекты.
Citroёn ещё на модели DS 1956 года применил оригинальную конструкцию передней подвески, в которой ось поворота колеса лежала на центральной плоскости его вращения, что стало возможным благодаря исключительно компактной ступице, вместе с шаровыми шарнирами полностью разместившейся внутри имевшего большой вылет колеса, и выносу тормозных механизмов к главной передаче. Соответственно, плечо обкатки оказалось равно нулю. Однако распространения эта конструкция не получила.
Отрицательное плечо обката впервые было применено в 1966 году на американских Oldsmobil Toronado и Cadillac Eldorado. В 1972 году на Audi 80 большое (—18 мм) отрицательное плечо обката было дополнено диагональной схемой разделения тормозных контуров, которая позволила повысить эффективность торможения в случае выхода из строя одного из контуров системы (при положительном плече обката машина с такой тормозной системой при выходе из строя одного из контуров становилась бы при торможении неустойчивой). Впоследствии оба конструктивных решения стали применяться массово.[16]
Например, на «классических» моделях ВАЗ плечо обката было большим положительным, на «Ниве» ВАЗ-2121 благодаря более компактному тормозному механизму с плавающей скобой его уменьшили почти до нуля (24 мм), а на переднеприводном семействе LADA Samara — плечо обката стало уже отрицательным. Mercedes-Benz как правило предпочитал на своих заднеприводных моделях иметь нулевое плечо обкатки.
Плечо обката определяется не только конструкцией подвески, но и параметрами колёс. Поэтому при подборе незаводских «дисков» (по принятой в технической литературе терминологии эта часть именуется «колесо» и состоит из центральной части — диска и внешней, на которую сажается шина — обода) для автомобиля следует соблюдать указанные заводом-изготовителем допустимые параметры, особенно — вылет, так как при установке колёс с неправильно подобранным вылетом плечо обката может сильно измениться, что весьма существенно сказывается на управляемости и безопасности автомобиля, а также на долговечности его деталей.
Например, при установке колёс с нулевым или отрицательным вылетом при предусмотренном с завода положительном (к примеру, слишком широких) плоскость вращения колеса сдвигается наружу от не меняющейся при этом оси поворота колеса, и плечо обката может приобрести излишне большое положительное значение — руль при этом начинает «рваться из рук» на каждой неровности дороги, усилие на нём при парковке превышает все допустимые величины (из-за увеличения плеча рычага по сравнению со штатным вылетом), а износ ступичных подшипников и других компонентов подвески существенно увеличивается.
Развал и схождение.

Развал — угол наклона плоскости вращения колеса, взятый между ней и вертикалью. Считается положительным, если верхняя часть колеса наклонена наружу, и отрицательным — если внутрь.
В большинстве случаев под «развалом» понимают статический развал управляемых колёс, задаваемый при техническом обслуживании автомобиля.
Основное назначение статического развала управляемых колёс — уменьшать передачу на руль их движения, возникающего вследствие наезда на мелкие неровности покрытия. Вместо того, чтобы передаваться через рулевую трапецию на руль, благодаря развалу они гасятся за счёт упругости покрышек, что снижает количество корректирующих движений руля и, соответственно, утомляемость водителя. Кроме того, развал обеспечивает максимальный контакт протектора шины с поверхностью дороги при движении автомобиля и устойчивость на поворотах, влияя, следовательно, на устойчивость и управляемость, а также влияет на интенсивность и характер износа протектора шин. С точки зрения кинематики подвески развал, наряду с углом поперечного наклона оси поворота управляемого колеса, оказывает влияние на величину радиуса обката, но влияние его ощутимо меньше, чем второго упомянутого параметра.
Также развал позволяет компенсировать наличие определённого конструктивно необходимого зазора в конических роликовых подшипниках ступиц колёс (в настоящее время применяется только на устаревших моделях) — благодаря наклону оси колеса зазор выбирается весом автомобиля.
В случае подвески большинства типов, за исключением «макферсона», статический развал передних управляемых колёс имеет небольшое положительное значение (колёса наклонены наружу) — обычно в пределах от 0’ до 45’, редко до 2°. Большой же отрицательный развал («колёса домиком») является признаком износа подвески либо её неправильной регулировки. Такое его значение позволяет снизить усилия на управляемых колёсах и уменьшить передачу на рулевое управление рывков, возникающих при проезде неровностей дороги. Однако в автомобилях с подвеской «макферсон» (о ней см. ниже) используется нулевой или небольшой отрицательный развал, что связано с отличием иных установочных параметров данной подвески, вызванным её конструктивными особенностями.
Стоит отметить, что на практике угол развала задаётся весьма грубо (допуск при его установке обычно сравним с его величиной) и, к тому же, довольно сильно меняется при работе подвески (даже у имеющей весьма совершенную кинематику подвески на двух поперечных рычагах как правило при максимальном ходе сжатия изначально заданный положительный развал сменяется отрицательным). Так что на практике его установка преимущественно влияет на равномерность износа протектора передних шин — неправильно выставленный развал приводит к повышенному износу внутренней или наружной стороны протектора шины. Кроме того, развал должен быть одинаковым с обеих сторон, так как при одностороннем наклоне колес автомобиль начинает «вести» в сторону при движении по прямой.
При движении автомобиля работа его подвески может вызывать существенное изменение изначальной установки развала колёс, появляющийся вследствие этого развал называется динамическим. Он оказывает существенное влияние на поведение автомобиля на дороге, его устойчивость и управляемость (см. ниже).
Схождение — угол между направлением движения и плоскостью вращения колеса; считается положительным, если передний край колес направлен внутрь и отрицательным, если наружу относительно продольной оси автомобиля («расхождение»). Может измеряться и в миллиметрах — как расстояние между кромками колёс (что на практике более удобно при регулировке подвески).
На управляемых колёсах схождение в основном необходимо для того, чтобы скомпенсировать возникающий в результате наличия у них положительного развала увод (динамическую дестабилизацию), что существенно снижает износ шин. Оба угла взаимосвязаны и регулируются исключительно в связке. Если нарушен развал — тогда нельзя выставить схождение, то есть, первым регулируется всегда развал. Динамическое изменение схождения на передних управляемых колёсах, возникающее при работе подвески, на практике не играет большой роли, поскольку легко компенсируется управляющим воздействием со стороны водителя.
На неуправляемых колёсах задней оси значение схождения может меняться при работе подвески, причём характер этого изменения оказывает существенное влияние на устойчивость и управляемость автомобиля. В независимой задней подвеске (а также и в зависимой, допускающей регулировку схождения) всегда выставляют небольшое положительное схождение, что улучшает устойчивость автомобиля к заносу, в то время, как даже небольшое «расхождение» колёс задней оси (выставленное ли при регулировке, или возникшее при работе подвески) может привести к повышенной склонности к заносу (избыточная поворачиваемость) и, соответственно, ухудшению устойчивости и управляемости. Излишне большое положительное значение схождения, напротив, приводит к сильной недостаточной поворачиваемости (склонность к сносу передней оси), что также может негативно сказаться на управляемости, особенно на неровном покрытии.
Кастер (угол продольного наклона шкворня)

Кастер, или кастор, — это продольный угол оси поворота колеса, взятый между ней и вертикалью.
При наклонённой назад (положительный кастер) оси поворота колесо во время движения само стремится занять положение позади этой оси, что создаёт эффект динамической стабилизации, который можно уподобить поведению колёсика рояля или офисного стула — при качении оно всегда само занимает положение позади своей оси (во многих европейских языках такое колёсико как раз и называется «кастером» или «кастором»). При движении в повороте боковые силы реакции дороги также стараются вернуть колесо в исходное положение, так как прикладываются позади оси его поворота, что обеспечивает «самовозврат» рулевого колеса в нейтральное положение, так называемую «обратную связь» в рулевом управлении. Благодаря наличию положительного кастера заднеприводный автомобиль продолжает ехать прямо при отпущенном руле, даже несмотря на воздействие возмущающих сил — неровностей дороги, бокового ветра и так далее. Колесо, имеющее положительный кастер, старается занять положение, соответствующее прямолинейному движению, даже если лопнула одна из рулевых тяг.
Поэтому на заднеприводных автомобилях оси поворота передних колёс всегда наклоняют назад. Точнее говоря, на автомобилях общего назначения (не спортивных) в течение десятилетий, примерно до 60-х годов в Европе и середины 70-х в Северной Америке, значение кастора в передней подвеске было близким к нулю (инструкцией по обслуживанию рекомендовалось обычно устанавливать его в пределах 0…+1°), что соответствовало наименьшему усилию на руле (при большом положительном кастере водителю приходится бороться с возникающими при повороте управляемых колёс дополнительными силами, стремящимися вернуть их в нейтральное положение, что существенно увеличивает усилие на руле); и лишь после существенного ужесточения требований к управляемости автомобилей производители перешли на большие значения положительного кастера (2…3°, а на современных моделях и до 6…8°), что со временем, в сочетании с другими мерами, направленными на улучшение управляемости массовых автомобилей (увеличение ширины шин, переход к отрицательному плечу обката, и так далее), сделало применение усилителя рулевого управление необходимым на автомобилях большинства классов.
По той же причине вилку переднего колеса на мотоциклах и велосипедах тоже всегда наклоняют назад.
Отсюда вытекает и совершенная недопустимость при тюнинге заднеприводных автомобилей чрезмерно лифтовать заднюю подвеску — при этом кузов вместе с осью поворота передних колёс наклоняется вперёд, и кастер становится нулевым или даже отрицательным, при этом эффект динамической стабилизации передних колёс сменяется их динамической дестабилизацией, что значительно затрудняет управление автомобилем и делает его опасным. Большинство передних подвесок автомобилей имеют возможность регулировки кастера в небольших пределах для компенсации нормального износа в процессе эксплуатации. В особенности это касается сравнительно старых моделей, имеющих обычно весьма небольшое положительное значение кастера.
Для переднеприводного автомобиля положительный кастер намного менее актуален, так как передние колёса уже не свободно катятся, а тянут машину за собой, и небольшое его положительное значение сохраняют лишь для большей устойчивости при торможении.
Угол поперечного наклона шкворня
Угол поперечного наклона шкворня (оси поворота колеса) отвечает за весовую стабилизацию управляемых колёс автомобиля. Благодаря наличию у оси его поворота поперечного наклона колесо стремится вернуться к нейтральному положению в повороте под воздействием массы автомобиля (самовозврат руля в повороте).
Основные характеристики подвески
Упругая характеристика

Качество подвески определяется её упругой характеристикой, представляющей собой зависимость вертикальной нагрузки на колесо G (Н) от прогиба подвески f (мм), измеряемого непосредственно над осью колеса. Так как из-за влияния трения и других факторов эта зависимость носит различный характер при ходах сжатии (кривая нагрузки) и отбоя (кривая разгрузки), за упругую характеристику подвески условно принимают среднюю линию между этими кривыми.
Также упругие свойства подвески характеризуют статический прогиб, динамический ход, жёсткость подвески, энергоёмкость и ряд других параметров.
Статический прогиб подвески, или её статический ход, — прогиб подвески под воздействием статической нагрузки (веса автомобиля), определяется как взятое по вертикали расстояние между положениями оси колеса, соответствующими отсутствию нагрузки (вывешенные колёса) и полной статической нагрузке (обычно за неё принимается вес автомобиля с наиболее типичной эксплуатационной загрузкой, также см. ниже). Как правило, по величине статический прогиб примерно равен динамическому ходу или несколько меньше его. Для полноприводных автомобилей повышенной проходимости обычно составляет 85…100 мм. При нагрузке, соответствующей статическому прогибу подвески, как правило её рычаги оказываются в горизонтальном положении, а рессоры — полностью распрямляются, что задаёт правильную кинематику подвески при дальнейшей работе.
Динамический ход подвески — прогиб подвески под воздействием сил реакции дороги, возникающих при движении по ней, вплоть до полного сжатия ограничителя хода подвески; взятое по вертикали расстояние между положениями оси колёса, соответствующими полной статической нагрузке и полному прогибу ограничителя хода сжатия подвески (резинового буфера). Для хороших дорог динамический ход подвески может составлять и 30…40 мм, для дорог среднего качества же считается необходимым иметь как минимум 70-80 мм, для автомобилей повышенной проходимости — более 100 мм. Максимум хода подвески ограничен величиной, при которой изменение её установочных параметров (развала и схождения колёс) становится неприемлемо большим, а также возможностями её резиновых элементов, работающих на скручивание. При полном ходе сжатия витки пружины не должны входить в контакт друг с другом, а шток амортизатора — сохранять некоторый остаточный ход.
Вместе статический и динамический ходы подвески составляют полный ход подвески. Например, у «Волги» ГАЗ-21 статический прогиб передней подвески составлял 87 мм, динамический ход — 101 мм, полный — 188 мм; такая подвеска была весьма комфортабельна на дорогах любого качества.
Ходы подвески напрямую связаны с величиной статической нагрузки автомобиля, при этом конструкторам приходится учитывать условия его эксплуатации. Так, в Европе обычно за статическую берут величину прогиба подвески при посадке в салон водителя и двух пассажиров, при такой нагрузке спроектированный таким образом автомобиль имеет наилучшую плавность хода. Советские автомобили («Москвич», «Волга») проектировались обычно в расчёте на нагрузку, близкую к полной — например, для автомобиля «Москвич-2140» за статическую нагрузку принимались по 150 кг, или по два человека, на переднем и заднем сиденьях и 40 кг в багажнике. В результате ходы задней подвески получались больше, грузоподъёмность — выше (автомобиль меньше «проседал» при загрузке), а плавность хода при небольшой загрузке — при прочих равных несколько ниже (например, разница в плавности хода между «Москвичом» и «Жигулями» в пользу последнего автомобиля имеет свою причину именно в такой настройке подвески, а не в использовании листовых рессор на «Москвиче» — в общем случае любому типу упругого элемента подвески может быть придана требуемая жёсткость; при полной же нагрузке у «Москвича» повышается комфортабельность, а у «Жигулей» — задняя подвеска практически «ложится на ограничители»).
Жёсткость подвески (жёсткость хода подвески) — берётся как тангенс угла α наклона касательной к средней линии упругой характеристики подвески, или, в упрощённом виде, тангенс угла наклона упругой характеристики относительно оси абсцисс, единица измерения — Н/мм.
Стоит отметить, что жёсткость (хода) подвески не следует путать с жёсткостью использованного в ней упругого элемента (в данном разделе теории автомобиля упругий элемент принято называть «рессорой», вне зависимости от конкретного типа). Для использования в расчётах жёсткость рессоры приводится к жёсткости на колесе при помощи специального расчёта, методика которого зависит от типа направляющего аппарата подвески. Так, в пружинной подвеске с поперечными рычагами жёсткость на колесе определяется через соотношение между полной длиной рычага и расстоянием между осью качания рычага и точкой, в которой к нему приложено усилие со стороны пружины, а также наклон пружины (в подвеске «макферсон» — только наклон пружины).
Энергоёмкость (динамическая ёмкость) подвески характеризуется её коэффициентом динамичности, равном отношению вертикальной нагрузки на колесо при полном динамическом прогибе подвески Gmax к нагрузке на колесо при её статическом прогибе Gст.. У автомобилей общего назначения он обычно равен 2,5…3, у внедорожников — 3…4 и выше. Численно энергоёмкость определяется графическим способом, как площадь фигуры под графиком упругой характеристики подвески на участке между отложенными на оси ординат нагрузкой на колесо при полном динамическом прогибе подвески и нагрузкой на колесо при её статическом прогибе (на графике выделена серым).
Энергоёмкость характеризует способность подвески накапливать потенциальную энергию во время хода сжатия, что позволяет исключить разрушающую автомобиль работу подвески «на пробой» при езде по неровной дороге. Увеличена эта способность может быть либо увеличением ходов подвески (возможность чего ограничена компоновкой автомобиля), либо повышением её жёсткости (что ограничено требованиями обеспечения комфортабельности и плавности хода). На практике наилучшим компромиссом является использование в подвеске упругих элементов прогрессивной жёсткости, придающих ей нелинейную упругую характеристику — например, многолистовых рессор, специальных пружин с переменным шагом навивки, переменным диаметром навивки (конических, бочкообразных) или переменным диаметром прутка, а также использованных наряду с основными дополнительных пружин либо резиновых упругих элементов, играющих также роль буферов сжатия.
Плавность хода
Плавность хода характеризует способность подвески изолировать пассажирский салон автомобиля от возникающих при его движении усилий и толчков, обеспечивать уровень вертикального перемещения и вибрации в салоне, соответствующий наибольшей комфортабельности езды и наименьшей утомляемости водителя.
Проезжающий неровности дорожного покрытия автомобиль с точки зрения механики представляет собой колебательную систему, составные части которой — колёса, элементы подвески и кузов — совершают колебания с определённой частотой, поэтому в практике автомобилестроения для характеристики плавности хода обычно используется частота собственных колебаний кузова. Также удобно оценивать её по величине статического прогиба упругого элемента подвески под действием нагрузки, непосредственно определяющей характеристику подвески с точки зрения комфортабельности: чем больше статический прогиб упругого элемента — тем меньше частота собственных колебаний. Величина статистического прогиба, в свою очередь, определяется жёсткостью хода подвески и величиной её рабочего хода (см. выше).
Частоту собственных колебаний разделяют на высокую и низкую. Низкочастотные собственные колебания — колебания кузова на упругих элементах подвески, они должны находиться в пределах ориентировочно 60…120 кол/мин, что примерно соответствует частоте колебаний при ходьбе человека (обычно около 80 кол/мин); более низкая частота приводит к «морской болезни», более высокая — к дискомфорту. Высокочастотные собственные колебания — колебания осей между упругими элементами и шинами, обычно находящиеся в пределах 500…700 кол/мин. Задача подвески — «фильтровать» высокочастотные колебания неподрессоренных масс, не допуская превышения вышеуказанных значений низкочастотных колебаний кузова.
Крайне важно соотношение между жёсткостью хода передней и задней подвесок: чем более жёстким будет ход задней подвески относительно передней, тем дальше вперёд сдвигается точка минимальной амплитуды колебаний кузова, соответствующая зоне наибольшей комфортабельности. Данная величина непосредственно связана с таким параметром автомобиля, как распределение массы по осям. Если масса автомобиля распределена по осям приблизительно равномерно, как, например, у большинства автомобилей «классической» компоновки — то и жёсткость хода передней и задней подвесок должна быть примерно равной. Если на заднюю ось приходится большая нагрузка, чем на переднюю, как у многих заднемоторных автомобилей — задняя подвеска для сохранения приемлемого комфорта должна быть мягче передней примерно во столько же раз, во сколько нагрузка на заднюю ось превышает нагрузку на переднюю; при большей нагрузке на переднюю ось, как у многих переднеприводных автомобилей — напротив, передняя подвеска должна иметь меньшую жёсткость хода, чем задняя. То же касается и статического прогиба подвески — для обеспечения плавности хода желательно, чтобы соотношение статических прогибов задней и передней подвесок примерно соответствовало распределению веса автомобиля по осям при наиболее типичной эксплуатационной загрузке.
Наиболее простыми способами обеспечения высокой плавности хода являются применение мягкой, длинноходной подвески и всемерное уменьшение неподрессоренных масс (см. ниже). Мнение, гласящее, что более мягкая подвеска приводит к ухудшению управляемости, в целом не соответствует действительности — при правильном подборе кинематики и установочных параметров подвески, а также хорошей амортизации, автомобиль вполне может сочетать хорошую управляемость и мягкую, комфортную подвеску — хотя это зачастую и требует применения дорогостоящих технических решений и хорошей проработки конструкции шасси (использование подвесок, обеспечивающих минимальные изменения установочных параметров даже при больших ходах, компенсация продольного и поперечного крена за счёт особенностей конструкции подвески).
Более того — мягкие упругие элементы и большие ходы подвески способствуют лучшему сцеплению шин с дорогой, а также значительно уменьшают силы, передаваемые на кузов в виде удара, что повышает долговечность последнего. Жесткость подвески должна соответствовать массе и другим параметрам автомобиля, и слишком большое её значение лишь ухудшает его устойчивость и управляемость, так как снижается сцепление колёс с дорогой, являющееся главной предпосылкой и устойчивости, и управляемости.
Так, по данным Й. Раймпеля[17], мягкая подвеска с жёсткостью упругого элемента порядка 10 Н/мм по сравнению с жёсткой «спортивной» подвеской с жёсткостью упругого элемента порядка 20 Н/мм обеспечивает существенно лучшее сцепление шин с дорогой при проезде неровностей покрытия. Судить об этом позволяет величина остаточной силы, воздействующей на колесо в момент касания им дна выбоины и в этот момент обеспечивающей его сцепление с дорогой — а она в приведённом Раймпелем примере для мягкой подвески оказывается при прочих равных более, чем в 1,5 раза выше, чем для жёсткой. Более высокое значение остаточной силы означает лучшее сцепление с дорогой.
Иными словами, колесо с мягкой подвеской лучше следует профилю дорожного покрытия, больше времени находится в контакте с ним, а следовательно — и обладает лучшим сцеплением, в то время, как колесо с жёсткой подвеской имеет нестабильный и в целом существенно худший контакт с дорогой, теряя сцепление на малейшей неровности. Учитывая, что покрытие даже на хорошей асфальтированной дороге никогда не бывает идеально ровным, это значительно сказывается на устойчивости и управляемости дорожного автомобиля: при проезде неровностей водитель теряет чувство контроля над автомобилем, возникает угроза потери сцепления и управляемости (в автоспорте это называется «подбросом»). Кроме того, сила, передаваемая на кузов в виде удара при проезде выступа дорожного покрытия (например, «дорожного полицейского»), у мягкой подвески в приведенном там же примере оказывается при прочих равных вдвое меньше, чем у жёсткой (без учёта влияния демпфирования).
Жёсткая подвеска, таким образом, пригодна главным образом для чисто-спортивных автомобилей, используемых для заездов по специально оборудованным участкам трассы. Обусловленное же мягкостью подвески большое значение крена в повороте не является, как это показано ниже по тексту, непосредственной причиной ухудшения устойчивости или управляемости (это происходит лишь при определённой конструкции независимой подвески), и при необходимости сравнительно легко компенсируется за счёт кинематики подвески либо введения стабилизаторов поперечной устойчивости.
В наибольшей степени и на управляемость, и на комфортабельность автомобиля оказывает влияние жёсткость его подвески при небольших ходах, характерных для движения по ровному или имеющему лишь незначительные неровности покрытию, так как крупные неровности обычно проезжаются на невысокой скорости. Поэтому в большинстве случаев конструктор современного дорожного автомобиля старается за счёт использования упругих элементов с переменной жёсткостью или нескольких упругих элементов подобрать такую характеристику подвески, которая обеспечивает плавное нарастание жёсткости при сравнительно небольших усилиях и резкий нелинейный её рост ближе к концу рабочего хода. При этом подвеска будет в обычных условиях, когда её рабочие ходы невелики, восприниматься как мягкая и комфортабельная и обеспечивать хорошее «держание дороги» шинами за счёт обеспечения их стабильного контакта с покрытием, но при этом — обладать достаточной энергоёмкостью, что выражается в способности проезжать через крупные неровности без «пробоя». В сочетании с хорошим демпфированием такая настройка соответствует лучшему поведению автомобиля на сравнительно ровном покрытии и сводит к минимуму такие нежелательные явления, как «галопирование» (продольная раскачка автомобиля при проезде неровностей).
Кинематика
Кинематическая характеристика подвески описывает характер изменения положения колеса при её рабочих ходах, включая как вертикальное перемещение, так и изменение установочных параметров — развала и схождения.
Эластокинематика
Эластокинематика подвески — характер изменения положения колес автомобиля относительно его кузова, происходящего под действием продольных и боковых сил и моментов и обусловленного применением в подвеске эластичных элементов (сайлент-блоки, рессоры и так далее).
Демпфирующая характеристика
Демпфирующая характеристика описывает демпфирующие свойства подвески — характер гашения возникающих в ней колебаний, отдельно при ходе сжатия и отбоя, обусловленный её конструкцией и применёнными амортизаторами. Как правило, описывается графиком зависимости скорости прогиба подвески в м/с от приложенной силы. Может быть линейной или носить более сложный характер (многоуровневое демпфирование, прогрессивная кривая амортизации и демпфирования), достигаемый как правило за счёт использования амортизаторов с прогрессивной характеристикой.
Подрессоренные и неподрессоренные массы

Неподрессоренная масса включает в себя массу деталей, вес которых при неподвижном нагруженном автомобиле непосредственно передаётся на дорогу (опорную поверхность).
Остальные детали и элементы конструкции, масса которых передаётся на поверхность дороги не непосредственно, а через подвеску, относят к подрессоренным массам.
Более конкретные способы определения неподрессоренных масс описывают национальные и международные стандарты. Например, согласно стандарту DIN рессоры, рычаги подвески, амортизаторы и пружины относятся к неподрессоренным массам, а торсионные стержни — уже к подрессоренным. Для стабилизатора поперечной устойчивости же, половина массы берётся как подрессоренная, а половина — как неподрессоренная.
Таким образом, точно определить величину неподрессоренных и подрессоренных масс можно либо на специальном стенде, либо имея возможность точно взвесить все детали ходовой части автомобиля и проведя соответствующие расчёты.
Числовое значение неподрессоренных и подрессоренных масс необходимо для расчёта характеристик колебаний автомобиля, которые определяют плавность его хода и, соответственно, комфортабельность.
В общем случае, чем больше неподрессоренная масса — тем хуже плавность хода, и напротив — чем она меньше, тем ход автомобиля плавней. Точнее говоря, всё зависит от соотношения подрессоренной и неподрессоренной масс. Хорошо известно, что гружёный грузовик (существенно увеличивается подрессоренная масса при постоянной неподрессоренной) идёт ощутимо плавнее, чем порожний.
Кроме того, величина неподрессоренной массы оказывает непосредственное влияние на характер работы подвески автомобиля. Если неподрессоренная масса очень велика (скажем, в случае зависимой задней подвески заднеприводного автомобиля в виде неразрезного моста, объединяющего в массивном картере редуктор главной передачи, полуоси, ступицы колёс, тормозные механизмы и сами колёса) — то велики и силы инерции, возникающие в подвеске при проезде неровностей. Это означает, что при проезде последовательных неровностей («волн» покрытия) на скорости тяжёлый задний мост просто не будет успевать «приземляться» под воздействием упругих элементов, и сцепление колес с дорогой существенно падает, что создаёт возможность для очень опасного сноса задней оси, особенно на покрытии с малым коэффициентом сцепления (скользком).
Подвеска с малыми неподрессоренными массами, например большинство типов независимой или зависимая типа «Де Дион», практически свободна от этого недостатка.
Работа подвески
Подвеска автомобиля включается в работу при проезде неровностей дорожного покрытия, прохождении поворотов и совершении бокового манёвра, а также разгоне и торможении.
Силы, действующие на колесо
В пятне контакта колеса с дорожным покрытием приложены различные силы реакции, которые можно разделить на несколько типов, в соответствии с направлением, в котором они действуют: вертикальные, продольные и поперечные (боковые).
Действующая на колесо нагрузка, то есть, приходящаяся на данное колесо часть общего веса автомобиля, вызывает в пятне контакта равную ей по величине вертикальную (нормальную) силу реакции со стороны дороги. При проезде неровностей покрытия возникает перегрузка, достигающая при быстром движении по разбитой дороге до 3g (а при ударах о препятствие — и до 4,5g), что вызывает соответствующее изменение вертикальной реакции, которое и воспринимается подвеской при её рабочих ходах.
При приложении к ведущему колесу крутящего момента от двигателя в пятне контакта возникает приложенная к дороге сдвигающая сила, порождающая в ответ направленную по ходу автомобиля продольную силу реакции — силу тяги. Аналогично, при торможении тормозной момент вызывает действующую в продольном направлении силу реакции — тормозную силу, противодействующую движению автомобиля.
При качении эластичного колеса по твёрдой поверхности на деформацию резины затрачивается определённое количество энергии, которая преобразуется в тепловую — нагрев шины. Эта потеря колесом энергии проявляется в виде приложенной в пятне контакта продольно направленной силы сопротивления качению колеса, величина которой зависит главным образом от конструкции шины, нагрузки на колесо и скорости его качения (обычно равной скорости автомобиля).
При движении в повороте, перестроении и любом другом боковом манёвре, при нахождении на наклонном в поперечном направлении участке дороги, под воздействием бокового ветра на автомобиль начинает действовать боковая сила (в первом случае — центробежная сила инерционной природы, во втором — составляющая силы тяжести, в третьем — сила давления ветра), в ответ на которую в пятне контакта колеса возникает поперечная (боковая) сила реакции (сила сопротивления боковому скольжению), передающаяся от оси к подресоренным массам в точке центра поперечного крена подвески (см. ниже).
Устойчивость и управляемость автомобиля
От характера работы подвески напрямую зависят такие характеристики автомобиля, как устойчивость, управляемость и плавность хода.
Устойчивость характеризует способность подвески противодействовать явлениям, угрожающим безопасности движения — в первую очередь, заносу и опрокидыванию. Производной устойчивости является управляемость автомобиля, которая характеризует его способность предсказуемо и безопасно подчиняться командам водителя.
Понятие устойчивости включает в себя курсовую устойчивость — способность автомобиля оставаться на прямой траектории и не отклоняться от неё помимо воли водителя, несмотря на возмущающее действие различных сил, устойчивость против бокового заноса и устойчивость против опрокидывания.
Курсовая устойчивость автомобиля может нарушаться вследствие возмущающего воздействия неровностей дорожного покрытия или сильного бокового ветра. Её повышение достигается введением наклона осей поворота управляемых колёс назад (положительный кастор), увеличением колёсной базы, что уменьшает плечо воздействующих на автомобиль боковых сил, применением привода на передние колёса, а также использованием аэродинамических эффектов для противодействия боковому ветру (аэродинамические кили в хвостовой части либо клиновидная форма кузова).
Угроза бокового заноса и опрокидывания возникает при совершении водителем бокового манёвра (перестроение, обгон и так далее) и движении автомобиля на повороте, когда на него воздействует центробежная сила, вызывающая боковой крен — отклонение кузова от вертикального положения.
Опрокидывание автомобиля происходит в том случае, когда приложенная к его центру тяжести равнодействующая его веса и центробежной силы выходит за пределы его колеи. В целом, более низкий автомобиль с более широкой колеёй будет более устойчив. Помимо высоты центра тяжести, на устойчивость автомобиля к опрокидыванию также оказывают влияние его боковое смещение относительно продольной оси симметрии и распределение веса по осям.
Боковой занос является следствием потери бокового сцепления колёс с дорогой из-за превышения центробежной силой критического значения, после которого боковое сцепление шин с поверхностью дороги уже не может ей противодействовать, в результате чего начинается боковое скольжение той оси, которая потеряла сцепление с дорогой.
В большинстве случаев боковое скольжение наступает раньше опрокидывания: при потере автомобилем устойчивости сначала обычно начинается боковой занос, который затем при определённых обстоятельствах может привести к опрокидыванию.
В целом, с некоторым упрощением можно сказать, что хорошая управляемость — это способность колёс автомобиля в любых условиях передавать как можно большие боковые силы, не срываясь в боковое скольжение. Таким образом, главная функция подвески с точки зрения обеспечения устойчивости и управляемости автомобиля — сохранение наилучшего возможного сцепления его шин с дорогой путём обеспечения постоянства пятна их контакта с покрытием и минимального изменения установочных параметров, или такого их изменения, которое способствует сохранению способности колёс передавать боковые силы. Изменение установочных параметров и геометрии подвески при её работе (как при проезде неровностей покрытия, так и при кренах кузова в повороте) должно быть по возможности минимальным и предсказуемым, для чего в ней должны присутствовать элементы, воспринимающие усилия во всех направлениях — нормальном (перпендикулярном дорожному полотну), боковом (поперечном, латеральном) и продольном. Это позволяет достаточно жёстко задавать кинематику подвески.
Использование в подвеске упругих частей, вроде резинометаллических шарниров или листовых рессор, повышает комфортабельность за счёт смягчения передачи усилий и жёстких толчков на кузов или раму, способствует повышению долговечности, но вносит в перемещение элементов подвески определённую непредсказуемость, что требует введения в неё дополнительных элементов, устраняющих или компенсирующих изменение её установочных параметров в результате возникающих деформаций. На чисто-спортивных автомобилях подвеска обычно собирается на жёстких соединительных элементах — резьбовых втулках и шаровых шарнирах, которые обеспечивают постоянство геометрии при низкой комфортабельности и ограниченной долговечности.
Крен, центры и ось крена
При выполнении водителем бокового манёвра, отклонении от прямолинейного движения из-за воздействия возмущающих сил или прохождении поворота на автомобиль начинает действовать имеющая инерционную природу боковая (центробежная) сила, направленная от центра поворота, которая обуславливает возникновение бокового крена и боковых сил реакции в пятнах контакта его шин с поверхностью дороги.
Для описания характера возникающего при этом бокового крена используется понятие центра поперечного крена.
Центр поперечного крена — это воображаемая точка, расположенная в вертикальной плоскости, которая проходит через центры колёс, и при крене автомобиля в каждый конкретный момент времени остаётся неподвижной.
Иными словами, это воображаемая точка, расположенная над воображаемой осью, соединяющей центры передних или задних колёс, вокруг которой кренится автомобиль (в повороте, при проезде неровностей, и так далее).
Его расположение определяется конструкцией подвески — её геометрией и кинематикой. Так как спереди и сзади её конструкция не обязательно одинакова, различают отдельно передний и задний центры поперечного крена — то есть, передняя и задняя подвески автомобиля обладают собственными центрами крена.
Соединяющая передний и задний центры поперечного крена линия — ось поперечного крена. Это та воображаемая ось, вокруг которой вращается кузов автомобиля при крене.
На автомобилях с зависимой задней подвеской как правило она достаточно сильно наклонена вперёд (на них передний центр поперечного крена обычно находится на, или даже под поверхностью дороги, а задний расположен сравнительно высоко). На автомобилях с независимой подвеской спереди и сзади ось поперечного крена обычно примерно параллельна поверхности земли и расположена сравнительно высоко.
При повороте центробежная сила действует на центр тяжести автомобиля, и его кузов начинает вращаться вокруг оси поперечного крена. Чем меньше плечо крена, то есть — чем ближе ось крена к центру тяжести автомобиля (далее — ЦТ), тем меньше кренится автомобиль, что позволяет повысить комфортабельность. С другой стороны — чем ближе центр крена к дорожному полотну, тем меньше рыскание автомобиля при проезде неровностей покрытия, что повышает курсовую устойчивость.
На практике как правило ось крена проходит сравнительно низко под ЦТ, так как из-за применения на серийных автомобилях высоких рядных двигателей и достаточно высокого размещения пассажиров в салоне их ЦТ оказывается достаточно высоким. Почти полное совмещение оси поперечного крена и ЦТ достигается или на низких спортивных автомобилях, особенно с низкими V-образными или оппозитными моторами, или за счёт такой геометрии подвески, при которой центр поперечного крена оказывается достаточно высоко: например, в подвеске с двойными поперечными рычагами или типа «макферсон» приближение центра поперечного крена к ЦТ достигается наклоном нижних рычагов вниз; обратная сторона такого решения — резкое увеличение изменения колеи и других установочных параметров при ходах подвески и изменении загрузки, соответственно — ухудшение устойчивости и управляемости в определённых условиях. На спортивных автомобилях центр крена всегда стараются расположить в районе полотна дороги, так как это повышает устойчивость автомобиля к заносу (сносу).
Так как геометрия подвески меняется при её работе, меняется и расположение центров крена. Поэтому говорят о мгновенном центре крена — центре крена в данный момент, с учётом текущего расположения элементов подвески, а также о мгновенной оси крена.
На бытовом уровне хорошую управляемость автомобиля часто понимают как высокую угловую жесткость подвески — её способность как можно больше ограничивать величину поперечного крена в повороте, «приседание» при разгоне и «клевок» при торможении. На самом деле это понимание является весьма неточным.
Угловая жёсткость подвески в поперечном направлении может быть увеличена как при помощи изменения жёсткости упругих элементов самой подвески, так и за счёт выбора её оптимальной геометрии, а также использования специальных устройств — стабилизаторов поперечной устойчивости. В целом, за счёт использования этих мер на любом автомобиле потенциально возможно добиться прохождения поворотов без возникновения заметного бокового крена. Однако на устойчивости и управляемости это сказалось бы не положительно, а отрицательно, так как отсутствие крена означает отсутствие работы подвески в повороте, призванной воспринимать возникающую в нём боковую силу, а следовательно — ухудшение сцепления колёс с дорогой.
Кроме того, на хорошо спроектированных автомобилях конструкторы всегда оставляют некоторую величину поперечного крена, соответствующую возможностям его шасси. Величина крена в повороте выбирается конструкторами с таким расчётом, чтобы появление его ощутимых величин сигнализировало водителю о начале вхождения автомобиля в опасный режим движения, при котором его подвеска уже не обеспечивает предсказуемого и безопасного поведения. Так, для высокого автомобиля с узкой колеей и неоптимальной кинематикой подвесок конструктор должен предусмотреть достаточно большое значение бокового крена в повороте, даже в ущерб комфортабельности езды, так как способность его шасси противодействовать боковому заносу невелика, и даже не очень резкий боковой манёвр может вызвать вхождение в опасный режим. Крен даёт водителю сигнал прекратить опасный манёвр.
Излишняя же для данной конструкции шасси угловая жёсткость подвески не улучшает управляемости, а, напротив, ухудшает работу шасси и снижает уровень активной безопасности автомобиля, в особенности — предназначенного для повседневной езды. Обычно принимается, что под действием боковой силы, равной 0,4 полного веса автомобиля, его кузов должен накрениться на 6…7°.
При определённой конструкции подвески автомобиль может сильно крениться в повороте, но проходить его безопасно, без потери бокового сцепления и нарушения устойчивости. Напротив, даже отсутствие или небольшое значение бокового крена совершенно не гарантирует безопасного прохождения поворота, возможность чего определяется в первую очередь способностью подвески и шасси в целом при данном режиме движения обеспечить наилучшее сцепление шин с асфальтом и сохранение безопасной, предсказуемой для водителя траектории движения автомобиля. Опрокидывание автомобиля также обусловлено не самим по себе креном, а его первопричиной — воздействующей на автомобиль боковой (центробежной) силой. Устранение крена не убирает воздействия этой силы на автомобиль, а следовательно и не устраняет возможности его опрокидывания при таком её значении, которое превосходит возможности его шасси — что, как уже указывалось, происходит обычно уже после потери автомобилем управляемости из-за потери бокового сцепления шин с дорожным покрытием и начала заноса.
В некоторых типах подвески, например — на продольных или треугольных косых рычагах, большие значения поперечного крена действительно оказывают негативное влияние на устойчивость автомобиля, так как вызывают такое изменение геометрии подвески, при котором ухудшается сцепление колёс с дорожным покрытием, а соответственно — падает и устойчивость автомобиля при прохождении поворота. Однако, например, в зависимой подвеске любого типа, а равно — и хорошо спроектированной подвеске на поперечных рычагах, крен оказывает намного менее существенное влияние на устойчивость автомобиля — его колёса остаются практически перпендикулярны покрытию даже при большом значении крена кузова, вплоть до момента опрокидывания.
Необходимость в мощном стабилизаторе поперечной устойчивости как правило появляется, если геометрия и кинематика подвески недостаточно продуманны — таким образом пытаются ограничить её рабочие ходы при прохождении поворота и, следовательно, уменьшить нежелательное изменение её установочных параметров («если подвеска плохо работает — нужно не давать ей работать»). У хорошо спроектированной подвески изменение установочных параметров в повороте является выгодным с точки зрения обеспечения устойчивости и управляемости, так что необходимости искусственно ограничивать её работу не возникает, и стабилизатор если и присутствует в конструкции — то в основном с целью повышения комфорта.
Динамическая разгрузка внутренних относительно оси поворота колёс и, напротив, догрузка внешних происходит под воздействием боковой силы и от величины крена практически не зависит.
Также величина поперечного крена влияет на некоторое боковое смещение центра тяжести (перенос масс вследствие крена), которое снижает устойчивость автомобиля к опрокидыванию, хотя не является его первопричиной, но на сравнительно невысоких легковых автомобилях этот эффект малозаметен (намного менее, чем, скажем, влияние на устойчивость автомобиля высоко размещённого в салоне или закреплённого на верхнем багажнике груза).
То же самое касается и продольного крена: негативное его воздействие на управляемость автомобиля наблюдается лишь при определённой конструкции подвески (например, задней на косых рычагах), а в других случаях он оказывает влияние по большому счёту лишь на комфортабельность. При необходимости продольный крен также достаточно легко устраняется введением так называемой «противоклевковой» (anti-dive / anti-squat) геометрии подвески.
Крен является динамическим процессом, при прохождении поворота его значение постоянно меняется, и характер этого изменения также существенно влияет на устойчивость автомобиля к опрокидыванию. Так, при недостаточной эффективности амортизаторов в затяжном повороте начинается поперечная раскачка автомобиля, вплоть до периодического отрыва внутренних относительно центра поворота колёс от дороги и даже опрокидывания в момент максимальной амплитуды раскачки. При хорошей амортизации значения крена меняются плавно, без раскачивания и резких колебаний кузова.
Силовой увод шин
Поведение автомобиля в повороте определяется в первую очередь характером взаимодействия его шин с дорожным покрытием, зависящим, в свою очередь, от качеств дорожного покрытия, режима движения, свойств используемых на автомобилях пневматических шин и кинематики подвески — характера перемещения колёс относительно кузова и дороги.

Наиболее важным свойством пневматической шины, оказывающим влияние на устойчивость и управляемость автомобиля, является силовой увод (динамическая дестабилизация) — упругое отклонение протектора шины от исходного среднего положения в пятне контакта с дорогой. Боковая сила, воздействующая на автомобиль (спроецированная на горизонтальную ось составляющая реакции в пятне контакта колеса, направленной к центру крена), старается увлечь его наружу от траектории поворота, однако этому противодействует сила трения протектора его шин о дорогу в поперечном направлении. Из-за эластичности боковины шины, её протектор в пятне контакта с дорогой начинает под воздействием этой силы смещаться относительно самого колеса в сторону центра поворота и поворачивается относительно плоскости его вращения, в результате чего колесо начинает самопроизвольно отклоняться от исходной, заданной водителем, траектории — это и есть силовой увод.
Величину увода колеса характеризует угол увода , измеряемый в градусах или радианах — это угол между реальным направлением качения колеса и заданным поворотом руля, или между плоскостью качения колеса и плоскостью его вращения. Превышение критического значения угла увода приводит к потере бокового сцепления шин с дорогой и началу бокового скольжения. Также в расчётах используется коэффициент сопротивления уводу , измеряемый в Н/град или Н/рад.
В теории автомобиля принята так называемая «щёточная» модель явления увода, в которой колесо представляется в виде абсолютно недеформируемого цилиндра, покрытого радиальными «щетинками», представляющими эластичную часть шины, деформируемую в радиальном и боковом направлениях.
Для определения численного значения существует несколько математических методик (по Д. А. Антонову, по Х. Пасейке и другие).
Кинематический увод шин, кинематический увод оси и эластокинематика подвески
Наряду с уводом, возникающим вследствие свойств самих шин (силовым уводом), в процессе работы подвески наблюдаются и другие типы увода.
Кинематический увод шины обусловлен наличием у колеса развала (наклона вбок) — включая и динамический, возникающий при работе подвески. Чем больше ширина профиля шины и угол развала, тем больше её кинематический увод и, соответственно, тем меньше её способность передавать боковые силы:
— где — угол развала, — эмпирический (получаемый опытным путём) коэффициент влияния угла развала шины на угол её увода, обычно находящийся в пределах от 1/6 до 1/4 (большие значения соответствуют большей ширине профиля шины). Данная зависимость в достаточной степени справедлива для большинства дорожных (не спортивных) шин.
Кинематический увод оси (моста) — непреднамеренный поворот колеса вправо или влево, обусловленный характером перемещения элементов направляющего аппарата подвески.
Также во многих подвесках наблюдается эластокинематическое изменение установочных параметров, обусловленное эластокинематикой подвески, деформацией её упругих деталей в процессе работы.
Например, при рабочих ходах зависимой подвески на продольных рессорах или двух продольных рычагах присутствует кинематический увод моста — мост поворачивается на определённый угол в горизонтальной плоскости («подруливает»), что при определённых условиях (если внешнее по отношению к центру поворота — так называемое «упорное» — колесо получает при этом отрицательное схождение — то есть, поворачивается в сторону, противоположную той, в которую повёрнуты управляемые колёса, наружу от центр поворота) может обуславливать появление избыточной поворачиваемости (см. ниже), причём уменьшение водителем подачи топлива в этом случае лишь усугубляет ситуацию (так называемое «ввинчивание» в поворот, то есть, его самопроизвольное усиление). Наряду с изменением схождения вследствие кинематического увода моста, такая подвеска испытывает и эластокинематическое изменение схождения — обусловленное податливостью самих рессор и их креплений (или, в рычажной подвеске, креплений рычагов): в повороте мост по инерции стремиться сохранить своё прежнее направление движения, из-за чего изменение его угла поворота немного «отстаёт» от кузова. при этом наружное колесо также получает небольшое отрицательное схождение.
И то, и то является нежелательным, так как снижает устойчивость автомобиля к заносу — преимущество здесь имеют подвески, в которых кинематический увод и эластокинематическое изменение установочных параметров практически отсутствуют, или же их характер придаёт автомобилю свойство недостаточной поворачиваемости (внешнее колесо приобретает положительное схождение, то есть, поворачивается в сторону центр поворота). Например, в так называемых «многорычажных» подвесках кинематический увод создаётся искусственно за счёт введения в конструкцию подвески дополнительных рычагов, причём его характер способствует улучшению управляемости автомобиля.
Боковой увод шасси
Боковой увод шасси (автомобиля) — отклонение фактического (действительного) направления движения автомобиля от его продольной оси, что является результатом совокупного воздействия на автомобиль всех видов увода всех его осей. Характеризуется углом бокового увода шасси (автомобиля), взятым между действительным направлением движения транспортного средства и его продольной осью.
Понятие о поворачиваемости


Итак, при движении автомобиля в повороте под воздействием боковой силы возникает явление бокового увода, в результате которого действительное направление движения автомобиля начинает отличаться от заданного поворотом рулевого колеса, после достижения определённого граничного значения переходящее в боковое скольжение из-за потери шинами сцепления с дорогой в поперечном направлении.
На практике боковое скольжение обычно начинается у колёс лишь одной из осей, поэтому непосредственное влияние на устойчивость и управляемость оказывает не только абсолютная величина увода, но и разница между величинами увода передних и задних колес.
Так, если увод передних колёс меньше, чем задних — в боковое скольжение первыми входят колёса задней оси (занос), а до этого момента автомобиль будет проявлять склонность усиливать начатый водителем поворот (отклонение действительного направления движения автомобиля в сторону центра поворота, уменьшение фактического радиуса поворота), что в пределе приводит к потере управляемости. В этом случае говорят о избыточной поворачиваемости автомобиля.
При обратном соотношении — увод передних колёс больше, чем задних — первыми скользить начинают колёса передней оси (снос), а до этого автомобиль стремится при отсутствии управляющего воздействия водителя выйти из поворота и вернуться к прямолинейной траектории движения (отклонение действительного направления движения автомобиля в сторону наружу от центра поворота, увеличение фактического радиуса поворота). Тогда говорят о недостаточной поворачиваемости.
Хотя природа обоих вышеупомянутых явлений идентична — боковое проскальзывание колёс одной из осей, после граничного значения переходящее в их боковое скольжение — избыточная поворачиваемость намного более опасна и при переходе в занос задней оси обычно приводит к потере управляемости, в то время, как недостаточная поворачиваемость сравнительно легко компенсируется водителем и считается безопасной настройкой шасси. Только на гоночных машинах, управляемых профессиональными пилотами за пределами дорог общего пользования, а также некоторых автомобилях с электронными системами обеспечения устойчивости (ESP), могут встречаться настройки шасси в сторону очень лёгкой избыточной поворачиваемости, что позволяет незначительно повысить предельную скорость прохождения поворота.
При нейтральной поворачиваемости, когда величины увода передних и задних колёс одинаковы, хотя траектория автомобиля в повороте выдерживается точно, но повышается чувствительность автомобиля к боковому ветру и любым другим случайным возмущениям — под их воздействием при прохождении поворота может внезапно произойти, в зависимости от направления поворота, либо снос передней оси (что ухудшает управляемость), либо занос (при котором происходит потеря управляемости).
Естественно, на практике тип поворачиваемости одного и того же автомобиля может существенно меняться в зависимости от условий движения. Так, проявляемая обычно близкая к нейтральной или лёгкая недостаточная поворачиваемость у заднеприводного автомобиля с недостаточно продуманной кинематикой задней подвески после достижения граничного значения действующих на него сил может сменяться на сильную избыточную, причём этот переход происходит внезапно для водителя и угрожает безопасности движения даже больше, чем постоянно проявляемая избыточная поворачиваемость. У переднеприводного автомобиля лёгкая недостаточная поворачиваемость в граничных условиях переходит в сильную, что также является небезопасным. Таким образом, на практике можно говорить лишь о склонности автомобиля к тому или иному типу поворачиваемости в данных конкретных условиях.
Численно избыточная поворачиваемость, в случае склонности автомобиля к ней, характеризуется величиной так называемой критической скорости по управляемости, то есть, такой скорости, при которой радиус поворота становится равен нулю, так как любое отклонение автомобиля от прямолинейного движения вызывает потерю управляемости:
— где , — нагрузка на переднюю и заднюю оси в Н; — колёсная база автомобиля, м; , — общий эквивалентный (с учётом всех видов увода) коэффициент сопротивления уводу всех колёс передней и задней оси, Н/рад.
Разумеется, на практике достичь данной скорости автомобиль не может (точнее, это возможно лишь в специально обеспеченных условиях — идеально ровная дорога, полное отсутствие бокового ветра и каких либо других возмущающих воздействий), более того, уже при скорости порядка его управляемость нарушается, фактический радиус поворота уменьшается по сравнению с кинематическим (заданным поворотом управляемых колёс) в два и более раз из-за бокового проскальзывания шин, резко повышается чувствительность к любым внешним воздействиям (порыв ветра, проезд неровностей дороги).
Для очень лёгких автомобилей (мотоколясок) с маленькими колёсами и диагональными шинами может составлять порядка 150—160 км/ч — то есть, уже при 75…80 км/ч их управляемость не вполне обеспечивается. Соответственно, максимальная скорость подобных транспортных средств ограничена 50-60 км/ч.
Недостаточная поворачиваемость характеризуется величиной характерной скорости:
При скорости, равной , фактический радиус поворота увеличивается по сравнению с кинематическим в два раза, то есть, автомобиль становиться очень сложно «заставить» поворачивать из-за стремления к возвращение на прямую траекторию. При превышении характерной скорости автомобиль практически перестаёт слушаться руля, продолжая ехать прямо.
Как видно из приведённых формул, решающее влияние на значения критической и характерной скоростей оказывают коэффициенты сопротивления уводу (длина колёсной базы и распределение массы по осям являются более или менее постоянными в рамках заданной конструкции автомобиля), которые зависят от величин силового (обычно не превышает 5…7°) и кинематического увода шин, а также — кинематического увода оси (моста).
В свою очередь, величины уводов зависят от конструкции используемых шин (в первую очередь — типа каркаса, диагонального или радиального), их характеристик (размерность, высота профиля, индекс грузоподъёмности), давления воздуха в шинах, величины продольных реакций на колёсах (тягового усилия, сил сопротивления качению и тормозных сил), кинематических и эластокинематических свойств подвески. В обычных условиях движения основную роль играют конструкция и характеристики шин, однако по мере приближения к предельным значениям продольных сил реакции начинает резко возрастать роль остальных факторов.
Способы обеспечения недостаточной поворачиваемости
Из изложенного выше вытекает, что для обеспечения безопасного поведения автомобиля в повороте конструкторам необходимо обеспечить ему лёгкую недостаточную поворачиваемость, что соответствует такой работе подвески, при которой увод передних колёс немного превосходит по величине увод задних. При превышении предельно допустимой скорости прохождения поворота спроектированный таким образом автомобиль начинает испытывать снос передних колёс, который сигнализирует водителю о приближении к критическому режиму движения. Даже в том случае, когда абсолютная величина боковой силы, при которой происходит снос передней оси, невелика, соблюдение указанного соотношения величин увода передних и задних колёс под её воздействием позволяет получить автомобиль пусть и с невысокими ездовыми качествами (не способный проходить повороты на высокой скорости), но при соблюдении определённых эксплуатационных ограничений вполне безопасный и управляемый. Предельная допустимая величина увода передних колёс — как первыми срывающихся в боковое скольжение — будет при этом в значительной степени характеризовать возможности автомобиля с точки зрения ездовых качеств.
Итак, для достижения хорошей устойчивости и управляемости автомобиля в первую очередь необходимо, чтобы его задняя подвеска обеспечивала боковое сцепление задних колёс при как можно большем значении боковой силы, а передняя подвеска — при чуть меньшем, чем задняя (что и будет определять предельную скорость прохождения поворота, так как при её превышении будет происходить снос передней оси), при этом задняя подвеска ни при каких условиях (отбой и сжатие упругого элемента, изменение подачи топлива, торможение) не должна вызывать изменения типа поворачиваемости на избыточную (что при прохождении поворота на высокой скорости обычно приводит к немедленному заносу задней оси и потере управляемости). На хорошо спроектированном автомобиле заданная его конструкторами недостаточная поворачиваемость может переходить в избыточную лишь в критической ситуации, главным образом — на гололёде или мокром покрытии с низким коэффициентом сцепления.
Для переднеприводных автомобилей недостаточная поворачиваемость является в какой-то мере врождённым поведением, так как передние колёса у них создают дополнительное усилие, «вытягивающее» автомобиль из поворота. Для заднеприводного автомобиля характерна, напротив, склонность к избыточной поворачиваемости и усилению начатого поворота, что заставляет конструкторов с особым вниманием относиться к вопросу его поведения в повороте — именно заднеприводных автомобилей в первую очередь касается всё сказанное ниже о мерах борьбы с избыточной поворачиваемостью. Особенно существенную склонность к избыточной поворачивамости проявляют заднемоторные автомобили, у которых врождённая склонность заднего привода к усилению поворота и заносу дополнительно усиливается за счёт смещения центра тяжести назад. Наконец, для полноприводного автомобиля с симметричным распределением тягового усилия в целом характерна нейтральная поворачиваемость.
Величина увода зависит от свойств самой шины, в первую очередь жёсткости каркаса боковины и давления воздуха — чем больше жёсткость и выше давление, тем меньше склонность к уводу, а также — от характера работы подвески. Например, увеличение угла наклона (развала) колеса в сторону действия центробежной силы, наружу от центра поворота, вызывает и увеличение его увода. Напротив, небольшой наклон колеса внутрь поворота уменьшает его увод — именно в таком положении (небольшой, 2…3°, отрицательный развал) колесо обладает наилучшей способностью воспринимать боковые силы (именно поэтому мотоциклисты проходят скоростные повороты с искусственно созданным за счёт перемещения центра тяжести креном внутрь поворота).
Подвески на параллельных друг другу двойных поперечных рычагах («Волга», «Жигули», «Москвич») и двойных продольных рычагах («Фольксваген-Жук», «Запорожец») имеют такую кинематику, что при прохождении поворота колёса наклоняются в ту же сторону, что и кузов — наружу от центра поворота, что вызывает увеличение их увода:

Напротив, все типы зависимых подвесок, а также независимая подвеска на качающихся полуосях, работают таким образом, что колёса при прохождении поворота остаются примерно перпендикулярны поверхности дороги или слегка наклоняются внутрь поворота, что соответствует минимальному значению увода:

Таким образом, скажем, автомобиль с независимой подвеской на параллельных друг другу двойных поперечных рычагах спереди и зависимой сзади в теории заведомо будет обладать необходимым соотношением величин увода передних и задних колёс, а следовательно — при нормальной эксплуатации иметь желательную с точки зрения обеспечения устойчивости в повороте лёгкую недостаточную поворачиваемость. Во многом именно по этой причине в течение десятилетий в конструкции большей части массовых автомобилей использовалось именно данное сочетание, либо применялась задняя подвеска на качающихся полуосях. Это позволяло обеспечить безопасное поведение автомобиля в большинстве режимов движения при сохранении технологичности и дешевизны производства.
Между тем, на практике приходится учитывать также влияние кинематических свойств и эластокинематики подвески, которое может нарушать это сочетание, особенно в режимах движения, близких к предельным.
Подобного поведения можно добиться и от подвески на двойных поперечных рычагах, сделав их не параллельными друг другу в поперечной плоскости — при определённом соотношении углов наклона рычагов наружное колесо остаётся перпендикулярным дороге или начинает немного наклоняться внутрь, а не наружу поворота — так называемый negative camber gain — что улучшает его способность воспринимать боковые силы и, следовательно, потенциально позволяет проходить повороты на более высокой скорости — однако в этом случае обеспечение безопасности движения требует тщательного согласования работы передней и задней подвесок. То же можно сказать о подвеске типа «макферсон», в которой наружное колесо наклоняется внутрь поворота, если угол между осью направляющей стойки и рычагом составляет менее 90°.
Рост скоростей движения и повышение требований к устойчивости и управляемости массовых автомобилей за последние десятилетия диктуют применение на них передних подвесок с более совершенной кинематикой, что заставляет более тщательно подходить к конструкции задней подвески, причём последнее также продиктовано требованиями повышения комфортабельности. При использовании спереди подвески с двойными поперечными рычагами, в которой наружное колесо в повороте наклоняется внутрь поворота, или подвески «макферсон» — а равно и использовании на задней оси подвески с треугольными продольными (косыми) или двойными поперечными рычагами — соблюдение требуемого соотношения величин увода передних и задних колёс не обеспечивается само собой. Поэтому конструкторам приходится тщательно согласовывать работу подвесок и принимать специальные меры с целью добиться большего увода передних колёс относительно задних и более раннего срыва передней оси в боковое скольжение. Так, в задней подвеске с треугольными рычагами их оси качания располагают под небольшим углом к поперечной оси автомобиля, что обеспечивает при прохождении поворота наклон колёс в нужную сторону — внутрь поворота, а также устанавливают для колёс передней оси положительный, а задней — небольшой отрицательный развал. В подвеске на двойных поперечных рычагах конструкторам также приходится бороться со склонностью к смене типа поворачиваемости на избыточную при изменении в повороте подачи газа или торможении, что привело к появлению целого нового типа подвесок — так называемых «многорычажных».
Кроме того, в целях борьбы с избыточной поворачиваемостью конструкторы нередко увеличивают угловую жёсткость передней подвески (её способность противостоять крену) относительно задней — скажем, за счёт повышения жёсткости её упругих элементов или установки стабилизатора поперечной устойчивости. Соотношение между угловой жёсткостью передней и задней подвесок обычно находится в пределах 1,4…2,5:1. При тюнинге автомобиля всегда необходимо поддерживать это соотношение — например, при установке стабилизатора поперечной устойчивости на заднюю подвеску передний стабилизатор должен быть соответственно усилен.
Недостаточная поворачиваемость может быть обеспечена за счёт изменения углов в рулевом управлении, а именно — при таком изгибе рулевых сошек, когда их оси пересекаются позади центра задней оси — такая настройка часто использовалась, например, на заднеприводных автомобилях General Motors, что обеспечивало большой запас устойчивости против заноса ценой некоторого ухудшения управляемости и повышенного износа шин (существует мнение, что такая настройка шасси была выбрана после скандала с Chevrolet Corvair, имевшего очень выраженную избыточную поворачиваемость, делавшую управление им сложным и даже небезопасным).
Достижению нейтральной или недостаточной поворачиваемости также способствуют использование дифференциала повышенного трения для привода колёс задней оси (Quaife, Torsen и аналогичные), установка на заднюю ось более широких (и вообще обладающих лучшим сцеплением с покрытием) шин и поддерживание в задних колёсах большего давления воздуха.
Наиболее же действенный способ борьбы с избыточной поворачиваемостью — использование «подруливающей» задней подвески, которая за счёт введения в конструкцию либо дополнительных направляющих элементов (примеры — задние подвески Porsche 928, так называемый «мост Вайсзах», и Mercedes-Benz W201), либо сервоприводов с микрокомпьютерным управлением компенсирует возникающий при прохождении поворота увод шин, поворачивая задние колёса на небольшие углы в ту же сторону, в которую вывернуты передние.
Вышеописанное явление увода диктует некоторые ограничения, которые следует соблюдать при эксплуатации автомобиля. Так, нельзя ставить на заднюю ось диагональные шины, если спереди установлена радиальные — жёсткость боковины последних намного больше, а увод при прочих равных — ощутимо (примерно в 1,5 раза) меньше, что может привести к заносу задней оси в повороте (машина начинает «вилять задом»). Также нельзя ставить назад более узкие шины, чем спереди (и вообще любые более «слабые» — с «грыжами», после ремонта, старые по возрасту, даже при отсутствии износа, и т. п.), или поддерживать в колёсах передней оси большее давление, чем в задних — принцип здесь абсолютно тот же. На возникновение заноса оказывает влияние также загрузка автомобиля — смещение центра тяжести назад из-за тяжёлого груза в багажнике повышает склонность к нему.
Потеря бокового сцепления шин с поверхностью дороги может быть также следствием резкого увеличения оборотов двигателя, вызывающего пробуксовку ведущих колёс, резкого торможения «на юз» с блокировкой колёс, изменения динамической нагрузки на ось — например, при торможении — чем сильнее колёса прижимаются к поверхности дороги, тем выше их боковое сцепление с ней, а также резкого изменения установочных параметров подвески — например, значительного изменения колеи, возникающего при работе некоторых типов независимой подвески, или «подруливания» заднего моста на продольных рессорах.
Поведение автомобиля при разгоне и торможении
Кроме центра поперечного крена, выделяют и центр продольного крена, который остаётся неподвижным в то время, как автомобиль разгоняется и тормозит. Как известно, при разгоне и торможении, особенно резком, кузов автомобиля накреняется соответственно назад или вперёд.
Здесь действуют те же самые закономерности: чем ближе продольный ЦК к ЦТ, тем меньше автомобиль «клюёт носом» при торможении и «приседает» при разгоне. Именно на этом основан принцип действия так называемой «противоклевковой геометрии» передней подвески — за счёт особого наклона осей рычагов подвески в продольной плоскости достигается достаточно высокое положение центра продольного крена, при котором он почти попадает или максимально приближается к ЦТ, и автомобиль практически не «клюёт носом» даже при очень резком торможении.
Зависимые подвески
На поперечной рессоре
.jpg.webp)

Этот очень простой и дешёвый тип подвески широко применялся в первые десятилетия развития автомобиля, но по мере роста скоростей движения почти совершенно вышел из употребления. В нём поперечная рессора играет роль как упругого, так и направляющего элемента.
Подвеска состояла из неразрезной балки моста (ведущего или неведущего) и расположенной над ним полуэллиптической поперечной рессоры. В подвеске ведущего моста возникала необходимость размещения его массивного редуктора, поэтому поперечная рессора имела форму прописной буквы «Л». Для уменьшения податливости рессоры использовались продольные реактивные тяги или дышло.
Этот тип подвески наиболее известен по автомобилям Ford T и Ford model A / ГАЗ-А. На автомобилях «Форд» этот тип подвески использовался вплоть до модели 1948 года (включительно). Инженеры ГАЗ-а же отказались от него уже на модели ГАЗ-М-1, созданной на основе Ford model B, но имевшей полностью переработанную подвеску на продольных рессорах. Отказ от такого типа подвески на поперечной рессоре в данном случае был связан в наибольшей степени с тем, что она, по опыту эксплуатации ГАЗ-А, обладала недостаточной живучестью на отечественных дорогах.
Наиболее же существенным недостатком схемы с поперечной рессорой было то, что она, обладая большой податливостью в продольном направлении даже несмотря на наличие дышла, при движении непредсказуемо изменяла угол поворота моста, что было особенно чувствительно в передней подвеске с управляемыми колёсами и способствовало нарушению управляемости автомобиля на большой скорости. Даже по меркам конца сороковых годов такая подвеска спереди не обеспечивала автомобилю нормальной управляемости на скорости.
Зависимая схема с поперечной рессорой и лёгкой балкой неведущего моста использовалась в сравнительно малонагруженной задней подвеске многих переднеприводных DKW и происходящих от них ранних моделей ГДР-овского Wartburg. Продольное перемещение моста при этом контролировалось двумя продольными реактивными тягами.
На продольных рессорах



Это, вероятно, самый древний вариант подвески. В ней балка моста подвешена на двух продольно ориентированных рессорах. Мост может быть как ведущим, так и неведущим, и расположен как над рессорой (обычно на легковых автомобилях), так и под ней (грузовики, автобусы, внедорожники). Как правило, крепление моста к рессоре осуществляется при помощи стремянок примерно в её середине, часто с небольшим смещением вперёд. Передняя часть продольной рессоры воспринимает, помимо нормальных, также боковые и продольные силы реакции дороги, и по сути играет роль рычага подвески, задающего её кинематику. Таким образом, с точки зрения кинематики подвеска на продольных рессорах работает как подвеска на двух гибких продольных рычагах, имеющих длину, равную расстоянию между передним креплением рессоры и точкой закрепления на ней моста.
Рессора в её классическом виде представляет собой пакет из упругих металлических листов, соединённых хомутами, которые также ограничивают поперечное перемещение листов рессоры друг относительно друга при работе подвески. Лист, на котором расположены ушки крепления рессоры, называется коренным — как правило, его делают самым толстым. Упомянутые ушки, находящиеся на концах коренного листа, бывают обычно загнутыми и, как указано выше, предназначенными для крепления рессоры к шасси или к деталям подвески. Следующий за ним лист — подкоренной, его обычно делают столь же длинным, как и коренной, порой он даже обхватывает ушки коренного листа. Рессора обычного типа (полуэллиптическая) одним концом шарнирно крепится непосредственно к шасси через ушко, а другим — через серьгу, компенсирующую изменение длины рессоры при вертикальных ходах подвески.
В последние десятилетия наблюдается переход к малолистовым или даже однолистовым рессорам, иногда для них используются неметаллические композитные материалы (углепластики и так далее). Тем не менее, многолистовые рессоры также имеют свои преимущества. Два главных — это, во-первых, возникающий при межлистовом трении эффект гашения колебаний, благодаря которому рессора работает как простейший фрикционный (работающий за счёт трения) амортизатор; а во-вторых — то, что рессора (при определённой конструкции) обладает так называемой прогрессивной характеристикой — то есть, её жесткость увеличивается по мере возрастания нагрузки. Последнее является следствием того, что жёсткость листов рессоры тем больше, чем они короче. При небольших нагрузках деформируются только более длинные и мягкие листы, и рессора в целом работает как мягкая, создавая высокую плавность хода; при росте нагрузок при больших ходах подвески в работу включаются короткие и жёсткие листы, жёсткость рессоры в целом нелинейно возрастает и она становится способной без пробоя выдержать большие усилия. Стоит отметить, что такой характер работы рессоры обеспечивается её особой конструкцией, как правило — с разделением листов на два отдельных пакета, из которых более короткий и жёсткий — «подрессорник» — включается в работу только при больших ходах подвески; обычная рессора из одного пакета листов имеет линейную характеристику. Так, задняя рессора УАЗ-452 / 2206 «нового образца»(малолистовая) на большей части рабочего хода имеет линейную жёсткость в 5,5 кг/см, а при больших ходах в работу включается подрессорник, и жёсткость рессоры достигает более 9 кг/см, что исключает «пробой» продвески при движении с полной загрузкой. Это аналогично работе сравнительно недавно вошедших в практику массового автомобилестроения пружин прогрессивного действия (с переменным шагом навивки). Кроме того, многолистовая рессора более надёжна — при разрушении одного из её листов, за исключением коренного, остальной пакет продолжает обеспечивать работу подвески, давая водителю возможность добраться до места ремонта. Если подкоренной лист охватывает ушки коренного, то такая возможность отчасти обеспечивается и при разрушении последнего.



.jpg.webp)

Рессоры в такой подвеске могут быть четверть-эллиптическими, полуэллиптическими, 3/4-эллиптическими либо полностью эллиптическими, а также кантилеверными (консольно вывешенными) и балансирными.
- Эллиптическая — в плане имеет форму, близкую к эллипсу; такие рессоры использовались в подвеске конных экипажей и ранних автомобилей; преимущество — большая мягкость и, как следствие, плавный ход, кроме того, такие рессоры были более надёжны в условиях слаборазвитой металлургии; минус — громоздкость, технологическая сложность и дороговизна при массовом производстве, малая прочность, большая чувствительность к продольным, поперечным и боковым силам, вызывающая огромный «увод» моста при работе подвески и сильный S-образный изгиб при разгоне и торможении, а следовательно — нарушение управляемости;
- 3/4-эллиптическая: имеет форму трёх четвертей эллипса; использовалась на экипажах и ранних автомобилях благодаря своей мягкости, к двадцатым годам вышла из употребления по тем же причинам, что и эллиптическая; тем не менее, отголоски такого конструктивного решения встречались ещё в 1950-х годах в виде так называемого «каретного» крепления заднего конца рессоры на кузове — например, на ранних выпусках ГАЗ-21 оно осуществлялось через упругий кронштейн, вместе с рессорой образующий конструкцию, очень похожую на 3/4-эллиптическую рессору с редуцированной третьей четвертью.
- Полуэллиптическая — имеет профиль в виде половины эллипса; наиболее распространённый тип; представляет собой компромисс между комфортабельностью, компактностью и технологичностью;
- Четверть-эллиптическая — конструктивно это половина полуэллиптической рессоры, наглухо заделанная одним концом на шасси; второй конец консольно вывешен; как упругий элемент достаточно жёсткая; применялась как правило для создания независимой подвески, реже — зависимой, например на ГАЗ-67 (в передней подвеске — по две рессоры на борт, над и под балкой переднего ведущего моста, то есть — всего четыре).
- Кантилеверная — полуэллиптическая рессора, которая шарнирно заделана на раме или шасси в двух точках — в одном из концов и посередине, причём во втором случае крепление шарнирное; второй конец консольно вывешен. Применялась, к примеру, в задней подвеске ГАЗ-АА.
- Балансирная — рессора шарнирно заделана на раме в середине, а её концы прикреплены к мостам; используется на трёх- и четырёхосных грузовиках как с зависимой, так и с независимой подвеской; в такой подвеске рессора включается в работу в полной мере лишь при одноимённых ходах обоих колёс тележки, при разноимённых же их ходах работа подвески главным образом обеспечивается за счёт шарнира её заделки на раме, что позволяет резко увеличить рабочие ходы подвески и, следовательно, проходимость автомобиля.
Продольные рессоры в такой подвеске воспринимают усилия во всех направлениях — вертикальном, боковом, продольном, а также тормозные и реактивные моменты, — что позволяет исключить из конструкции подвески дополнительные элементы (рычаги, реактивные тяги, растяжки, и т. д.). Поэтому продольно-рессорная подвеска характеризуется простотой и относительной дешевизной (при этом само по себе производство рессор достаточно сложно и требует хорошо поставленной технологии). Кроме того, так как рессора опирается на раму или кузов в двух широко разнесённых точках, она снимает возникающие при большой загрузке напряжения в задней части кузова или рамы, благодаря чему такая подвеска также характеризуется высокой живучестью на плохих дорогах и грузоподъёмностью, способствует сохранности кузова автомобиля. К преимуществам можно отнести и легкость варьирования жёсткости за счёт подбора листов той или иной длины и толщины.
До конца семидесятых годов продольные полуэллиптические листовые рессоры очень широко применялись в зависимой задней подвеске легковых автомобилей благодаря дешевизне, простоте и хорошей живучести. Длинные рессоры с относительно небольшим количеством листов (малолистовые), применённые на тяжёлом автомобиле, у которого неподрессоренные массы несоизмеримо меньше подрессоренных, обеспечивают благодаря своей мягкости высокую плавность хода, а также более мягко, чем рычаги, воспринимают продольные усилия и рывки, что повышает комфорт. Благодаря этому они долгое время применялись на больших, комфортабельных легковых автомобилях (примеры — «Чайки», легковые автомобили ЗИЛ, все полноразмерные «Крайслеры» вплоть до конца 1980-х годов, целый ряд британских моделей вроде Rolls-Royce Silver Cloud). На грузовых автомобилях продольные рессоры долгое время были основным типом упругих элементов подвески и продолжают использоваться сегодня.
.jpg.webp)
В настоящее время в подвесках современных легковых автомобилей продольные рессоры в своём традиционном виде практически не применяются, так как они слишком податливы под действием продольных и боковых сил, и за счёт этого допускают в ходе работы подвески (например, в поворотах) непредсказуемое смещение («увод») прикреплённого к ним моста — сравнительно небольшое, но достаточное для нарушения управляемости на сравнительно больших скоростях. Например, если в задней подвеске переднее ушко продольной полуэллиптической рессоры расположено выше оси колёс — задний мост в повороте поворачивается («подруливает») наружу от центра поворота, что придаёт автомобилю нежелательное свойство избыточной поворачиваемости — стремление самопроизвольно усиливать начатый водителем поворот, вплоть до заноса. Происходит это из-за того, что при крене кузова в результате упругой деформации рессор ось задних колес начинает описывать дугу с центром в шарнире их передних ушек, причём из-за различного прогиба подвески справа и слева радиусы эти тоже оказываются различными для рессор справа и слева, и ось поворачивается в горизонтальной плоскости. С ростом длины рессоры и уменьшением её жёсткости (то есть — с повышением плавности хода и комфортабельности автомобиля) эти явления становятся всё более выраженными. При разгоне продольные рессоры допускают S-образную деформацию, при которой мост поворачивается вокруг своей оси, что увеличивает изгибное напряжение, действующее в точках крепления рессоры.

Частично решает проблему увеличение ширины рессор, снижающее их податливость (и такая тенденция действительно наблюдалась, например, на ГАЗ-21 рессоры имели ширину 55 мм, на ГАЗ-24 — 65 мм, на «ГАЗели» — уже 75 мм), смещение точки крепления моста и более жёстких коротких листов к переднему креплению рессоры, а также введение в рессорную подвеску растяжек и реактивных тяг и тщательная проработка её кинематики. Так, при расположении переднего ушка рессоры ниже точки крепления на ней оси колёс (для чего рессора должна быть малолистовой и под статической нагрузкой практически прямой, без изгиба) мост начинает поворачиваться внутрь поворота, что соответствует нейтральной или лёгкой недостаточной поворачиваемости.
Однако наиболее предпочтительна зависимая подвеска с жёстко и однозначно заданной геометрией, вроде пятирычажной с тягой Панара или механизмом Уатта, исключающей элемент непредсказуемости поведения неразрезного моста. Введение в рессорную подвеску аналогичных жёстких направляющих элементов в общем случае лишило бы её основных преимуществ — простоты и сравнительной дешевизны, сделало бы её излишне громоздкой и тяжёлой, поэтому в таких случаях подвеска выполняется обычно на других типах упругих элементов, способных воспринимать только вертикальные усилия — как правило, витых пружинах, работающих на кручение торсионных стержнях или пневмобаллонах. Тем не менее, в своё время использовались и рессорные подвески с дополнительными направляющими элементами, как правило в виде закреплённых на ведущем мосту продольных или диагональных рычагов (так называемые traction bars), одного Т-образного рычага или дышла (см. ниже) — например, в задней подвеске Chevrolet Corvette C1 после 1959 года помимо рессор появились две установленные сверху на мосту продольные реактивные штанги (radius rods), предотвращающие S-образную деформацию рессор и сопровождающее её проворачивание моста вокруг своей оси при разгоне и торможении. Traction bars иногда ставят на серийные автомобили с рессорной задней подвеской в качестве тюнинга, с тем или иным успехом.
Единичные случаи применения рессор в современных легковых автомобилях, например, в подвесках автомобиля Chevrolet Corvette и некоторых Volvo, связаны с их использованием исключительно в качестве упругого элемента, геометрию же подвески при этом задают рычаги, аналогичные используемым в пружинной подвеске. В этом случае преимуществом является компактность рессоры относительно пружинно-амортизаторных стоек, что позволяет сэкономить пространство салона и багажника.
Классические же рессорные подвески, в которых рессора работает и как упругий, и как направляющий элемент встречаются нынче практически только на консервативных внедорожниках и грузовых автомобилях, иногда — в сочетании с дополнительными упругими элементами, например — пневмобаллонами (автобус «Богдан», некоторые американские пикапы).
Кроме того, при работе рессора достаточно сильно изнашивается за счёт межлистового трения, а также издаёт специфический скрип (отчасти устраняется регулярной смазкой либо введением в конструкцию специальных прокладок между листами, однако они со временем изнашиваются, требуя трудоёмкой переборки рессоры).
С направляющими рычагами

Существуют самые различные схемы таких подвесок с различным количеством и расположением рычагов. Часто применяется показанная на иллюстрации четырёхрычажная зависимая подвеска с тягой Панара. Её преимущество в том, что рычаги жёстко и предсказуемо задают движение ведущего моста по всем направлениям — вертикальном, продольном и боковом. Более короткие верхние рычаги располагают под некоторым углом к продольной оси, благодаря чему при движении по кривой задний мост «подруливает» в сторону поворота, уменьшая тенденцию автомобиля к избыточной поворачиваемости. Тот же эффект достигается при замене пары верхних рычагов одним треугольным, при этом улучшается устойчивость автомобиля при движении по неровному покрытию.
Более примитивные варианты имеют меньшее число рычагов. Если рычага всего два, при работе подвески они перекашиваются, что обуславливает кинематический увод моста (его поворот в горизонтальной плоскости на определённый угол) и требует либо их собственной податливости (например, на некоторых «Фиатах» начала шестидесятых годов и английских спорткарах рычаги в пружинной задней подвеске делались упругими, пластинчатыми, по сути — аналогичными четверть-эллиптическим рессорам), либо особого шарнирного соединения рычагов с балкой, либо податливости самой балки на кручение (так называемая торсионно-рычажная подвеска с сопряжёнными рычагами, до сих пор широко распространённая на переднеприводных автомобилях). В первом случае, при использование рычагов, способных перекашиваться, необходимо наличие в подвеске тяги Панара для предотвращения поперечного смещения моста под воздействием сил реакции дороги.
В качестве упругих элементов могут использоваться как витые пружины, так и, например, пневмобаллоны (особенно на грузовиках и автобусах, а также — в «лоурайдерах»). В последнем случае требуется жёсткое задание движения направляющего аппарата подвески по всем направлениям, так как пневмобаллоны не способны воспринимать даже небольшие поперечные и продольные нагрузки.
С упорной трубой или дышлом
.jpg.webp)

.jpg.webp)
В этой подвеске для восприятия продольных усилий используется либо англ. torque tube — защитная труба карданной передачи, упирающаяся в шарнир на картере коробки передач, внутри которой пропущен карданный вал, либо дышло (англ. torque rod) — Л-образный или А-образный рычаг, жёстко закреплённый на балке моста и шарнирно соединённый с рамой, кузовом или коробкой передач.
По кинематике подвеска с упорной трубой соответствует зависимой рычажной с одним продольным рычагом. В качестве упругих элементов могут применяться как рессоры — продольные либо поперечные, так и пружины или пневмобаллоны. При этом поперечная рессора способна воспринимать поперечные нагрузки, а продольные рессоры воспринимают также и продольные усилия наряду с упорной трубой или дышлом, чем уменьшают нагрузку на шасси и смягчают возникающие при работе подвески толчки, повышая комфортабельность и долговечность. В остальных же случаях необходимо использование тяги Панара или механизма Уатта для предотвращения бокового увода моста, так ни пружины, ни упорная труба, ни дышло не способны воспринимать силы, действующие в поперечном направлении.
Такую подвеску с поперечными рессорами в качестве упругих элементов имели Ford T и Ford A — на обоих мостах, с продольными — ГАЗ М-1 на заднем. Подвеска с упорной трубой и пружинами в качестве упругих элементов использовалась на многих автомобилях General Motors 1940-х — 50-х годов, а также ряде итальянских и французских моделей. Так как соединение карданной передачи с дифференциалом в такой подвеске оказывается неподвижным, из её конструкции устраняются один карданный шарнир и один шлицевой, что позволяет достичь экономического эффекта. Кроме того, практически исключается нежелательное вращение моста вокруг своей поперечной оси, характерное, в частности, для рессорных подвесок. Тем не менее, при её работе наблюдается повышенная передача возникающих при работе подвески продольных толчков на шасси, что снижает комфортабельность и долговечность, а обслуживание карданной передачи и заднего моста затрудняется. Кроме того, мост в такой подвеске движется по дуге окружности с центром, расположенным в точке шарнира карданной передачи, из-за чего при работе подвески начинают происходить изменения колёсной базы.
На прототипе «Жигулей», Fiat 124, задняя часть карданной передачи была закрытой, с приводным валом, заключённым внутрь неподвижно соединённой с картером заднего моста упорной трубы, причём подвижность упорной трубы обеспечивалась очень слабым резинометаллическим упорным шарниром. В процессе адаптации к советским дорожным условиям эта конструкция была заменена открытой двухзвенной карданной передаче с промежуточной опорой и тремя крестовинами.
Фирма «Опель» на некоторых своих дорогих моделях применяла улучшенный вариант такой подвески, в которой использовался двухзвенный кардан, второе звено которого было заключено в упорную трубу, жёстко соединённую с картером заднего моста и упирающуюся в промежуточную опору, продольные толчки при этом воспринимались дополнительными продольными рычагами, а поперечные — тягой Панара. «Ровер» использовал подобную же конструкцию, но с механизмом Уатта. В такой подвеске движения моста задаётся с высокой точностью, однако себестоимость её в производстве также достаточно высока, кроме того, несколько затрудняется обслуживание трансмиссионных агрегатов. Четырёхрычажная зависимая подвеска сравнима с ней с точки зрения совершенства кинематики, но дешевле в производстве и проще в обслуживании.
Дышло в задней подвеске автомобилей также применяют в качестве вспомогательного элемента, для уменьшения продольных кренов при разгоне и торможении. При разгоне дышло за счёт сил, действующих на балку моста, подталкивает кузов вверх в точке крепления, а при торможении — подтягивает вниз, предотвращая «клевок» кузова. Подвески с дышлом обычно применяются на грузовиках и автобусах с пневмобалонной подвеской.
«Де Дион»

Тип «Де Дион», изобретённый Шарлем-Арманом Трепарду и названный так в честь запатентовавшей её в 1893 году французской фирмы De Dion-Bouton et Trepardoux, подразумевает такое устройство зависимой подвески ведущих колёс, при котором они соединены сравнительно лёгкой, так или иначе подрессоренной неразрезной балкой, а редуктор главной передачи — неподвижно крепится к раме или кузову и передаёт вращение на колёса через полуоси с двумя шарнирами на каждой. Колёса могут быть закреплены на балке с определёнными (нерегулируемыми в процессе эксплуатации) углами развала и схождения с целью улучшения управляемости (как правило задаются небольшой отрицательный развал и также небольшое положительное схождение).
Направляющий аппарат и упругие элементы при этом могут быть любого типа — продольные или поперечные рессоры, продольные рычаги в различном количестве с винтовыми пружинами или пневмобаллонами, и так далее. Один из наиболее совершенных вариантов — четыре продольных рычага и тяга Панара или механизм Уатта.

Такое устройство подвески ведущих колёс позволяет свести к минимуму неподрессоренные массы — даже по сравнению со многими видами независимой подвески. Иногда для улучшения этого эффекта тормозные механизмы переносят к дифференциалу, оставляя неподрессоренными лишь лёгкую балку, закреплённые на ней ступицы колёс и сами колёса.




При работе такой подвески изменяется длина полуосей, что вынуждает либо устанавливать на них подвижные в осевом направлении шарниры равных угловых скоростей (как на переднеприводных автомобилях), либо использовать наряду с карданными шарнирами специальные скользящие шарниры со шлицами. На английском Rover 3500 использовались обычные карданные шарниры, так что для компенсации изменения длины полуосей саму балку подвески пришлось выполнить с уникальной конструкции скользящим шарниром, позволявшим ей увеличивать или уменьшать свою ширину на несколько сантиметров при ходах сжатия и отбоя.
Сохраняя кинематику зависимой подвески, «Де Дион» объединяет её преимущества — в первую очередь отсутствие изменения установочных параметров (колеи, развала колёс и так далее) при прохождении поворота и одноимённых ходах обоих колёс — с малой неподрессоренной массой, сравнимой с таковой при независимой подвеске или даже меньшей, благодаря чему она не имеет общего недостатка большинства зависимых подвесок ведущих колёс — нарушающего сцепление колёс с дорогой «подпрыгивания» моста при проезде повторяющихся неровностей покрытия. При удачном подборе кинематики подвеска «Де Дион» на ровном покрытии превосходит большинство видов независимой подвески: до тех пор, пока дорога остаётся сравнительно ровной, соединённые общей балкой колёса будут перпендикулярны ей (или сохранять заданный проектировщиком небольшой отрицательный развал), вне всякой зависимости от кренов кузова, что соответствует максимально возможному сцеплению с покрытием. Из независимых подвесок приблизиться к такой стабильности установочных параметров может только хорошо спроектированная подвеска на двойных поперечных рычагах (включая «многорычажные»). Лишь на неровной дороге «Де Дион» начинает уступать менее совершенным независимым подвескам из-за взаимного влияния колёс друг на друга, вызывающего изменение развала на обоих колёсах при проезде одним из них неровного участка.
При этом и себестоимость такой подвески достаточно высока — выше, чем у многих типов независимой, кроме того, она достаточно громоздка из-за необходимости выделения места под рабочие ходы балки и не обеспечивает высокой комфортабельности при движении по неровной дороге — поэтому применялась сравнительно редко, обычно — на спортивных автомобилях, рассчитанных на быстрое перемещение по хорошим дорогам. Например, такую подвеску имели многие модели Alfa Romeo, первый Nissan Skyline, Opel Diplomat, некоторые английские спорткары, вроде Peerless GT.
На DAF 66 и Volvo 340 использовалась подвеска «Де Дион» с продольными монолистовыми рессорами — очень простая, но технически несовершенная из-за общих для всех рессорных подвесок недостатков, связанных с их повышенной податливостью. В данном случае логика её применения состояла в том, что у этого автомобиля главная пара была объединена с коробкой передач в расположенный в районе заднего моста единый агрегат (трансэксл), слишком массивный и тяжёлый для того, чтобы быть включённым в состав неподрессоренных масс. При этом независимая подвеска с оптимальной геометрией, вроде двойных поперечных рычагов, была бы слишком дорогостоящей для автомобиля такого класса, а более примитивная, вроде качающихся полуосей или даже треугольных рычагов — не обеспечила бы требуемого уровня устойчивости и управляемости, в особенности на скользкой дороге, чему в Северной Европе всегда уделяли повышенное внимание.

Из недавних автомобилей с такой подвеской можно назвать Smart, у него она имеет вид цельной П-образной балки, шарнирно закреплённой на кузове через единственный сайлент-блок, работающей совместно с двумя поперечными реактивными тягами, упругие элементы — цилиндрические пружины.
Теоретически возможно применение подвески типа «Де Дион» и на переднем ведущем мосту, однако на практике даже примитивная независимая подвеска имеет в данном случае столь значительное преимущество перед любой зависимой, что такое конструктивное решение едва ли оправдано на легковом автомобиле. Тем не менее, подвеска «Де Дион» использовалась на переднеприводных гоночных «Миллерах» и передних осях советского полноприводного четырёхосного грузовика ЯГ-12. В последнем случае в качестве направляющих и упругих элементов использовались по две продольные рессоры с жёсткой центральной заделкой на каждый из бортов, их концы соединялись балками мостов в параллелограмм.
Торсионно-рычажная (со связанными или с сопряжёнными рычагами)

Очень распространённый во второй половине 1970-х — 1990-х годах тип полузависимой подвески задних колёс переднеприводного автомобиля с двумя продольными рычагами, соединёнными работающей на скручивание поперечиной, вместе с которой они образуют упругую Н-образную балку.
Первая подвеска со связанными продольными рычагами появилась в 1974 году на Volkswagen Golf I и Volkswagen Scirocco, в ней рычаги были связаны податливым на кручение, но жёстким на изгиб Т-образным профилем, расположенным между точками креплений рычагов к кузову. Чуть позднее на Audi 50 и Volkswagen Polo, а также Volkswagen Golf II и Volkswagen Passat B2, появилась похожая подвеска на сопряжённых рычагах, у которой рычаги были связаны смещённым назад, к осям колёс U-образным профилем — впоследствии она и стала «стандартом де-факто» и очень широко использовалась (и используется сейчас, как правило на бюджетных моделях) в качестве задней на переднеприводных автомобилях.
Кинематика данной подвески, несмотря на её конструктивную простоту, достаточно сложна, причём её кинематические свойства — характер изменения развала и схождения колёс — задаются положением поперечины относительно оси колёс и точек крепления балки к кузову (шарниров). Так, если поперечина расположена строго между точками креплений — кинематика подвески будет соответствовать независимой подвеске на продольных рычагах (то есть, угол развала колёс будет равен углу бокового крена кузова). Если же она смещена назад, к колёсам, то при разноимённых ходах подвески колесо, совершающее ход сжатия, будет наклоняться в сторону отрицательного развала, а совершающее ход отбоя — в сторону положительного.
Работу такой подвески характеризует коэффициент изменения развала, равный отношению изменения величины развала к изменению величины бокового крена кузова при одной и той же величине хода подвески — чем этот коэффициент меньше, тем лучше будет сцепление колёс с дорогой при прохождении поворота и, соответственно, при прочих равных устойчивость и управляемость автомобиля (обычно имеет значение в пределах 0,5…0,6; у подвески на продольных рычагах — около 1, у зависимой — 0). В общем случае, чем больше поперечина смещена назад — тем лучше кинематические свойства подвески, но при этом тем больше пространства под полом багажника она занимает и тем выше оказываются неподрессоренные массы.
В середине 1990-х появился улучшенный вариант такой подвески, у которого рычаги соединены U-образным профилем, открытой частью обращённым книзу, что улучшило её характеристики — за счёт более сложного характера деформации балки подвеска приобрела свойство «подруливающего эффекта» (положительное схождение на наружном по отношению к центру поворота колесе). Также с целью аналогичного улучшения управляемости подвеска данного типа может дополняться механизмом Уатта (Opel Astra J). Фирма Renault с той же целью использует управляемые задние колёса с электрогидравлическим приводом Active Drive (Renault Laguna).
Независимые подвески
С качающимися полуосями


.jpg.webp)
Подвеска с качающимися полуосями вместо одной жёсткой неразрезной оси использует две полуоси, каждая из которых закреплена на шасси при помощи одного обеспечивающего подвижность в вертикальной плоскости шарнира, так что колесо при работе подвески всегда остаётся перпендикулярным своей полуоси. Это обеспечивает независимое подрессоривание колёс, но при работе подвески такого типа изменяются в больших пределах как их колея, так и развал, что делает такую подвеску кинематически несовершенной — причём изменения развала и колеи тем больше, чем полуоси короче. Кроме того, при приложении боковых сил к колёсам с такой подвеской — например, в повороте — в ней возникает дополнительная направленная вверх сила, стремящаяся «подбросить» кузов автомобиля, что снижает его устойчивость к опрокидыванию.
В качестве упругих элементов при качающихся полуосях могут использоваться пружины, рессоры, торсионы и иные типы. Часто сами полуоси выполняют роль рычагов такой подвески, но если они или шарниры на них по своей прочности не способны воспринимать силы реакции дороги, наряду с ними используют дополнительные поперечные или косые рычаги с осью качания, проходящей через центр шарнира полуоси, причём в первом случае полуоси как правило проходят внутри самого рычага, используя его как кожух. Данная подвеска является традиционной для довоенных германской и чехословацкой школ конструирования. Она может использоваться как для ведущих колёс, так и для ведомых.
.jpg.webp)
.jpg.webp)

Несмотря на примитивность, подвеска такого типа при применении на задней оси без каких либо дополнительных конструктивных мер поддерживает необходимое с точки зрения сохранения устойчивости автомобиля в повороте соотношение величин увода шин передних и задних колёс (см. выше), в случае сравнительно малоскоростного автомобиля общего назначения обеспечивая безопасность движения в большинстве режимов, и при этом имеет все преимущества независимого подрессоривания, а также обеспечивает хорошую геометрическую проходимость. Благодаря этим качествам, а также своей простоте и дешевизне, она одно время широко использовалась в конструкции ведущего заднего моста автомобилей классической и заднемоторной компоновок — по сути это была первая получившая широкое распространение независимая задняя подвеска. Кроме того, для автомобилей тридцатых — пятидесятых годов, с их высокими кузовами, было выгодно обеспечиваемое подвеской данного типа высокое положение центра крена, позволяющее уменьшить плечо крена и, соответственно, величину крена в повороте.
Однако по мере роста скоростей и требований к управляемости от неё стали повсеместно отказываться, как правило — в пользу более сложной, но и более совершенной подвески на косых рычагах с двумя шарнирами на полуоси. Например, ЗАЗ-965 имел качающиеся полуоси в задней подвеске, но его преемник ЗАЗ-966 уже получил косые рычаги и полуоси с двумя шарнирами на каждой. Точно такую же трансформацию претерпела и задняя подвеска второго поколения американского Chevrolet Corvair — использовавшаяся в его изначальном варианте задняя подвеска на качающихся полуосях не обеспечивала уровня устойчивости и управляемости, соответствующего динамическим возможностям достаточно мощного и скоростного автомобиля.
На переднем мосту такая подвеска применялась очень редко, и практически исключительно на малоскоростных, лёгких заднемоторных автомобилях (Hillman Imp, Glas Goggomobil) либо также малоскоростных автомобилях-вездеходах (грузовики Tatra, Haflinger), так как большие изменения колеи и развала передних управляемых колёс оказывают сильное негативное влияние на устойчивость и управляемость автомобиля. В этом случае необходимо применение как можно более длинных полуосей. Также в такой подвеске по сути невозможна регулировка статического развала колёс.
Существовали и улучшенные варианты такой подвески. Например, на некоторых моделях Mercedes-Benz с тридцатых до шестидесятых годов использовался задний мост с одним шарниром посередине, половинки которого работали как качающиеся полуоси. Такой вариант подвески отличается меньшим изменением её установочных параметров при работе. Между половинками моста иногда устанавливался дополнительный пневматический упругий элемент, позволявший регулировать высоту кузова автомобиля над дорогой.
.jpg.webp)
На некоторых автомобилях — например, пикапах «Форд» середины 1960-х годов и легковом Honda 1300 тех же лет — применялись неведущие мосты с качающимися полуосями, точки крепления каждой из которых были расположены на лонжеронах рамы противоположного борта (коммерческое название, использовавшееся компанией «Форд» — Twin I-Beam). Полуоси при этом получались очень длинными, почти во всю колею автомобиля, и изменение колеи и развала колёс было не так заметно — хотя при большой нагрузке на ось развал всё же выходил за разумные пределы, так что шины начинали быстро изнашиваться. Впоследствии фирма «Форд» приспособила такую конструкцию и к переднему ведущему мосту (коммерческое название — Twin Traction Beam).
В настоящее время такая подвеска практически не применяется, за исключением всё ещё выпускающегося грузовика Tatra 815 и машин на его базе.
На продольных рычагах



В этой подвеске каждое из колёс одной оси прикреплено к продольному рычагу, закреплённому на раме или кузове подвижно.
Этот тип независимой подвески прост, но несовершенен. При работе такой подвески в достаточно больших пределах меняется колёсная база автомобиля, причём в повороте из-за влияния крена изменение базы будет различным справа и слева — правда, колея при этом остаётся постоянной. При повороте колёса в ней наклоняются вместе с кузовом (наружу поворота), и существенно больше, чем в других конструкциях подвесок, что ухудшает боковое сцепление шин с дорогой — так что передавать большие значения боковых сил такая подвеска не способна и, соответственно, высокие параметры устойчивости и управляемости с ней недостижимы. Продольные рычаги воспринимают усилия, действующие во всех направлениях, а значит — подвергаются большим нагрузкам на кручение и изгиб, что требует их большой жёсткости и, соответственно, утяжеления.
Кроме того, для неё характерно очень низкое, в районе полотна дороги, расположение центра крена, что является недостатком для задней подвески.
Помимо простоты, в качестве преимущества такой подвески можно назвать то, что между рычагами пол можно выполнить совершенно ровным, увеличив объём, доступный для пассажирского салона или багажника. Это особенно чувствуется при применении в качестве упругих элементов торсионов, благодаря чему подвеска на продольных рычагах с поперечными торсионными стержнями в своё время широко использовалась на французских автомобилях.
В своё время (преимущественно 1960-е — 1980-е годы) такая подвеска с традиционными пружинными, торсионными или (Citroën, Austin) гидропневматическими упругими элементами довольно широко применялась на задней оси переднеприводных автомобилей. Однако впоследствии она в этой роли была вытеснена разработанной «Ауди» полузависимой подвеской со связанными рычагами, либо более компактной и технологичной типа «макферсон» (в англоязычных странах такую подвеску на задней оси называют «Чепмен»), либо (уже в конце 1980-х… 1990-е годы) наиболее кинематически совершенной — на двойных поперечных рычагах.
В качестве передней такая подвеска изредка применялась на конструкциях, разработанных до 1950-х годов, а впоследствии — ввиду своего несовершенства практически исключительно на дешёвых малоскоростных автомобилях (например, Citroen 2CV).
Кроме того, подвеска на продольных рычагах очень широко применяется на лёгких прицепах.
Подвеска «Дюбонне»
На довоенных автомобилях Chevrolet начиная с 1936 модельного года, а также Opel Kadett K38 конца 1930-х годов (и копии последнего, «Москвич-400») спереди использовался особый тип продольно-рычажной подвески, так называемая подвеска «Дюбонне», названная по имени её изобретателя — французского гонщика Дюбонне. С каждого борта в ней имелись продольный рычаг и реактивная тяга. Рычаг, непосредственно задающий кинематику подвески, воздействовал на пружину, заключенную в заполненный амортизаторной жидкостью цилиндрический кожух, внутри которого размещался гидравлический амортизатор одностороннего действия. Реактивная тяга была соединёна с кожухом подвижно и передавала на него реактивные усилия при торможении, когда колесо стремилось повернуться относительно рычага.
Эта подвеска привлекала конструкторов того времени возможностью обеспечить независимое подрессоривание передних колёс при существенно меньшей себестоимости по сравнению с подвеской на двойных поперечных рычагах. Однако её кинематические недостатки, в сочетании со специфическим дефектом конструкции — со временем вследствие износа амортизаторная жидкость из кожуха начинала подтекать — помешали её дальнейшему распространению. Подобная конструкция использовалась на некоторых моделях фирм Fiat, Alfa Romeo и Simca 1930-х — 40-х годов, а также Iso Rivolta. В настоящее время представляет в основном исторический интерес.
На двойных продольных рычагах
.jpg.webp)
В этой подвеске с каждой стороны имеется по два продольных рычага, шарнирно объединённых в параллелограмм. Как правило такая подвеска применялась на передней оси сравнительно малоскоростных заднемоторных автомобилей — характерными примерами её использования являются «Фольксваген Жук» и первые поколения «Фольксваген Транспортер», ранние модели спорткаров Porsche, а также мотоколяска С-3Д и «Запорожец». Применённый на этих автомобилях вариант такой подвески в качестве упругих элементов использовал расположенные друг над другом поперечные торсионные стержни, соединяющие пару рычагов, причём торсионы были заключены в образовывавшие поперечину подвески трубы (у поздних моделей «Запорожца» помимо торсионов в качестве дополнительных упругих элементов применялись также цилиндрические витые пружины, расположенные вокруг амортизаторов).
Главным преимуществом такой подвески является большая компактность в продольном и вертикальном направлениях. Кроме того, поперечина подвески расположена далеко впереди оси передних колёс, благодаря чему появляется возможность сильно вынести салон вперёд, разместив ноги водителя и переднего пассажира между арками передних колёс, что позволяло существенно сократить габаритную длину, а в случае заднемоторного автомобиля — ещё и добиться более оптимального распределения его веса по осям. При этом, однако, расположенный спереди багажник оказывался весьма скромным по объёму, именно из-за вынесенной далеко вперёд поперечины подвески.
С точки зрения кинематики эта подвеска несовершенна: в ней происходят хотя и меньшие по сравнению с одинарными продольными рычагами, но всё же существенные изменения колёсной базы при ходах отбоя и сжатия, и также присутствует сильное изменение развала колёс при кренах кузова. К этому следует добавить, что рычаги в ней должны воспринимать большие изгибающие и крутильные нагрузки со стороны как вертикальных, так и боковых сил, что заставляет делать их достаточно массивными.
На косых рычагах


Это по сути разновидность подвески на продольных рычагах, созданная в стремлении избавиться от её врождённых недостатков. Она почти всегда используется на задней ведущей оси.
В ней оси качания рычагов расположены под некоторым углом к продольной оси автомобиля. Благодаря этому изменение колёсной базы минимизируется по сравнению с подвеской на продольных рычагах, уменьшается и влияние кренов кузова на наклон колёс (но появляется изменение колеи).
Существует два типа такой подвески.
Первый является также подвидом подвески с качающимися полуосями: в нём используется по одному шарниру на каждой полуоси, при этом ось качания рычага должна проходить через центр шарниров полуосей (расположенных в районе их прикрепления к дифференциалу), то есть — расположена под углом 45° к поперечной оси автомобиля. Это удешевляет подвеску, но при её работе сильно меняются развал и схождение колёс, в повороте наружное колесо «подламывается» под кузов, а центр крена оказывается очень высоким (те же недостатки характерны и для подвески на качающихся полуосях). Этот вариант применялся практически исключительно на дешёвых, лёгких и малоскоростных, как правило — заднемоторных автомобилях (ЗАЗ-965, Fiat 133, и так далее). Иногда вместо задних частей обоих рычагов может применяться одна поперечная рессора, также служащая упругим элементом (Alfa Romeo 8C).
Во втором варианте (он же — подвеска на трапециевидных рычагах) каждая полуось имеет по два шарнира — внутренний и внешний, при этом ось качания рычага не проходит через внутренний шарнир, и её угол с поперечной осью автомобиля составляет не 45°, а 10…25°, что более выгодно с точки зрения кинематики подвески. Это уменьшает изменение колеи и развала колёс, а также позволяет получить небольшое положительное схождение на внешнем относительно центра поворота колесе, наделяя такую подвеску выгодным соотношением себестоимости и кинематических параметров. В результате данный вариант подвески с косыми рычагами в 1970-е… 1980-е годы очень широко применялся на заднеприводных автомобилях, как правило непосредственно заменив использовавшиеся на предыдущих поколениях зависимые подвески с неразрезным мостом. Можно назвать такие модели, как «Запорожец» ЗАЗ-966 и −968, BMW 3-й… 7-й серий, некоторые модели Mercedes-Benz, Ford Granada, Ford Sierra, Ford Scorpio, Opel Senator, Porsche 911, и так далее. В качестве упругих элементов применялись как традиционные витые пружины, так и торсионные стержни, иногда — пневмобаллоны.
Для подвески на косых рычагах свойственна реакция на изменение подачи топлива во время прохождения поворота (также называемая «эффектом ввинчивания» в поворот), однако проявляется она иначе, чем в подвеске на двойных поперечных рычагах (что описано в соответствующем разделе). Если водитель в повороте увеличивает подачу топлива возникает «приседание» задней части кузова, что обуславливает появление большого положительного развала передних колёс и отрицательного — задних, вследствие чего способность передних колёс передавать боковые усилия снижается, а задних — напротив, увеличивается; это приводит к появлению легкой недостаточной поворачиваемости и является в целом желательным. При уменьшении подачи топлива же, напротив, передняя часть кузова опускается, а задняя — приподнимается; на передних колёсах положительный развал уменьшается, или даже переходит в отрицательный, а на задних — увеличивается. Вследствие этого способность передних шин передавать боковые силы повышается, а задних, имеющих подвеску на косых рычагах — уменьшается, что вызывает появление избыточной поворачиваемости, повышая вероятность заноса.
С целью компенсации этого недостатка фирма Mercedes-Benz на старых моделях S-Klasse применяла подвеску данного типа, в которой несущие ступицу кулаки подвески крепились к косым рычагам шарнирно, через подшипниковую опору и серьгу, через которую передавался тормозной момент от скобы дискового тормоза, кроме того верхняя часть кулака была соединена с плечами стабилизатора поперечной устойчивости, также воспринимающие продольные силы.
Впоследствии, по мере совершенствования подвесок автомобилей и повышения требований к устойчивости и управляемости, подвеска на косых рычагах была вытеснена либо более дешёвой и компактной подвеской «МакФерсон» («Чепмен»), либо более совершенной на двойных поперечных рычагах, и сегодня применяется редко, хотя, в принципе, и не является устаревшей с чисто технической точки зрения.
На переднеприводных автомобилях такая подвеска применялась редко, так как для них её кинематические преимущества малозначимы (в них роль задней подвески вообще намного меньше, чем у заднеприводных). Из исключений можно назвать Trabant, у которого упругим элементом в подвеске на косых рычагах служила закреплённая в своём центре на кузове поперечная рессора, концы которой крепились к концам А-образных косо расположенных рычагов.
На двойных поперечных рычагах


В этой подвеске с каждой стороны автомобиля расположены два поперечных рычага, внутренние концы которых подвижно закреплены на кузове, поперечине или раме, а внешние — также подвижно соединены со стойкой, несущей колесо (поворотной в передней подвеске и обычно неповоротной в задней), образуя таким образом параллелограмм.
Обычно верхние рычаги в такой подвеске короче нижних в 1,5…1,8 раза, что практически полностью устраняет изменение колеи при её работе, а при правильной настройке прочих параметров — обеспечивает выгодное с точки зрения кинематики изменение развала колёс, при котором внешнее по отношению к центру поворота колесо (как наиболее нагруженное) всегда остаётся перпендикулярным к дороге и сохраняет максимальную способность передавать боковые нагрузки, для чего его угол развала должен при ходе сжатия изменяться в сторону отрицательных значений. Рычаги могут быть как параллельны друг другу, так и находиться друг относительно друга под определённым углом в продольной и поперечной плоскостях. Наконец, один из рычагов или они оба могут быть заменены поперечной рессорой (о таком типе подвески см. ниже).
Фундаментальное преимущество такой подвески — возможность для проектировщика путём выбора определённой геометрии рычагов жёстко задать все основные установочные параметры подвески и характер их изменения при её работе — изменение развала колёс и колеи при ходах сжатия и отбоя, высоту продольного и поперечного центров крена, и так далее. Кроме того, такая подвеска нередко полностью монтируется на крепящейся к кузову или раме поперечине, и таким образом представляет собой отдельный агрегат, который может быть целиком демонтирован с автомобиля для ремонта или замены.

.jpg.webp)
С точки зрения кинематики и управляемости двойные поперечные рычаги считаются наиболее совершенным типом направляющего аппарата, что обуславливает очень широкое распространение такой подвески на спортивных и гоночных автомобилях. В частности, все современные болиды «Формулы-1» имеют именно такую подвеску как спереди, так и сзади. Большинство спортивных автомобилей и представительских седанов в наши дни также используют этот тип подвески на обеих осях.
Если подвеска на поперечных рычагах используется для подрессоривания управляемых колёс, её конструкция должна обеспечивать их поворот на необходимые углы. Для этого либо саму соединяющую рычаги стойку выполняют поворотной, используя для её соединения с рычагами специальные шаровые шарниры с двумя степенями свободы (их часто называют «шаровые опоры», но на самом деле опорой из них является только нижний шарнир, на который стойка действительно опирается) — либо стойка выполняется неповоротной, соединённой с рычагами обычными цилиндрическими шарнирами с одной степенью свободы (резьбовыми, резинометаллическими, сайлент-блоками) — а поворот колёс обеспечивается за счёт наличия отдельного от стойки поворотного кулака, который крепится к ней при помощи вращающейся в подшипниках оси — шкво́рня.
В настоящее время шкворни используются как правило в подвесках грузовиков, автобусов, тяжёлых пикапов и внедорожников, а в подвесках легковых автомобилей при необходимости обеспечения поворота колёс применяются стойки с шаровыми шарнирами, так как они не требуют частой смазки. Тем не менее, в последние годы в некоторых конструкциях подвесок легковых автомобилей по компоновочным соображениям вновь начинают применяться отдельные стойка и поворотный кулак, соединённые шкворнем — примером может послужить передняя подвеска Opel Insignia OPC.
Даже если шкворень в подвеске конструктивно отсутствует, из-за устоявшейся терминологии всё равно используются понятия углов продольного («кастер») и поперечного наклона шкворня, при этом имеется в виду не шкворень как физическая ось, а виртуальная ось, проходящая через центры верхнего и нижнего шаровых шарниров.
Если в подвеске на двойных поперечных рычагах упругий элемент соединён с нижним рычагом, то все вертикальные усилия, возникающие при проезде неровностей дорожного покрытия, будут передаваться через шаровую опору (или, в случае шкворневой подвески, нижний шарнир стойки), нагружая её на разрыв, что требует значительного усиления этого узла, а также самого нижнего рычага. Если прочность шаровой опоры недостаточна, то при эксплуатации на плохих дорогах будет происходить их ускоренный износ и даже имеется угроза разрушения, что нередко наблюдается в передней подвеске «классических» моделей ВАЗ. Иногда могут применять перевёрнутую шаровую опору, которая нагружается не на разрыв, а на сжатие, что намного более выгодно с точки зрения прочности и долговечности — этот приём используется на многих грузовиках, пикапах и внедорожниках, а также «Волге» ГАЗ-31105.
Однако наиболее технически совершенным решением является соединение с упругим элементом подвески не нижнего, а верхнего рычага (Ford Falcon и множество моделей на его платформе, Renault 12 / Dacia 1300 и некоторые другие модели). В этом случае все вертикальные усилия будут передаваться через поворотный кулак и работающий на сжатие верхний шаровой шарнир на верхний рычаг, а затем — через упругий элемент на усиленный брызговик крыла («чашка подвески»). Шаровая опора практически полностью разгружена от вертикальных усилий, за счёт чего она может быть существенно облегчена, как и нижний рычаг подвески — правда, ценой необходимости пропорционального усиления брызговика крыла, что несколько уменьшает выигрыш в весе. Кроме того, в пружинной подвеске появляется возможность применить более длинные и мягкие пружины, повысив тем самым комфортабельность. Главным недостатком такого решения является появление повышенной передачи на кузов возникающих при езде толчков и вибраций, что несколько снижает его долговечность, особенно при эксплуатации на плохих дорогах. Другим её недостатком является сравнительная громоздкость в вертикальном направлении.
То же самое наблюдается и в подвеске, в которой роль верхнего рычага играет поперечная рессора (см. ниже) — шаровая опора и нижний рычаг в ней разгружены от вертикальных усилий и могут быть существенно облегчены. Вертикальные усилия в такой подвеске передаются через поворотный кулак и верхний шаровой шарнир непосредственно на саму рессору, причём такая подвеска лишена описанного выше недостатка в отношении необходимости усиления брызговика крыла и снижения долговечности кузова — поперечная рессора как правило крепится к весьма прочной поперечине подрамника, через которую передаёт усилия на прочный нижний силовой пояс кузова, а не на сравнительно слабые брызговики крыльев.
Пружинная


Классический вариант передней независимой подвески для легковых автомобилей. Первые передние подвески такого типа стали появляться на массовых автомобилях в начале 1930-х годов, поначалу на моделях дорогих марок — Cadillac, Buick, Oldsmobile, Packard, Rolls-Royce, а к концу сороковых годов они применялись уже практически повсеместно. До распространения в семидесятых-восьмидесятых годах менее удачной с точки зрения кинематики, но дешёвой и компактной подвески «Макферсон» этот тип для передней подвески легковых автомобилей использовался чаще всего. Реже используется и на задней оси — одной из первых моделей с задней подвеской данного типа стал Jaguar E-type начала 1960-х годов.
В качестве упругого элемента в такой подвеске используются винтовые пружины, как правило расположенные между рычагами, реже — вынесенные в пространство над верхним рычагом и упирающиеся в брызговик крыла, как в подвеске «Макферсон».
Торсионная
.jpg.webp)
В качестве упругих элементов используются торсионы — работающие на скручивание стержни. Как правило торсионы крепятся к нижним рычагам.
Торсионы могут располагаться как продольно (в этом случае они служат одновременно и осями рычагов), так и поперечно (во втором случае каждый из них может быть уподоблен половине стабилизатора поперечной устойчивости — с той разницей, что поперечные торсионы имеют с одной стороны неподвижное крепление, а стабилизатор закреплён лишь на рычагах подвески, в точках же крепления к раме или кузову он может свободно проворачиваться, и поэтому не работает при сжатии или отбое подвески одновременно с двух сторон — только при разноимённом ходе противоположных колёс)
Такая передняя подвеска использовалась на Citroën TA, а также многих автомобилях фирм Packard, Chrysler и Fiat начиная с пятидесятых годов, советских легковых ЗиЛ и некоторых моделях французской фирмы Simca, созданных в годы сотрудничества с «Крайслером» (например Simca 1307).
Характеризуется высокой плавностью хода благодаря выгодной с этой точки зрения упругой характеристике торсиона, компактностью (что например позволило на «Симке» разместить между рычагами приводы передних колёс). Позволяет осуществлять регулировку высоты подвески в процессе эксплуатации автомобиля, изменяя статический угол закручивания торсиона.
Рессорная
.jpg.webp)
В этой подвеске в качестве упругого элемента используются поперечные рессоры: одна, две, очень редко — более двух, при сохранении общей схемы параллелограмма.
Поперечная рессора может выступать в качестве одного из рычагов параллелограмной подвески — верхнего, как показано на иллюстрации слева-вверху, нижнего, как на иллюстрации слева посередине, или даже обоих рычагов, как показано на нижней иллюстрации слева.

Поперечная рессора может быть закреплена на шасси автомобиля в двух точках или в одной. Рессора с жёсткой центральной заделкой, неподвижно закреплённая на шасси в своей середине, ведёт себя по сути как две четверть-эллиптические рессоры, каждая из которых заменяет один длинный поперечный рычаг. Она обладает меньшей податливостью в поперечном направлении (меньше изменение колеи при работе подвески), но большей в продольном по сравнению с закреплённой в двух точках (больше продольное смещение колеса и закручивание расположенной снизу рессоры при разгоне и торможении).

Эластично закреплённая в двух точках поперечная рессора также заменяет два поперечных рычага, но при этом их работа оказывается связанной — часть рессоры, расположенная между креплениями, работает как стабилизатор поперечной устойчивости, зачастую вообще исключая его из конструкции подвески. Во втором случае подвеска является независимой лишь до определенного предела, так как приложение существенного усилия к колёсам одной стороны оказывается влияние на колёса противоположной.
Таким образом, рессора с креплением в двух точках более целесообразна для дорожных автомобилей, заменяя не только пару рычагов, но и стабилизатор поперечной устойчивости, — в то время, как поперечная рессора с центральной заделкой наиболее пригодна для использования в подвеске внедорожной техники, для которой критична независимая работа подвески слева и справа, что способствует улучшению проходимости. Именно по этим соображениям она применена в подвесках западногерманского лёгкого военного вездехода Volkswagen Iltis, причём передняя и задняя подвески у него конструктивно идентичны.
.jpg.webp)
Из-за намного большей податливости рессоры в продольном и поперечном направлениях по сравнению с рычагами, качающимися на резьбовых или резинометаллических шарнирах, геометрия подвески с поперечной рессорой сильно меняется в ходе её работы, что отрицательно сказывается на управляемости автомобиля. Поэтому подвеска с двумя поперечными рессорами или с поперечной рессорой снизу и рычагами сверху широко применялась лишь до пятидесятых годов, например, на Mercedes-Benz 170V и Tatra T87, а впоследствии — только на малоскоростных автомобилях вроде Willys Jeepster или лёгких заднемоторных автомобилях с относительно малонагруженным передком (например Fiat 600 и Fiat 850). В последнем случае получалась очень рациональная конструкция, так как появлялась возможность продвинуть вперёд пассажирский салон, разместив ноги водителя в нише, расположенной над поперечной рессорой и между короткими верхними рычагами подвески, что было очень выгодно для заднемоторного автомобиля с точки зрения распределения массы по осям; кроме того, рессора, закреплённая в двух точках заменяла стабилизатор поперечной устойчивости.
Введение в такую подвеску дополнительных реактивных тяг устраняет избыточную податливость, но существенно усложняет конструкцию и как правило делает её применение экономически невыгодным. Подвеска с двумя поперечными рессорами иногда применялась также на тракторах и малоскосростной сельскохозяйственной технике благодаря своей дешевизне и простоте (показано на иллюстрации). Из эксплуатируемой в настоящее время техники такую подвеску можно найти на электротележке (электрокаре) «Балканкар» ЕП-011. Рессор могло быть и четыре — две сверху, две снизу, в этом случае несколько снижались продольная податливость подвески и устранялось закручивание нижней рессоры про разгоне и торможении.

Расположенная сверху поперечная рессора подвергается меньшим нагрузкам по сравнению с расположенной снизу, поэтому компоновка подвески с поперечной рессорой сверху и поперечными рычагами снизу была более распространена. Её часто использовали в передней подвеске переднеприводных автомобилей, так как на них между рычагами проходят приводы передних колёс, зачастую не оставляя места для пружин. В этом случае подвеска на поперечной рессоре оказывалась сравнительно удачным, экономичным и недорогим решением для малоскоростных автомобилей.
Например, на переднеприводном Ford Taunus поколений P4 и P6 (1962—1970) использовалась именно такая схема передней подвески — треугольные А-образные рычаги с очень большой базой снизу и поперечная рессора сверху. При его максимальной скорости, едва превышавшей 120 км/ч, её хватало для сохранения адекватной управляемости автомобиля, при этом передняя подвеска была весьма простой и дешёвой. Примерно так же была устроена передняя подвеска и на итальянских переднеприводных автомобилях Autobianchi Primula и Autobianchi A111, а также ГДР-овском «Трабанте».
С широким распространением в семидесятые годы подвески типа «Макферсон» для передних ведущих колёс легковых автомобилей и варианта подвески с двумя поперечными рычагами с пружинами, вынесенными над верхними рычагами, оставляя место для приводов колёс (Renault 12, Renault 18, Dacia 1300 и т. д.), подвески на верхней поперечной рессоре вышли из употребления.

.jpg.webp)
Наиболее же технически совершенным типом параллелограммной подвески на поперечной рессоре является подвеска на двух поперечных рычагах с каждой стороны с прикреплённой к одной из пар (верхней или нижней) поперечной рессорой (на иллюстрации справа). Такая подвеска не имеет существенных отличий от подвески на двойных поперечных рычагах с пружинами или торсионами — рессора в ней играет роль исключительно упругого, а не направляющего элемента.
Главное её достоинство — относительная компактность поперечной рессоры, что сделало её выгодным выбором для конструкторов спорткаров с характерной для них плотной компоновкой. Например, на Chevrolet Corvette многих поколений, включая самые последние, в передней или задней подвесках используются поперечные рессоры, расположенные под нижним рычагом и шарнирно соединённые с ним (или с верхним рычагом, в зависимости от модели). Так же использовались поперечные рессоры в подвесках таких автомобилей, как Opel Kadett A и B, Fiat 127, Fiat 128 и Fiat Ritmo. В передней подвеске Lancia Flavia использовалась поперечная рессора, расположенная над верхними рычагами и шарнирно с ними соединённая. Поперечная рессора из композитного материала используется в качестве упругого элемента в задней подвеске некоторых современных моделей фирмы Volvo и недавно существовавших фирмы Cadillac, что позволило сэкономить место в багажном отделении.

Изредка применялась схема подвески на четырёх (по две на борт) поперечный полурессорах, или четвертьэллиптических рессорах, например на довоенных легковых автомобилях Packard. Четвертьэллиптические рессоры намного менее податливы в продольном и поперечном направлении, чем полуэллиптические, но всё же проигрывали в постоянстве геометрии по сравнению с настоящей подвеской на поперечных рычагах. Кроме того, они весьма жёстки в вертикальном направлении, что затрудняет создание комфортабельного автомобиля с плавным ходом.
Подвеска на поперечных рессорах рассчитана главным образом на хорошие дороги, поскольку из-за малой длины работающей части рессоры рабочие ходы такой подвески получаются сравнительно небольшими (при больших ходах стальная рессора просто переломится), причём это в особенности чувствительно для небольших автомобилей с узкой колеёй. Например, у «Фиата-500» динамический ход передней подвески на поперечной рессоре составлял менее 40 мм. По той же причине автомобили с подвеской на поперечных рессорах имеют сравнительно жёсткий ход.
Исключение составляет подвеска на поперечных рессорах, применённая на белорусских вездеходах конструкции В. В. Мазуркевича, выпускаемых фирмой «Литвина-Сервис», в которой использованы очень длинные и мягкие однолистовые или малолистовые рессоры, продольная податливость которых оказывается в данном случае большим преимуществом, так как позволяет без вреда для подвески гасить удары колёс о препятствия.
На резиновых упругих элементах
Вместо пружин в неё используются либо работающие на сжатие резиновые блоки, связанные с рычагами подвески при помощи толкателя (оригинальный Austin Seven / Mini), либо упругая резиновая диафрагма (Brütsch Bussard).
Гидропневматическая и пневматическая
В качестве упругих элементов используются пневмобаллоны (лоурайдеры, некоторые модели легковых автомобилей североамериканского производства конца пятидесятых годов, некоторые исторические модели Mercedes-Benz, Austin, Borgward и иных фирм) или гидропневматические упругие элементы (знаменитые подвески фирмы Citroën, завязанные в единую гидросистему с гидроусилителем руля и тормозами, способные в большом диапазоне изменять дорожный просвет автомобиля). Направляющий аппарат аналогичен пружинной подвеске того же типа.
Многорычажные подвески


В большинстве случаев являются разновидностью подвески на двойных поперечных рычагах и так называемые «многорычажные» независимые подвески, обычно используемые на современных заднеприводных автомобилях в качестве задних (иногда также встречается термин «подвеска на пространственных рычагах»). С целью улучшения характеристик в них могут добавляться дополнительные рычаги, обеспечивающие более выгодное изменение геометрии в некоторых режимах работы подвески.
Долгое время подвеска на двойных поперечных рычагах, несмотря на свои кинематические преимущества, применялась только в качестве передней, за исключением гоночных и некоторых спортивных автомобилей. Причиной этого была чувствительность задней подвески данного типа к продольным силам, возникающим при изменении подачи газа и торможении во время поворота: из-за эластокинематической деформации креплений рычагов на кузове внешнее заднее колесо отжималось назад, «подруливая» наружу от центра поворота, вследствие чего автомобиль приобретал сильную избыточную поворачиваемость и происходило так называемое «ввинчивание» в поворот, на мощных быстроходных автомобилях вполне способное привести к аварии.
Таким образом, автомобиль с задней подвеской на двойных поперечных рычагах при весьма хороших ездовых качествах оказывался сложным в управлении, требуя от водителя особой аккуратности при прохождении поворотов на высокой скорости. В гоночной технике этот недостаток обходили за счёт использования абсолютно жёстких креплений рычагов (резьбовые или бронзовые втулки, сферические шарниры), однако для «гражданской» техники это решение было неприемлемо из-за резкого снижения комфорта.
Между тем, со временем инженеры сумели использовать эластокинематику подвески таким образом, чтобы заданная при проектировании деформация её упругих частей не ухудшала, а улучшала устойчивость и управляемость автомобиля. Первыми к реализации этой идеи пришли конструкторы спортивного Porsche 928, нижние рычаги задней подвески которого сделали составными: под воздействием тормозной силы передняя часть рычага немного подавалась в сторону кузова, в результате чего наружное в повороте колесо приобретало положительное схождение и «ввинчивания» не происходило. Эта подвеска получила название «мост Вайсзах» (Weissach-Achse) в честь испытательного полигона «Порше».
Первая массовая серийная модель с подобной подвеской — Mercedes-Benz W201 (первый C-Klasse, 1982 год), у него в задней подвеске имелся пятый рычаг, который при ходе сжатия слегка доворачивал колесо в ту же сторону, в которую повёрнуты передние управляемые (пассивное «подруливание» внутрь поворота).[18] В настоящее время подвески такого типа имеют широкое распространение.
Существуют также многорычажные подвески на базе подвески «макферсон» (Quadralink и подобные), также с введением в её конструкцию дополнительных «подруливающих» рычагов.
Свечная подвеска
.jpg.webp)
.jpg.webp)
.jpg.webp)

Характерная подвеска спортивно-гоночных автомобилей 1910-х — 40-х годов, видимо, самая первая из независимых подвесок по времени изобретения (Decauville, 1898 год). До настоящего времени применяется на британских спортивных автомобилях Morgan и тракторе Беларус МТЗ-82.
Поворотный кулак, сверху подпираемый пружиной, скользит вверх-вниз по жёстко закреплённой на раме автомобиля трубчатой или точёной круглого сечения направляющей, она же обеспечивает его поворот, играя роль шкворня. Иногда пружины могли заменяться на поперечную рессору, связанную с поворотным кулаком тягой. Очень компактна, сравнительно проста, весьма надёжна, имеет небольшую массу. Движение колеса задаётся направляющей очень жёстко, и при наезде на препятствие оно поднимается вертикально вверх, не изменяя углов установки, что обеспечивает постоянство кинематических параметров подвески, но при этом в повороте колёса накреняются вместе с кузовом.
Из-за указанного недостатка, а также высокой стоимости производства и очень «жёсткой» езды (передача усилия без посредства рычага непосредственно на упругий элемент при конструктивно обусловленных очень небольших рабочих ходах вынуждает делать упругий элемент очень жёстким), распространения за пределами очерченного выше круга конструкций в чистом виде практически не получила. Считается предшественником подвески типа «макферсон».
Подвеска «Макферсон» (качающаяся свеча)


Представляет собой с одной стороны дальнейшее развитие свечной подвески, в которой направляющая стойка (свеча) была дополнена нижним рычагом и получила возможность качаться в поперечном направлении при рабочих ходах благодаря верхнему упругому шарниру, а с другой — упрощённый вариант подвески на двойных поперечных рычагах, в которой направляющая стойка заменяет верхний рычаг. Соответственно, кинематика такой подвески повторяет кинематику подвески на двойных поперечных рычагах, но в упрощённом и ухудшенном виде.
Это самый распространённый в наши дни тип независимой подвески легкового автомобиля. Характеризуется простотой, дешевизной, компактностью и приемлемой для массовых автомобилей общего назначения кинематикой.
В последние десятилетия на сравнительно дорогостоящих автомобилях наблюдается тенденция к замене её на более совершенную подвеску с двойными поперечными рычагами (включая «многорычажные»). Например, на Audi 80 и Audi 100 использовался «макферсон» спереди (и полузависимая подвеска со связанными продольными рычагами сзади), а на сменивших их моделях Audi A4 и Audi A6 — уже подвеска на двойных поперечных рычагах, причём и спереди, и сзади. На бюджетных же моделях «макферсон» и сейчас считается оптимальным решением с точки зрения сочетании экономии, компактности и кинематики.
На продольных и поперечных рычагах
По сути вариант подвески «макферсон», сложный и очень редко встречавшийся. Для разгрузки брызговика крыла пружины в ней располагались не вертикально, а горизонтально продольно, и упирались задним торцом в перегородку между моторным отсеком и салоном (щит передка). Для передачи усилия от амортизаторной стойки на пружины было необходимо введение дополнительного качающегося в вертикальной плоскости продольного рычага (по одному с каждого борта), передний конец которого шарнирно закреплялся наверху стойки, задний — также шарнирно на щите передка с возможностью качания вверх-вниз, а в его средней части имелся упор для переднего торца пружины.
Из-за своей сравнительной сложности такая подвеска потеряла основные преимущества схемы макферсон — компактность, технологическую простоту, небольшое количество шарниров и малую себестоимость, сохранив все её кинематические недостатки.
Такую подвеску имели английские «Роверы» 2200 TS и 3500 V8 (фото), а также немецкие Glas 700, S1004 и S1204.
Похожие дополнительные продольные рычаги имелись в передней подвеске первого «Мерседеса» S-класса, но пружины располагались всё же традиционно — в вертикальном положении между кузовом и нижними поперечными рычагами, а сами небольшие продольные рычажки служили только для улучшения кинематики (многорычажная передняя подвеска).
См. также
Литература
- ГОСТ 18667-73. «Автомобили, основные агрегаты и механизмы. Термины и определения». — Москва: ИПК Издательство стандартов, 2005. — 12 с.
- ГОСТ 17697-72. «Автомобили, качение колеса. Термины и определения». — Москва: ИПК Издательство стандартов, 1972. — 24 с.
- Гришкевич А.И., Ломако Д.М., Автушко В.П. — Автомобили: Конструкция, конструирование и расчёт. Системы управления и ходовая часть. — Минск: Вышэйшая школа, 1987. — 200 с.
- Рампель, Йорнсен. Шасси автомобиля: Конструкция и кинематика = Fahrwerktechnik: Konstruktion und Kinematik / Пер. с нем. В. П. Агапова; под ред. И. Н. Зверева. — Москва: Машиностроение, 1983. — 356 с.
- Рампель, Йорнсен. Шасси автомобиля: Элементы подвески = Fahrwerktechnik: Federung Fahrwerkmechanik / Пер. с нем. А. Л. Карпухина; под ред. Г. Г. Гридасова. — Москва: Машиностроение, 1987. — 288 с.
- Сабинин А. А. Скоростные автомобили. — Москва: Физкультура и спорт, 1953. — 249 с.
- Robert Bosch GmbH, пер. с англ. Дугина Г.С., Комарова Е.И., Онуфрийчук Ю.В. Автомобильный справочник BOSCH. — Москва: ЗАО КЖИ «За рулем», 2004. — 992 с. — ISBN 5-85907-327-5.
- Долматовский Ю. А. Строим автомобиль // Моделист-Конструктор. — 1975, 1976. — № 10, 1, 5, 7, 9, 11.
- Хусайнов А. Ш. Эксплуатационные свойства автомобиля. — Ульяновск: УлГТУ, 2011. — 110 с. — ISBN 978-5-9795-0888-7.
Примечания
- ГОСТ 18667-73 . — С. 7. П.11 «Виды подвесок автомобиля», термин 85 «Подвеска автомобиля».
- Шасси автомобиля . — С. 146. § 2.1.1 «Требования к системе подрессоривания».
- ГОСТ 18667-73 . — С. 8. П.11 «Виды подвесок автомобиля», термин 96 «Направляющее устройство подвески».
- ГОСТ 18667-73 . — С. 8. П.11 «Виды подвесок автомобиля», термин 97 «Упругий элемент подвески».
- ГОСТ 18667-73 . — С. 8. П.11 «Виды подвесок автомобиля», термин 98 «Гасящее устройство».
- ГОСТ 18667-73 . — С. 7. П.11 «Виды подвесок автомобиля», термин 86 «Зависимая подвеска».
- Автомобили . — С. 109. § 3.1 «Подвеска. Назначение и классификация», Зависимая подвеска.
- ГОСТ 18667-73 . — С. 7. П.11 «Виды подвесок автомобиля», термин 87 «Независимая подвеска».
- Автомобили . — С. 109. § 3.1 «Подвеска. Назначение и классификация», Независимая подвеска.
- ГОСТ 18667-73 . — С. 7. П.11 «Виды подвесок автомобиля», термин 90 «Рессорная подвеска».
- ГОСТ 18667-73 . — С. 7. П.11 «Виды подвесок автомобиля», термин 91 «Пружинная подвеска».
- ГОСТ 18667-73 . — С. 7. П.11 «Виды подвесок автомобиля», термин 92 «Торсионная подвеска».
- ГОСТ 18667-73 . — С. 7. П.11 «Виды подвесок автомобиля», термин 93 «Резиновая подвеска».
- ГОСТ 18667-73 . — С. 8. П.11 «Виды подвесок автомобиля», термин 94 «Пневматическая подвеска».
- ГОСТ 18667-73 . — С. 8. П.11 «Виды подвесок автомобиля», термин 95 «Гидропневматическая подвеска».
- Б. Фиттерман, доктор технических наук, А. Диваков, кандидат технических наук. Положительный эффект отрицательного плеча. «За рулем» № 11, 1979 год.
- Йорнсен Раймпель: Шасси автомобиля. Элементы подвески, п. 2.1.1.1: Тип и жёсткость упругих элементов.
- См. также: Владимир Николаев: Что такое многорычажная подвеска?