Манометр Мак-Леода
Компрессио́нный мано́метр Мак-Лео́да — прибор для измерения низких давлений, был разработан в 1890 году. Действие прибора основано на измерении высоты столбика газа, сжатого ртутью в капилляре известного сечения.



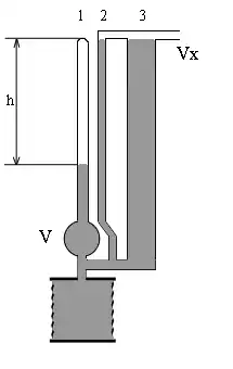
Измерение давления с помощью манометра Мак-Леода
Измерение давления с помощью манометра осуществляется следующим образом:
- Расширяя резервуар с гибкими стенками, полностью очищают трубки 1, 2 и 3 от ртути, соединяя таким образом ресивер V с исследуемым объёмом Vx.
- Затем, сжимая нижний резервуар, заполняют систему ртутью до тех пор, пока уровень ртути в капилляре 2 не совпадет с верхним концом капилляра 1. При этом в 1 остается столбик сжатого газа.
- При изготовлении прибор градуируется, и рядом с трубкой наносится шкала, по которой можно непосредственно снимать отсчёт давления в торрах либо других единицах.
Важно отметить, что манометр рассчитан на измерение давления газа в изотермических условиях, поэтому процесс заполнения манометра и последующего сжатия газа в измерительном капилляре 1 должен производиться как можно медленнее.
Трубка 3 обычно делается значительно шире капилляров 1 и 2 с целью облегчения проникновения газа из исследуемой системы в ресивер.
Рабочая формула
Приведем вывод формулы для нахождения давления в объеме по высоте :
Давление газа в капилляре 1 до сжатия равно измеряемому давлению , после сжатия:
.
При этом, так как процесс сжатия газа является изотермическим, на основании закона Бойля-Мариотта:
.
Отсюда можно выразить искомое давление:
.
В силу того, что объем газа в капилляре много меньше объёма ресивера, формулу можно преобразовать к следующему приближенному виду:
,
, где
C — постоянная прибора. Очевидно, что для измерения возможно более минимального давления при неизменной высоте столбика газа в капилляре 1 необходимо увеличивать объем ресивера и уменьшать радиус капилляра.
Применение манометра Мак-Леода
Практическое использование прибора затруднено в силу сложности, неудобства и медленности работы с ним, а также невозможности серийного изготовления. Манометры изготавливаются и градуируются штучно, при этом для каждого экземпляра варьируется значение постоянной прибора. Потому манометр Мак-Леода используется только как эталонный прибор при градуировке серийных манометров и вакуумметров. Достоинствами манометра Мак-Леода является абсолютность метода измерения, так как высота столбика сжатого газа при прочих равных условиях напрямую связана с его давлением. Предел шкалы прибора ограничивается возможностью очистки рабочего объёма от газа (при его увеличении резко возрастает масса используемой в приборе ртути), диаметром капилляра (при излишне узком капилляре происходит прилипание ртути к его стенкам), возможностью измерения столбика газа, и в лучших практических экземплярах составляет порядка 10−5Torr.