Лодочный мотор
Подвесной ло́дочный мото́р — лодочный мотор, прикрепляемый к жёсткому транцу лодки. Получил большое распространение во второй половине XX века на маломерных судах (моторные лодки).

Крайние моторы имеют разное направление вращения гребного винта (для выравнивания правой и левой циркуляции).
Основные преимущества по сравнению со стационарным: подвесной мотор не занимает полезный объём судна, легко демонтируется, что позволяет хранить дорогостоящий агрегат в надёжном месте.
Первоначально были широко распространены двухтактные моторы. Их преимущества — малый вес, высокая удельная мощность, простота конструкции и общая неприхотливость в эксплуатации. Постепенно их недостатки, по мере совершенствования четырёхтактных моторов, приводят к сокращению количества двухтактных. Экономичность, более высокий ресурс, удобство эксплуатации и растущая по мере совершенствования технологий удельная мощность — основные причины, которые вызывают повсеместный переход на четырёхтактную конструкцию. Следует отметить, что четырёхтактные моторы в сравнении с двухтактными аналогичной мощности имеют несколько бо́льшие габариты, примерно в 1,5 раза бо́льшую массу, стоят дороже, требуют более дорогих ГСМ.
Растущие требования к экологичности, прямой запрет на использование двигателей внутреннего сгорания на некоторых водоёмах привели к развитию практически бесшумных подвесных электромоторов, питающихся от аккумуляторов или топливных элементов. Разработан также подвесной парус, закрепляющийся, подобно мотору, на транце лодки.
На 2019 год мощность серийных подвесных лодочных моторов достигла 400 лошадиных сил (Mercury 400 Verado). В начале 2021 года была представлена модель Mercury V12 Verado, мощность которой составляет уже 600 л.с.
Особенности устройства



В настоящее время подвесные лодочные моторы преимущественно строятся по схеме, предложенной Олом Эвинрудом в 1906 г. Эта схема имеет вертикальную компоновку узлов.
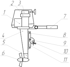
Двигатель внутреннего сгорания 1 закреплён в верхней части промежуточного корпуса (дейдвуда) 4. Коленчатый вал двигателя расположен вертикально. На верхнем конце коленчатого вала закреплены магнето 2 и стартер 3.
Внутри промежуточного корпуса 4 проходит вертикальный вал, связывающий коленчатый вал двигателя и редуктор. Также внутри промежуточного корпуса расположены трубки подачи воды для охлаждения двигателя, тяги управления редуктором. Через промежуточный корпус осуществляется выхлоп отработавших газов в воду.
Снизу к промежуточному корпусу крепится угловой конический одноступенчатый понижающий редуктор 5, обеспечивающий передачу вращения на гребной винт 6. На моторах мощностью до 5 л. с. редуктор может не иметь муфты сцепления и механизма реверса. На моторах мощностью от 5 до 12 л. с. наличие в редукторе муфты сцепления обязательно, но механизм реверса может отсутствовать. На моторах мощностью свыше 12 л.с. обязательно наличие муфты сцепления и механизма реверса. Обычно муфта сцепления и механизм реверса объединяются в один узел, называемый реверс-муфтой.
Гребной винт обычно соединяется с выходным (гребным) валом редуктора через элемент с ограниченной прочностью — предохранитель. Предохранитель обеспечивает экстренное разобщение винта и других деталей мотора в случае удара о подводное препятствие, что защищает мотор от поломки. В качестве предохранителя может выступать срезной штифт, срезная шпонка (после срабатывания эти элементы подлежат замене новыми), кулачковая предохранительная муфта многоразового действия или покрытая плотной резиной втулка (rubber hub) специальной конструкции.
Крепление мотора к транцу лодки осуществляется посредством подвески. В зависимости от количества степеней свободы различают следующие подвески:
- Жёсткая — мотор закрепляется на транце лодки неподвижно;
- Поворотная — мотор может поворачиваться вокруг вертикальной оси;
- Откидная — мотор может «откидываться» — поворачиваться вокруг горизонтальной оси;
- Поворотно-откидная — сочетающая в себе свойства поворотной и откидной подвески.
Поворотно-откидная подвеска получила наибольшее распространение. Она позволяет управлять направлением движения лодки за счёт поворота мотора вокруг вертикальной оси и откидывать мотор при ударе о подводное препятствие, а также на стоянке и в случае преодоления мелководья на веслах.
Подвеска современных моторов содержит упругие элементы для снижения уровня вибраций, передаваемых на корпус лодки.
Поворотно-откидная подвеска мотора состоит из вертикального шарнира 8, обеспечивающего поворот вокруг вертикальной оси при управлении курсом лодки, горизонтального шарнира 9 — обеспечивающего откидывание мотора, струбцин 10, обеспечивающих быстросъёмное крепление мотора к транцу лодки, упругих элементов 11. Моторы большой мощности крепятся к транцу болтами.
Управление подвесным лодочным мотором малой и средней мощности осуществляется с помощью румпеля 7. На конце румпеля обычно расположена поворотная рукоятка управления дроссельной заслонкой мотора, а в торце румпеля — кнопка «Стоп». Таким образом, управления лодочным мотором можно осуществлять одной рукой. В целях безопасности на многих моторах кнопка «Стоп» действует «на размыкание цепи». Чтобы двигатель работал, под неё вставляется «чека́», соединённая тросиком с телом рулевого. Если рулевой внезапно упадёт в воду — двигатель остановится.

- 1 — большой угол, лодка поднимает нос;
- 2 — малый угол, лодка опускает нос;
- 3 — оптимальный угол.

- Вал 1 постоянно вращается от коленчатого вала двигателя, в корпусе помпы 2 находится крыльчатка с резиновыми лопастями; забортная вода подаётся в блок цилиндров по металлической трубке (путь забортной воды показан стрелками синего цвета); из двигателя нагретая вода и выхлопные газы поступают в дейдвуд и выходят наружу через ступицу гребного винта 4.
- 3 — редуктор;
- 6 — тяга реверса;
- 5 — антикавитационная плита;
- 7 — анод катодной защиты.


Моторы средней и большой мощности управляются дистанционно — с поста управления лодкой. Дистанционное управление может осуществляться как с помощью тросов (штуртрос), так и с помощью гидравлических или электрических сервомеханизмов.
Топливный бак обычно размещается в лодке и соединяется с мотором шлангом. Моторы малой мощности (2,5 — 5 л.с.) имеют встроенный топливный бак.
Для предотвращения коррозии, особенно при работе в морской воде, на подводную часть мотора устанавливаются аноды катодной защиты. Для компенсации реактивного момента, возникающего при работе гребного винта, устанавливается регулируемый триммер, как правило, совмещённый с анодом катодной защиты.
Современные подвесные лодочные моторы могут иметь ряд узлов, обеспечивающих комфортные условия для экипажа и пассажиров лодки:
- электрический генератор, обеспечивающий оборудование лодки электроэнергией;
- электростартер, обеспечивающий запуск мотора;
- гидравлический насос, обеспечивающий работу сервомеханизмов;
- компрессор, обеспечивающий быстрое наполнение сжатым воздухом баллонов надувной лодки;
- осушительный насос, обеспечивающий откачку из лодки попавшей туда воды;
- бойлер, обеспечивающий нагрев воды для отопления кокпита лодки;
- приёмник давления, обеспечивающий работу указателя скорости (спидометра);
- контрольно-измерительные приборы, информирующие рулевого о режиме работы мотора и аварийных ситуациях.
Ряд производителей выпускает подвесные моторы с водомётным движителем, или допускается замена редуктора с гребным винтом на водомётную приставку.
По длине дейдвуда (соответственно высота транца) подвесные моторы выпускаются:
- «короткая нога» — 381 мм, как правило, обозначается S (standart), моторы для обычных моторных лодок;
- «длинная нога» — 508 мм, как правило, обозначается L (long), так называемые «морские», для катеров и яхт.
Подвесные моторы очень большой мощности (200—300 л. с. и более) выпускаются с ещё более длинным дейдвудом (предназначены для катеров):
- UL или X — длина дейдвуда 635 мм;
- XX — длина дейдвуда 762 мм.
Расстояние между днищем судна и антикавитационной плитой лодочного мотора составляет (согласно инструкции) около 20—25 мм, как правило, окончательно подбирается экспериментально путём изменения высоты транца. Антикавитационная плита — металлическая пластина, расположенная на дейдвуде горизонтально над гребным винтом, предназначена для того, чтобы винт не захватывал воздух с поверхности, и, следовательно, не происходила кавитация.
Другие конструкции подвесных лодочных моторов
В странах Юго-Восточной Азии распространены подвесные лодочные моторы с двигателями воздушного охлаждения (как с двухтактными, так и с четырёхтактными), широко применяющимися на малогабаритной сельскохозяйственной технике, на малогабартных бензиновых электростанциях, и др. На транцевом креплении шарнирно закреплена подмоторная рама, на ней установлен двигатель. Редуктор и муфта сцепления, как правило, отсутствуют, гребной винт насажен на удлинитель коленчатого вала. Управление с румпеля. Данные моторы в странах Азии носят название «хвост креветки» (англ. Shrimp Tail Motor). Так как двигатели имеют воздушное охлаждение, такие моторы могут эксплуатироваться в загрязнённой воде (песок, ил), в заросших водной растительностью водоёмах. На больших прогулочных лодках устанавливаются моторы с жидкостным охлаждением, снятые со старых автомобилей. Моторы аналогичных конструкций находят применение в вооружённых силах, носят название «мотор-весло».
![]() | ![]() | ![]() | ![]() |
| Лодочный мотор с двигателем воздушного охлаждения от сельскохозяйственной техники, Таиланд | Лодка с кустарно изготовленным подвесным мотором (использован двигатель с водяным охлаждением от старого автомобиля) | Подвесной дизельный двигатель на китайской рыбацкой лодке[1] | Подвесной мотор-болотоход Go-Devil с воздушным охлаждением |
Подвесные моторы производства СССР/России
Следует иметь в виду разницу отечественной и зарубежной маркировки моделей моторов и определения их мощности. Отечественные лодочные моторы до последнего момента выпускались с указанием в паспорте (и марке модели) максимальной мощности на валу двигателя, а все зарубежные — непосредственно на винте или гребном валу. Поэтому, с учетом потерь (в редукторе и т. п.), у отечественных моторов мощность на гребном валу (которая собственно и «толкает» лодку) может оказаться ниже, чем у «аналогичных» зарубежных моделей. Поэтому сравнивая моторы, следует всегда уточнять, о какой именно мощности идет речь.[2]
Лодочные моторы и законодательство Российской Федерации
Согласно Федеральному закону от 23.04.2012 № 36-ФЗ «О внесении изменений в отдельные законодательные акты Российской Федерации в части определения понятия маломерного судна» лодочные моторы мощностью до 8 киловатт (10,88 л.с.) включительно не подлежат регистрации[3].
Примечания
- См. фотографию рыбацкой лодки китайского производства, традиционную для приамурской провинции Хэйлунцзян, так называемая моторная джонка (российские пограничники конфисковали у китайских браконьеров)
- КАК ВЫБРАТЬ ЛОДОЧНЫЙ МОТОР? (недоступная ссылка). Дата обращения: 23 декабря 2014. Архивировано 23 декабря 2014 года.
- Федеральный закон Российской Федерации от 23 апреля 2012 г. N 36-ФЗ




