Кулачковая муфта
Кулачковая муфта — это управляемая или сцепная муфта, которая состоит из двух полумуфт, расположенных на концах валов. В рабочем положении выступы одной полумуфты входят во впадины другой, при этом одна из полумуфт является подвижной при помощи механизма управления муфтой.

Конструкция
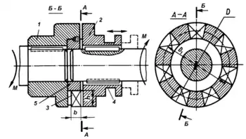
В простейшем случае муфта состоит из двух полумуфт (1) и (2) (См. рис.1), на торцах которых равномерно по кругу расположены кулачки (3). Одна полумуфта закрепляется на валу неподвижно, а другая, находящаяся на другом валу, может перемещаться вдоль этого вала. Подвижную полумуфту перемещают с помощью специального устройства — механизма управления муфтой (на рис.1 не показан). Вилку механизма управления размещают в кольцевом пазу (4) подвижной полумуфты. При введении в зацепление кулачков двух полумуфт осуществляется передача крутящего момента M от одного вала к другому (на рис. 1 муфта показана в сомкнутом состоянии). Кольцо (5) служит для центровки валов.
Распространены следующие формы профиля кулачков:
- прямоугольная — требует точного взаимного расположения полумуфт в момент включения;
- трапециевидная симметричная — не требует точного взаимного расположения полумуфт, поскольку боковые зазоры компенсируются изменением глубины посадки кулачков;
- трапециевидная несимметричная — обеспечивает нереверсивность работы муфты за счёт того, что угол наклона одной из боковых поверхностей профиля увеличен до такой степени, что самоторможение муфты устраняется; в результате при вращении ведущего вала в одном из направлений муфта будет проскальзывать и не будет передавать вращающий момент.
Включение кулачковой муфты при относительном вращении валов сопровождается ударами, которые могут вызывать разрушения кулачков. Поэтому такие муфты не рекомендуется использовать для включения механизма под нагрузкой и при больших скоростях относительного вращения (V ≥ 1 м/с).
Расчёт
Работоспособность кулачковых муфт определяется износом кулачков, зависящим от напряжений смятия на поверхностях соприкосновения. Эти напряжения рассчитывают приблизительно, исходя из допущения, что нагрузка распределяется равномерно между кулачками:
где: z — число кулачков полумуфты;
- K — динамический коэффициент нагрузки.
- σсм = 90...120 МПа — при включении без относительного вращения;
- σсм = 50...70 МПа — при включении на малых оборотах;
- σсм = 35...45 МПа — при включении на больших скоростях.
Для уменьшения изнашивания поверхность кулачков должна иметь высокую твёрдость, которая достигается поверхностной термообработкой или цементацией. Применение последней сохраняет вязкость сердцевины, которая повышает ударную вязкость кулачков. Муфты с цементацией кулачков изготовляют из сталей 15Х, 20Х, при поверхностной закалке — из сталей 40Х, 30ХН.
Борьба с вибрацией
В конструкциях некоторых муфт между кулачками расположен эластичный материал (рис. 2). Эластичный материал выполняет роль демпфера, и позволяет сглаживать вибрации и защищать детали от перегрузок и повреждений. Чем выше демпфирующие свойства такой муфты, тем меньшим пределом прочности при кручении она обладает.
Литература
- Поляков В. С., Барбаш И. Д., Ряховский О. А. Справочник по муфтам. Л., «Машиностроение» (Ленингр. отд-ние), 1974, 352 с.
- Анурьев В. И. Справочник конструктора-машиностроителя : в 3 т. / под ред. И. Н. Жестковой. — 8-е изд., перераб. и доп. — М. : Машиностроение, 2001. — Т. 2. — 912 с. — ББК 34.42я2. — УДК 621.001.66 (035). — ISBN 5-217-02964-1.