Контактный рельс
Конта́ктный рельс — жёсткий контактный провод или третий рельс, предназначенный для осуществления скользящего контакта с токоприёмником подвижного состава (электровоза, моторного вагона), изобретенный американским инженером Гранвиллом Вудсом.


Изготавливается из мягкой стали, форма и поперечные размеры схожи с формой и размерами обычных рельсов. Рельс крепится при помощи изоляторов к кронштейнам, которые в свою очередь монтируются на шпалы ходовых рельсов.
Применение



Главное преимущество контактного рельса — надёжный токосъем при контакте с токоприёмниками моторных вагонов или электровозов, расположенными на ходовых частях колёсных тележек. Также исключаются колебание токоприёмников и отрыв их от контактного рельса, а следовательно, нарушение контакта и разрыв цепи тока, искрение и дугообразование, разрушающие контактные поверхности.
Основная область применения контактных рельсов — подземный железнодорожный транспорт, в частности, обеспечение движения поездов метрополитена. Реже данное технологическое решение применяется на открытых линиях при относительно невысоком напряжении (не более 3000 В).
Также контактный рельс применяется для обеспечения энергией подъёмного оборудования (например подъёмных кранов) и складских транспортных устройств, подвесных дорог, электроталей, станков, осветительных устройств и других подобных технических средств.
Различают два типа контактных рельсов:
- боковой контактный рельс — закрыт сверху и с боков изоляционным коробом, а электропитание снимается проходящим снизу контактным башмаком (нижний токосъём).
- нижний контактный рельс — изоляция отсутствует.
В зависимости от того, как расположена контактная поверхность, имеют место:
- нижний токосъём — контактная поверхность снизу;
- верхний токосъём — контактная поверхность сверху;
- боковой токосъём — контактный рельс повёрнут на 90°, в результате чего контактная поверхность находится сбоку.
Достоинства
- Использование контактного рельса в метрополитене вместо контактного провода позволяет уменьшить габариты тоннелей.
- Контактный рельс обладает высокой надёжностью и долговечностью.
- Прост в ремонте и обслуживании.
- Низкое сопротивление постоянному току. Стандартные сечения контактного рельса — 5800 и 6600 мм²[1], что примерно в 50—80 раз больше, чем у контактного провода (85, 100 и 120 мм²[2]), поэтому сопротивление контактного рельса значительно ниже, чем контактного провода, даже несмотря на то, что удельное сопротивление стали в 6—8 раз выше, чем у меди (сопротивление проводника обратно пропорционально площади сечения).
Недостатки (при применении на наземном транспорте)
- Низкая электробезопасность.
- Незащищённость от снежных заносов.
- Скорость подвижного состава ограничена примерно 120 км/ч.
- Высокое сопротивление переменному току. Сталь является ферромагнетиком, поэтому скин-эффект в ней выражен гораздо сильнее, чем в неферромагнитных металлах, например в меди глубина скин-слоя 9 мм, а в стали — всего 0,74 мм. Поэтому почти весь ток течет в поверхностном слое, общее сечение которого около 400 мм², что эквивалентно медному проводу сечением около 50 мм² — это меньше стандартного сечения контактного провода.
Контактные рельсы трамваев

Контактные рельсы применяются и в трамваях. Зачастую в таких трамваях применяется комбинированный тип электроснабжения — от контактного рельса и воздушной контактной сети, к примеру в городских трамваях Анже, Бордо, Рио-де-Жанейро.
Материал, профиль, длина
Ввиду того, что контактный рельс является проводником электрического тока, его омическое сопротивление должно быть мало, поэтому при изготовлении контактного рельса используют низкоуглеродистую сталь, так как примесь углерода увеличивает электрическое сопротивление.
Нормальная длина контактного рельса составляет 12,5 м. На прямых и кривых участках радиусом 300 м и более в тоннелях контактные рельсы сваривают в плети длиной 100 м, на наземных участках длина плетей составляет 37,5 м, а на парковых путях и кривых радиусом менее 300 м — 12,5 м.
Подвеска контактного рельса
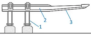
Установку контактного рельса осуществляют при помощи металлических опор-кронштейнов головкой вниз. Кронштейны в свою очередь крепятся к шпалам. При такой подвеске контактный башмак, установленный на тележке вагона и подтягиваемый пружинами вверх, скользит по головке рельса — нижний токосъем.
Кронштейны устанавливаются на определённом расстоянии друг от друга — обычно 4,5—5,4 м. В местах температурных стыков расстояние между кронштейнами уменьшается. По форме кронштейн представляет собой изогнутую деталь швеллерного профиля. В верхней части детали имеется отверстие и приварена так называемая «коробочка», а нижняя часть (так называемый «хвост») крепится к шпалам. Высота кронштейна, которая и определяет высоту контактного рельса, зависит от типа путевых рельсов.
Крепёжный узел, расположенный в верхней части кронштейна, обладает достаточной прочностью и обеспечивает надёжную изоляцию контактного рельса от кронштейна при помощи фарфоровых изоляторов и полиэтиленовых прокладок.
Стыки
Существуют два типа соединения контактных рельсов друг с другом: сварные стыки и температурные стыки.
Сварные стыки получают при помощи сварки рельсов контактно-сварочной машиной. После сварки стыки обрабатывают в соответствии с профилем поперечного сечения контактного рельса.
Температурные стыки получают путём соединения концов рельсов накладками, которые стягивают болтами. На тоннельных участках пути температурные стыки делают примерно через каждые 100 м (в стыках сварных плетей), на наземных участках — через 37,5 м (также в стыках сварных плетей), а на парковых путях — примерно через 37,5 м (не реже, чем через два стыка путевых рельсов). Зазор в температурных стыках зависит от длины плетей и температуры. Основным требованием к такому типу стыков является возможность относительно свободного перемещения концов рельсов в стыке при изменении температуры. Данное требование достигается за счёт наличия в рельсах и накладках овальных отверстий, а также за счёт малой затяжки болтов на одном из стыкуемых рельсов.
Для того, чтобы увеличить электропроводимость стыка, сверху приваривают четыре электросоединителя. Их конструкция не отличается от привариваемых электросоединителей стыков путевых рельсов.
Концевые отводы

Концевые отводы предназначены для плавного захода контактного башмака под контактный рельс и плавного схода с него в местах разрыва. Рабочая поверхность концевого отвода на некотором расстоянии от стыка сохраняет свою высоту относительно головок путевых рельсов, а затем постепенно повышается до конца отвода с определённым уклоном.
Подвеска концевых отводов осуществляется при помощи кронштейнов, которыми подвешивается контактный рельс. Отводы присоединяются к контактному рельсу при помощи обычных стыков без зазоров.
Разрывы в контактном рельсе
Разрывы устраивают в следующих случаях:
- для разделения на изолированные секции; в этом случае разрыв должен быть больше, чем расстояние между токоприёмниками одного вагона
- в местах расположения стрелок; чтобы избежать перерыва в электропитании, в месте расположения стрелки ставят отрезок контактного рельса с другой стороны пути
- на переездах (на наземных линиях)
Защитный короб

Из-за того, что контактный рельс представляет повышенную опасность для человека при прикосновении к нему, так как он находится под высоким напряжением, для обеспечения безопасности людей применяют специальные защитные короба. Короба устанавливаются на контактный рельс по всей его длине и закрывают его сверху и с боков, а в местах переходов через контактный рельс (например, сходные мостики в торцах станций) поверх короба устанавливаются диэлектрические резиновые полосы или коврики.
Проведение ремонтных работ на контактном рельсе или в непосредственной близости от него возможно и разрешено инструкциями только при снятом с него напряжении и включении короткозамыкателей или установке закоротки, которые предохранят людей от поражения электрическим током при случайной подаче напряжения на контактный рельс.
В других странах
Верхний токосъём
Малой родиной контактного рельса является Чикагский метрополитен. В нём по прежнему контактный рельс является оголённым с верхним токосъёмом, аналогично рельс устроен и в Токио.
Чикагский метрополитен
Нижний токосъём
Брюссельский метрополитен, на фото в правом нижнем углу видны два рельса с защитными коробами
Законцовка контактного рельса в Мюнхенском метрополитене
См. также
Примечания
Литература
- Бакулин А. С., Кудринская К. И., Мосин Е. Т., Кун П. А., Пронин В. А., Федоров Е. А. Путевое хозяйство // Сооружения, устройства и подвижной состав метрополитена. — М.: Транспорт, 1979. — С. 91—95. — 239 с. — 7000 экз.
- Контактный рельс // Железнодорожный транспорт: Энциклопедия / Гл. ред. Н. С. Конарев. — М.: Большая российская энциклопедия, 1994. — С. 196. — ISBN 5-85270-115-7.