Коклюшка
Коклю́шка — деревянная, как правило, катушка с ручкой, на которую наматываются нитки для плетения кружева.


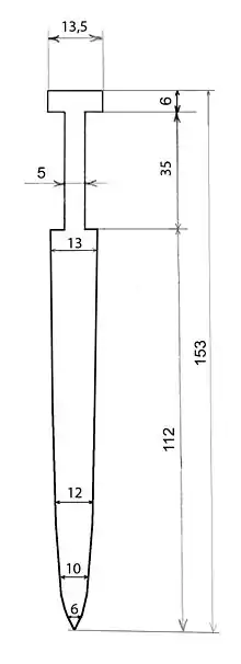
Верхняя утолщённая часть коклюшки называется головкой коклюшки, затем идёт шейка-катушка, далее ручка.
Плетение на коклюшках также называют «подушечным кружевом».
Конфигурация
Коклюшки могут быть изготовлены из дерева, пластмасс, слоновой кости. Деревянные коклюшки чаще всего делаются из берёзы[1], также из клёна и яблони — гладкие, твёрдые, прочные и устойчивые к образованию заусенцев. Могут также использоваться дуб, бук, ясень, рябина и древесина некоторых других пород, обладающая достаточной плотностью, твёрдостью и с хорошей обрабатываемостью на токарных станках. Допустимо изготавливать коклюшки и из некоторых мягких пород дерева, например ели, липы, ольхи, черёмухи, можжевельника (вереса).
Размер, форма и вес коклюшек зависят от техники плетения, используемых нитей, а также индивидуальных предпочтений кружевницы.
Популярные размеры коклюшек:
- общая длина — 140—170 мм
- длина шейки — 35-40 мм
- диаметр шейки — 5-6 мм
- диаметр ручки — 11-13 мм
- диаметр головки — 12-14 мм
Инструменты для плетения
.jpg.webp)
Подставка (станок), подушка (валик), рисунок кружевного узора (сколок), коклюшки и булавки.
Материалом для работы являются хлопчатобумажные, шёлковые, льняные, шерстяные и капроновые нитки.
Коклюшки в русском фольклоре
- Языком плетёт, что коклюшками.
- Кутуз да коклюшки — балахонские игрушки!
- Коклюшки — шутки, балясы, сплетни.
- Перебирать коклюшки — болтать вздор.
- Подпустить коклюшку — придумать хитрость, обман.
- Коклюшки плесть — говорить намёками, обиняками[2].
Примечания
Литература
- Белозерова И. Е. Возрождение техники плетения подольского кружева. — М., 2014, — 104 с.
- Белозерова И. Е., Костромова Л. Н. Времена года в кружеве. — М., 2014, — 134 с.