Аргентометрия
Аргентометрия — титриметрический метод количественного анализа анионов, образующих малорастворимые соединения или устойчивые комплексы с катионами серебра[1]. Методы аргентометрии, главным образом, применяют для определения галогенидов, например, хлорида[2]:
Методы аргентометрии
Существует несколько различных методов аргентометрии, отличающиеся используемыми индикаторами (или их отсутствием) в процессе анализа[2]:
- метод равного помутнения (без индикатора);
- метод Мора (индикатор — хромат калия);
- метод Фольгарда (индикатор — тиоцианатные комплексы железа (III));
- метод Фаянса (адсорбционные индикаторы).
Наиболее широко в промышленности используется метод Фольгарда, с помощью которого проводят анализ на содержание галогенидов, арсенатов, оксалатов и других анионов, образующих малорастворимые соединения с катионами серебра, в кислой среде. Метод Мора применяется менее часто, анализируя вещества только в нейтральной среде[2][3].
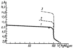
Кривые титрования
.png.webp)
Кривые титрования строятся в координатах р Ag — V, где р Ag — логарифм концентрации катионов серебра, взятый с обратным знаком, а V — это объем титранта. В качестве рабочего раствора, как правило, выступают нитрат серебра(I), тиоцианат калия и раствор хлорида натрия.
Примечания
- Кнунянц И.Л. Химическая энциклопедия. — М.: Советская энциклопедия, 1988. — Т. 1. — С. 193. — 623 с.
- Васильев В.П. Аналитическая химия. — М.: Высшая школа, 1989. — Т. 1. — С. 256—260. — 320 с. — ISBN 5-06-000066-4.
- Шапиро С.А., Шапиро М.А. Аналитическая химия. — М.: Высшая школа, 1979. — С. 315—321. — 384 с.
Литература
- Пискарева С.К. и др. Аналитическая химия. — М.: Высшая школа, 1994. — С. 324—325. — 384 с. — ISBN 5-06-002179-3.
- Блументаль Г. и др. Анорганикум. — М.: Мир, 1984. — Т. 2. — С. 208—222. — 632 с.