Авиационные бомбы (Россия)
Авиационные бомбы (Россия) — авиационные бомбы, созданные и/или состоящие/состоявшие на вооружении (фактически и/или формально) в Российской Империи, Российской Республике, РСФСР, СССР или Российской Федерации.
Расшифровка названия
Название бомбы состоит из типа бомбы (ФАБ-250М-46), её калибра в килограммах (ФАБ-250М-46), модели по году принятия на вооружение (ФАБ-250М-46 — модель 1946 года) и дополнительно (не всегда) указания её массы — если она существенно отличается от калибра (ОФАБ-250-270, ФАБ-1500-2600ТС) и/или конструктивной особенности бомбы либо технологии её производства (ФАБ-500Т — термостойкая, ФАБ-1500-2600ТС — толстостенная, ФАБ-100сч — сталистый чугун, ФАБ-1000сл — стальное литьё), либо коммерческого назначения (КАБ-500С-Э — экспортная).
Типы бомб
|
Основного назначения
|
Вспомогательные и специальные
|

Модели и типы бомб
Межтиповые виды бомб
Межтиповые виды бомб — типы бомб, особенности которых могут иметь все виды бомб.
- Штурмовые (Индекс Ш) — бомбы, имеющие раскрываемый тормозной парашют, который обеспечивает маловысотное (штурмовое) бомбометание, без риска повредить свой самолёт осколками (как при применении обычных бомб с мгновенным взрывателем) и исключает возможность рикошета (как при применении обычных бомб с взрывателем с штурмовым (10-240 с) замедлением) обеспечивая высокую точность бомбометания. Также обеспечивается бо́льший разлёт осколков для ФАБ и ОФАБ, так как бомба падает с больши́м углом[1]. Штурмовые бомбы могут иметь встроенное или приставное исполнение[1].
- Термостойкие (Индекс Т) — Бомбы, имеющие теплозащитную конструкцию или теплозащитную оболочку, предназначены для подвески на высотные сверхзвуковые перехватчики, типа МиГ-25 и МиГ-31.
Детонатор Взрывчатое вещество Корпус
Фугасные
Фугасные авиабомбы (ФАБ) — авиабомбы, основным поражающим действием которых является действие фугаса. Они обладают наиболее мощным и универсальным поражающим действием среди авиабомб основного назначения[1]. Масса ВВ в бомбе примерно составляет 50 %, также бомба имеет сравнительно прочный корпус для проникновения в грунт или в препятствия типа межэтажных перекрытий зданий и сооружений[1].
Основные поражающие действия
- Газообразные продукты взрыва имеющие большое избыточное давление
- Ударные волны в воздухе или грунте и сейсмические волны
- Осколки при дроблении корпуса бомбы
Основные цели
- Объекты тыла и коммуникаций
- Военно-промышленные и энергетические объекты
- Боевая техника
- Живая сила
Современные ФАБ общего назначения имеют массу 250 кг и более. Они могут иметь несколько форм исполнения[1]:
- Тупоконечная — предназначены для наиболее эффективного размещения внутри фюзеляжа. Обеспечивается сброс на около- и дозвуковых скоростях и высоте до 15-16 км[1].
- Большого удлинения — имею обтекаемую головную часть, предназначены в основном для самолётов с наружной подвеской в том числе и сверхзвуковых. Имеют меньшее лобовое сопротивление и более устойчивы[1].
- Толстостенные (индекс ТС) — Предназначены для действий по особо прочным целям (ж/б складов вооружения, стоянок техники, ВПП, плотин). Они отличаются более массивной и прочной головной частью, большой толщиной корпуса, и отсутствием головного очка под взрыватель и запального стакана[1].
| Фугасные | |||||||||||||
|---|---|---|---|---|---|---|---|---|---|---|---|---|---|
| Аббревиатура | Изображение | Диаметр (мм) | Длина (мм) | Масса бомбы (кг) | Масса ВВ (кг) | Примечания | |||||||
| ФАБ-50ЦК | 219 | 936 | 60 | 25 | Цельнокованная | ||||||||
| ФАБ-100 | 267 | 964 | 100 | 70 (вместе с БЧ) | |||||||||
| ФАБ-250 | 285 | 1589 | 250 | 99 | |||||||||
| ФАБ-250-М54 | 325 | 1795 | 268 | 97 | [2] | ||||||||
| ФАБ-250-М62 | 300 | 1924 | 227 | 100 | [2] | ||||||||
| ФАБ-250ТС | 300 | 1500 | 256 | 61,4 | [2]Толстостенная, Бронепробиваемость 1 м | ||||||||
| ФАБ-250ШЛ | 325 | 1965 | 266 | 137 (ТЭ) | Штурмовая, надповерхностный взрыв | ||||||||
| ФАБ-500 | 392 | 2142 | 500 | 213 | |||||||||
| ФАБ-500Т | 400 | 2425 | 477 | 191 | [2]Термостойкая | ||||||||
| ФАБ-500-M54 | ![]() |
450 | 1790 | 528 | 201 | [2] | |||||||
| ФАБ-500-M62 | 400 | 2425 | 500 | 200 | [2] | ||||||||
| ФАБ-500ШН | 450 | 2190 | 513 | 221 | [2]Штурмовая маловысотная | ||||||||
| ФАБ-500ШЛ | 450 | 2220 | 515 | 221 | [2]Штурмовая, надповерхностный взрыв | ||||||||
| ФАБ-1000 | - | - | - | - | |||||||||
| ФАБ-1500 | 580 | 3000 | 1400 | 1200 (вместе с БЧ) | |||||||||
| ФАБ-1500Т | ![]() |
- | - | 1488 | 870 ТЭ | [3]Термостойкая | |||||||
| ФАБ-1500-2500ТС | ![]() |
- | - | 2151 | 436 ТЭ | [3] Толстостенная, бронепробиваемость 2500 мм | |||||||
| ФАБ-1500-М54 | ![]() |
- | - | 1550 | 675,6 | [3] | |||||||
| ФАБ-2000 | - | - | - | - | |||||||||
| ФАБ-3000 | - | - | 3067 | 1387 (ТЭ) | |||||||||
| ФАБ-3000-М46 | - | - | 3000 | 1400 | |||||||||
| ФАБ-3000-М54 | ![]() |
- | - | 3067 | 1200 (ТЭ) | [3] | |||||||
| ФАБ-5000 | ![]() |
642 | 3107 | 4900 | 2207 | ||||||||
| ФАБ-5000-М54 | ![]() |
- | - | 5247 | 2210,6 (ТЭ) | [3] | |||||||
| ФАБ-9000-М54 | ![]() |
1200 | 5050 | 9407 | 4297 (ТЭ) | [3] | |||||||

Осколочно-фугасные
ОФАБ — осколочно-фугасная авиационная бомба представляет собой обычную фугасную бомбу, но с меньшим наполнением ВВ около 30-35 %, и специальными средствами организованного дробления корпуса как пилообразная внутренняя сторона корпуса или система продольных и поперечных выточек (хотя на устаревших образцах их могло и не быть)[1].
Основные цели
- Объекты боевой техники и вооружения
- Военно-промышленные объекты
- Живая сила
| Осколочно-фугасные | |||||||||||||
|---|---|---|---|---|---|---|---|---|---|---|---|---|---|
| Аббревиатура | Изображение | Диаметр (мм) | Длина (мм) | Масса бомбы (кг) | Масса ВВ (кг) | Примечания | |||||||
| ОФАБ-100-120 | 273 | 1300 | 133 | 42 | [2] | ||||||||
| ОФАБ-250Т | 300 | 2050 | 239 | 92 | [2]Термостойкая | ||||||||
| ОФАБ-250ШЛ | 325 | 1991 | 266 | 92 | [2]Штурмовая, надповерхностный взрыв | ||||||||
| ОФАБ-250-270 | 325 | 1456 | 266 | 97 | [2] | ||||||||
| ОФАБ-250ШН | 325 | 1966 | 268 | 93 | [2]Штурмовая маловысотная | ||||||||
| ОФАБ-500У | 400 | 2300 | 515 | 159 | [2]Универсальная | ||||||||
| ОФАБ-500ШР | 450 | 2500 | 509 | 125 | [2]Штурмовая, с разделяющимися БЧ | ||||||||
Бетонобойные и противолодочные
контейнер с парашютом
БетАБ — бетонобойная авиабомба. Предназначены для эффективного поражения железобетонных укрытий и ВПП. Конструктивно делятся на два вида:
- Свободного падения — предназначены для бомбометания с больши́х высот. Конструктивно близки к толстостенным фугасным бомбам.
- С парашютом и реактивным ускорителем — предназначены для бомбометания с любых (в том числе и малых) высот. Бомба за счёт парашюта наклоняется до 60°, парашют отстёгивается и включается ракетный ускоритель[1].
ПЛАБ — противолодочная авиабомба. Предназначена для поражения подводных лодок. Могут иметь разное исполнение. Бомбы большого калибра обычно имеют бесконтактный (гидроакустический, барометрический, дистанционный или чаще комбинированный) взрыватель, и поражают цель фугасным действием (гидродинамическим ударом) на расстоянии. Для них хорошо подходит ядерный заряд малой мощности (как пример, отечественная ПЛАБ 5Ф48 «Скальп»).
Бомбы малого калибра обычно используются в составе кассет и имеют контактный взрыватель и кумулятивное исполнение бомбы[1].
| Бетонобойные и противолодочные | |||||||||||||
|---|---|---|---|---|---|---|---|---|---|---|---|---|---|
| Аббревиатура | Изображение | Диаметр (мм) | Длина (мм) | Масса бомбы (кг) | Масса ВВ (кг) | Примечания | |||||||
| БетАБ-500 | 350 | 2200 | 477 | 76 | [2] | ||||||||
| БетАБ-500ШП | 325 | 2500 | 380 | 77 | [2]Штурмовая, с реактивным ускорителем | ||||||||
| БетАБ-500У | 450 | 2480 | 510 | 45 ТЭ | [4] | ||||||||
| ПЛАБ-250-120 | 240 | 1500 | 123 | 61 | [2] | ||||||||
Зажигательные и объёмно-детонирующие
контейнер с парашютом
ЗАБ — Зажигательная авиационная бомба. Предназначена для поражения огнём живой силы и боевой техники. Масса зажигательных бомб не превышает 500 кг. Конструктивно зажигательные бомбы делятся на 2 типа[1]:
- С пиротехническим зажигательным составом — используется во всех бомбах меньше 100 кг, и в некоторых с калибром более 100. Пиротехническим составом как правило является термит со связующим веществом. Корпус обычно состоит из горючего металла электрон (сплав алюминия с магнием)[1].
- С вязкой огнесмесью — применяются для бомб калибром от 100 до 500 кг. Огнесмесью является органические горючие вещества, загущённые до вязкого состояния специальными веществами (каучук, жидкое стекло, полистирол). Огнесмесь в загущённом состоянии дробится при взрыве на крупные куски, которые несколько минут горят при температуре около 1000 °С. Также в конструкцию бомбы входит патрон с фосфором и небольшой заряд ВВ, после детонации, фосфор на воздухе самовоспламеняется и поджигает огнесмесь.[1]
- ФЗАБ — фугасно-зажигательная авиационная бомба. Представляют собой комбинацию ФАБ и ЗАБ в одном корпусе. При срабатывании бомбы сначала детонирует зажигательная, а потом фугасная часть[1].
- ЗБ — зажигательный бак. Представляют собой ЗАБ в тонкостенном корпусе без стабилизатора и без разрывного заряда ВВ. Разброс и дробление осуществляется посредством гидроудара, возникающего при ударе о преграду. Могут эффективно применяться только с малых высот[1].
ОДАБ — объёмно-детонирующая авиабомба. Обеспечивает бо́льшую эффективность по живой силе и легкоуязвимой технике (в том числе в открытых укрытиях), чем ФАБ. При встрече с препятствием срабатывает диспергирующий заряд, разрушается корпус, дробится и разбрасывается горючее. Горючее испаряется и, смешиваясь с воздухом, образует облако топливовоздушной смеси. Через время необходимое для образования облака достаточного размера, вторичный детонирующий заряд ВВ подрывает топливовоздушную смесь[1].
| Зажигательные и объёмно-детонирующие | |||||||||||||
|---|---|---|---|---|---|---|---|---|---|---|---|---|---|
| Аббревиатура | Изображение | Диаметр (мм) | Длина (мм) | Масса бомбы (кг) | Масса ВВ (кг) | Примечания | |||||||
| ЗАБ-100-105 | 273 | 1065 | 106,9 | 28,5 | [2] | ||||||||
| ЗАБ-250-200 | 325 | 1500 | 202 | 60 | [2] | ||||||||
| ЗБ-500ШМ | 500 | 2500 | 317 | 260 | [2] | ||||||||
| ЗБ-500ГД | 500 | 2500 | 270-340 (в зависимости от типа огнесмеси) | 218-290 | [2] | ||||||||
| ФЗАБ-500М | 400 | 2500 | 500 | 86+49 (ВВ+огнесмесь) | [2] | ||||||||
| ОФЗАБ-500 | 450 | 2500 | 500 | 250 | [2] | ||||||||
| ОДАБ-500ПМ | 500 | 2280 | 520 | 193 | [2] | ||||||||
| АВБПМ | ![]() |
- | - | 7100 (44000 кг ТЭ) | [5] | ||||||||
Кассетные
РБК — разовые бомбовые кассеты. Представляют собой тонкостенные авиабомбы, предназначены для применения авиабомб малого калибра (до 20 кг.). Название состоит из сокращенного наименования и типа снаряжения. Некоторые РБК имеют в комплекте съёмный обтекатель позволяющий эффективно устанавливать РБК на самолёты как с внешней подвеской так и с внутренним отсеком вооружения. РБК по способу разбрасывания боевых элементов делятся на два вида[1]:
- обтюраторного типа — имеют в своей конструкции жёстко закреплённый обтюраторный диск, который после срабатывания дистанционного взрывателя и воспламенения им вышибного заряда под действием пороховых газов отделяется от стакана и перемещается внутри корпуса бомбы вместе с центральной трубой вокруг которой размещаются мелкие авиабомбы. Отделяется хвостовой конус, и боевые элементы выходят за пределы кассеты[1].
- с центральным воспламенительно-разрывным зарядом (ВРЗ) — в конструкции бомбы есть центральная перфорированная труба с ВРЗ и боковое ослабленное сечение, закрытое планкой. При срабатывании взрывателя, инициируется ВРЗ. Образовавшиеся газы разрушают корпус бомбы по сечению и разбрасывают авиабомбы, при этом достигается больша́я площадь рассевания авиабомб[1].
КМГУ — контейнер малогабаритных грузов универсальный. Предназначен для транспортировки и сброса БКФ (блоков контейнерных фронтовых) с суббоеприпасами. Сам же КМГУ во время боевого применения находится на узле подвески вооружения летательного аппарата и не сбрасывается (хотя в аварийной ситуации может быть принудительно сброшен). Конструктивно КМГУ представляет собой обтекаемый корпус с управляемыми створками, отсеками для подвески БКФ и автоматикой позволяющий регулировать интервал сброса блоков[3][6].
Суббоеприпасы бомбовых кассет
В качестве суббоеприпасов (боевых элементов) кассетных бомб применяются бомбы сравнительно небольшого калибра. Из-за специфики их применения, кроме вышеописанных типов бомб имеются также специализированные бомбы, в настоящее время применяемые в основном только в бомбовых кассетах и КМГУ[1].
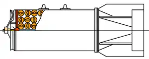
ОАБ (АО, ШОАБ) — осколочная авиационная бомба (авиационная осколочная, шариковая осколочная авиационная бомба). Авиабомбы основным действием которых является осколки корпуса. Калибр бомб колеблется от 0,5 до 50 кг. Они предназначены для поражения живой силы, не- и легкобронированной техники. Старые авиабомбы имеют цилиндрический корпус с жестким стабилизатором обеспечивают нерегулярное дробление, современные бомбы имеют сферическую или полусферическую конструкцию, складывающийся стабилизатор, аэродинамические устройства (приливы или лопатки), насечки для организованного дробления корпуса или уже готовые поражающие элементы.
- Бомбы с готовыми осколками изготавливаются из двух полусфер, армированных стальными шариками. Внутри корпуса имеется разрывной заряд и контактный взрыватель.
- Бомбы с насечками кроме того имеют взрыватель с замедлением. При встрече с преградой такая бомба разделяется на две части и через время, необходимое для поднятие на несколько метров, подрывается[1].
ПТАБ — противотанковая авиационная бомба. Предназначены для поражения бронированных объектов. Поражающим действием является кумулятивная струя, образующаяся при помощи кумулятивной выемки внутри корпуса бомбы. Также при подрыве корпус бомбы образует осколки, которые могут поразить живую силу и небронированную технику. Для эффективного воздействия кумулятивной струи взрыв должен происходить на расстоянии, называемом фокусным. Старые образцы бомб имеют контактный головной или донный взрыватель. Современные бомбы имеют встроенное взрывательное устройство с датчиком цели[1].
Корпус Заряд ВВ Взрыватель Стальные шарики Стабилизатор Прилив
Корпус Заряд ВВ Взрыватель (вариант с головным взрывателем) Датчик цели (вариант со встроенным взрывательным устройством) Предохранительно-исполнительный механизм
| Кассетные | |||||||||||||
|---|---|---|---|---|---|---|---|---|---|---|---|---|---|
| Аббревиатура | Изображение | Тип БЧ | Диаметр (мм) | Длина (мм) | Масса бомбы (кг) | Количество элементов | Масса одного элемента (кг) | Примечания | |||||
| РБК-500У ОФАБ-50УД | осколочно-фугасная | 450 | 2500 | 520 | 10 | 50 | Универсальная[2] | ||||||
| РБК-500 АО-2,5РТМ | осколочная | 450 | 2500 | 504 | 108 | 2,5 | [2] | ||||||
| РБК-500 ОАБ-2,5РТМ | осколочная | 450 | 2500 | 500 | 126 | 2,5 | [2] | ||||||
| РБК-500 БетАБ | бетонобойная | 450 | 2500 | 525 | 12 | - | [2] | ||||||
| РБК-500У БетАБ-М | бетонобойная | 450 | 2495 | 480 | 10 | - | Универсальная[2] | ||||||
| РБК-500 ПТАБ-1М | противотанковая, кумулятивная | 450 | 1954 | 427 | 268 (бронепробиваемость не менее 200 мм) | - | [2] | ||||||
| РБК-500У ПТАБ | противотанковая, кумулятивная | 450 | 2500 | 520 | 352 (бронепробиваемость не менее 200 мм) | - | Универсальная[2] | ||||||
| РБК-500У СПБЭ-Д | самоприцеливающийся противотанковая | 450 | 2485 | 500 | 15 | - | Универсальная[2] | ||||||
| РБК-250 ЗАБ-2,5М | зажигательная | 325 | 1492 | 195 | 48 | 2,5 | [2] | ||||||
| РБК-500 ЗАБ-2,5СМ | зажигательная | 450 | 1954 | 480 | 297 | 2,5 | [2] | ||||||
| РБК-100 ПЛАБ-10К | противолодочная | 240 | 1585 | 125 | 6 | 10 | [2] | ||||||
- Галерея





Авиационная бомба ФАБ-250. Такие же бомбы падали на Берлин в 1941 г.
Кумулятивно-осколочный суббоеприпас ПТАБ-2,5КО.
Боевое применение
В 2015 году ВКС РФ применили в Сирии: РБК-500 с СПБЭ[7], Бетаб-500, КАБ-500, КАБ-500кр, Каб-500С, ФАБ-500Ш, ФАБ-500М54, ФАБ-500М62, ОФАБ 250-270Т, ОФАБ-500ШР, КАБ-1500Л, ОФЗАБ-500, ОДАБ-500ПМ, РБК-500 ЗАБ-2,5СМ .
Примечания
- Миропольский Ф. П., Кузнецов В. В., Саркисян Р. С., Галушко Б. И., Моисеев А. Г., Сапков В. В., Вишняков О. Л. Авиационные средства поражения / Под ред. Ф. П. Миропольского. — М.: Воениздат, 1995. — 255 с.
- БАЗАЛЬТ. Авиабомбы, разовые бомбовые кассеты, ручные гранаты и гранатомёты, миномётные выстрелы. Фирменная брошюра
- Оружие и технологии России. Энциклопедия XXI век Том 10 — «Авиационное вооружение и авионика»
- БЕТАБ-500У
- Самая мощная в мире вакуумная бомба: российские испытания — Первый канал
- КМГУ.
- Использование бомбовой кассеты РБК-500 СПБЭ-Д в Сирии на YouTube (видео)








